时间:2020-03-02 15:54
人气:
作者:admin
国际即时新闻(原文:英文)
Wearable Technology Is Changing Lives
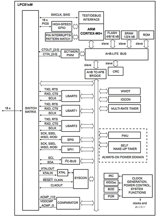
The wrist is in great demand, as are many other parts of the body. Even the clothes we wear are becoming part of the next big thing; technology is going (even more) mobile as the concept of wearable technology takes hold. As an emerging sector, it is dependent on a number of technologies but none more so than integrated electronics. Fortunately for developers, embedded electronics is arguably also the most mature aspect of wearable technology, and as such offers many opportunities for OEMs to help shape this new phenomenon. Wearable technology is expected to include electronics, fabrics, biologics, biochemicals and renewable energy in a way that has never been seen before. It provides an opportunity for immeasurable innovation in a market that will likely be in a state of flux for many decades, as it augments and merges with other aspects of modern life. We are already taking the first tentative steps on a journey that could change modern life forever. Key attributes The humble fob watch appeared during the 16th century and remained largely unchanged until the First World War, when it was moved to the wrist predominantly for convenience. This could be considered the first ever example of ‘wearable technology’ and it has endured for an entire century as, fundamentally, a method for keeping time. Of course, since the introduction of integrated electronics the functionality of the watch has changed immensely and so it is logical that it would be the target for some of the first modern examples of wearable devices. Market analyst IHS Electronics & Media defines this class of device as being worn for extended periods of time, with the user experience being significantly enhanced as a result, while having advanced circuitry, wireless connectivity and independent processing capability. It further defines the categories for wearable technology as being: Fitness and Wellness; Healthcare and Medical; Industrial; Military; and Infotainment. Predominantly, these five categories comprise various forms of the acquisition, processing and displaying of data, which reiterates the need for local processing capability. Of course, at a more technical level, other key attributes of any device intended to be worn for extended periods during various levels of activity will be size and power; in both cases, the smaller the better. These are requirements that Integrated Device Manufacturers have observed for many years, furthered by Moore’s Law and developments in fabrication and packaging technologies. The challenge now is to combine advanced semiconductor technology with emerging ‘smart’ solutions in fabrics, sensors and energy. Every aspect of wearable technology will rely on the combination of the most optimal point-solutions; luckily there are already a number of microcontrollers available in volumes that effectively target this exciting new sector. Leading solutions Following the introduction of the Cortex-M0+ core by ARM with lead-partner Freescale Semiconductor, a number of IDMs have adopted the core for their ultra-low-power product offerings. The Cortex-M0+ offers a combination of features and low-power operation that perfectly matches a number of applications, and when delivered in the latest space-saving packages it represents a capable solution for wearable technology. The Kinetis KL02 from Freescale Semiconductor, for example, is available in a 20-pin WLCSP (wafer level, chip-scale packaging) option that measures less than 2 mm on each side and less than 0.6 mm high. Apart from being the smallest ARM-powered MCU available in volume, the KL02 features nine low-power modes and every device has a unique 80-bit identification number. Unique features help differentiate devices based on a common processor core such as the Cortex-M0+; illustrating this point, the LPC81XM family from NXP Semiconductor features a Pin Interrupt/Pattern Match Engine (Figure 1) that allows levels present on defined I/O to be assessed using predefined Boolean expressions to generate an interrupt. This could be useful in applications where the processor is required to spend extended periods in a deep-sleep mode, in order to preserve battery power.

Figure 1: NXP’s LPC81 family features the Pattern Match Engine to reduce CPU activity. The Zero Gecko family from Silicon Labs integrates a similar but more sophisticated feature with its Peripheral Reflex System; peripherals are able to communicate with each other while the core remains in a low-power sleep mode. The Gecko devices also employ Low Energy Sensor Interface (LESENSE) technology developed to allow the devices to control up to sixteen analog sensors without CPU intervention (Figure 2). It works in the 900 nA deep-sleep mode and can interface to capacitive, inductive and resistive sensors. This could be particularly relevant in wearable technology developed for health monitoring or home care, where sensors will be used to monitor physical conditions over long periods of time.
Figure 2: The LESENSE interface in the Gecko Devices from Silicon Labs enable peripherals to interact with analogue peripherals without using the CPU. As an emerging market, the word ‘typical’ can’t be applied to any wearable technology, however, as it is predominantly intended to be active only when worn, it would be reasonable to expect any device to spend a significant amount of time inactive. However, as any user will appreciate, when a device is needed it is always needed ‘immediately’, so time spent recharging depleted batteries is never welcome. For this reason, ultra-low-power modes will be crucial to ensure the device is always ready to go, and while the Cortex-M0+ core is designed to be low power, it is often down to the IDMs using it to implement the overall low-power strategy. To this end, the STM32L0 series from STMicroelectronics provides a Standby mode that consumes just 0.27 μA when the Real Time Clock is switched off (if the RTC remains on, the power rises to 0.65 μA at 1.8 V). The device takes just 60 μS to wake from Standby mode, although only data held in the Standby registers is retained. Although only offering two low-power modes, the Cortex-M0+-based ATSAMD20 family from Atmel also implements an intelligent peripheral approach to minimize core activity. The Event System allows peripherals to directly send and receive signals (events) that can be acted upon without waking the core. It operates in both asynchronous and synchronous modes and the Event System provides eight configurable channels comprising up to fifty-nine event ‘generators’ and fourteen event ‘users’ (Figure 3)
.
Figure 3: Atmel’s Event System technology allows the ATSAMD20 to maintain low-power operation. Energy harvesting One element of wearable technology that has yet to be comprehensively addressed is providing the (admittedly small) energy the devices will require. Batteries remain the primary solution, but they are relatively large, so it will inevitably become necessary or desirable to power smaller devices with sustainable sources. Here, the concept of energy harvesting is gaining ground rapidly. Wearable technology is evolving quickly and analysts predict rapid growth with huge potential for innovation. As a result, it is likely to change the way we live forever.
[译]可穿戴技术改变生活
手腕的需求量很大,因为是身体的其他许多地方。即使我们穿正成为下一个大的事情的一部分衣服;技术是怎么回事(甚至更多)作为移动可穿戴技术的概念扎根。作为一个新兴的行业,它依赖于一些技术,但莫过于集成电子元件。幸运的是开发商,嵌入式电子可以说是也可穿戴技术最成熟的方面,因此提供了许多机会为原始设备制造商,以帮助形成这种新现象。可穿戴技术预计将包括电子产品,纺织品,生物,生物化学品和可再生能源在以前从来没有见过的方式。它提供了不可估量的创新在市场上的机会,很可能会处于不稳定状态,几十年来,因为它增强和融合了现代生活的其他方面。我们已经采取的旅程,可能永远改变现代生活的第一个试探性步骤。关键属性不起眼的FOB手表出现在16世纪和基本保持不变,直到第一次世界大战,当时它被转移到手腕主要是为了方便。这可以被认为是“可穿戴技术”有史以来第一次的例子,它已经持续了整个世纪,从根本上,为保持时间的方法。
当然,自推出集成电子手表的功能发生了变化巨大,所以它是合乎逻辑的,这将是目标的一些可穿戴设备的第一个现代的例子。市场分析员IHS与电子媒体这类装置的定义为被磨损延长的时间周期,与用户体验被显著增强,结果,虽然具有先进的电路,无线连接和独立处理能力。它进一步定义了类别可穿戴技术作为是:健身与健康;医疗保健和医疗;工业;军事;和信息娱乐系统。主要是,这五大类包括各种形式的采集,处理和显示数据,其中重申,需要对本地处理能力。当然,在一个更技术层面上,也可以在各种级别的活动将尺寸和功率的佩戴长时间旨在任何设备的其他关键属性;在这两种情况下,越小越好。这些要求是集成设备制造商已经观察了很多年,摩尔定律的进一步推动和发展制造和封装技术。现在的挑战是,以先进的半导体技术与新兴的“智能”面料,传感器和能源解决方案相结合。可穿戴技术的各个方面将依靠最优化的点解决方案的组合;幸运的是,已经有一些在卷可微控制器,有效地瞄准这一令人兴奋的新部门。
领先的解决方案继推出了Cortex-M0 +内核的ARM所用铅的合作伙伴飞思卡尔半导体,许多IDM厂商都采用了核心的超低功耗的产品供应。在Cortex-M0 +提供的功能和低功耗运行的组合,完美匹配的一些应用程序,而当在最新的节省空间的封装交付它代表着可穿戴技术有能力的解决方案。该的Kinetis KL02飞思卡尔半导体,例如,在一个20引脚WLCSP(晶圆级芯片尺寸封装)选项测量小于2毫米,每边和小于0.6毫米高可用。除了是最小的ARM供电MCU批量上市,该KL02具有9个低功耗模式,每个设备都有一个唯一的80位识别码。独特的功能,帮助区分基于一个共同的处理器核心设备,如在Cortex-M0 +;说明这一点上,LPC81XM家人从恩智浦半导体公司有引脚中断/模式匹配引擎(图1),使本上定义的I / O使用预定义的布尔表达式产生一个中断评估水平。这可能是在其中处理器需要花费长时间处于深睡眠模式,以节省电池电量的应用是有用的。
恩智浦LPC81系列图1图:恩智浦的LPC81系列采用模式匹配引擎,以减少CPU活动。零壁虎家族Silicon Labs的集成与周边反射系统类似但更复杂的功能;外设能够与彼此通信,而核心保持在低功率休眠模式。
壁虎器件还采用了开发,使设备控制多达十六个模拟传感器而无需CPU干预(图2)低能量传感器接口(LESENSE)技术。它工作在900 nA的深度睡眠模式,可以连接到电容,电感和电阻传感器。这可能是在对健康监测或家庭护理,其中,传感器将被用于监控在很长一段时间的物理条件开发的可佩戴的技术特别相关。
从Silicon Labs的图2中的壁虎设备LESENSE界面的图片:从Silicon Labs公司的壁虎设备LESENSE接口使外设与模拟外设交互,而无需使用CPU。作为一个新兴市场,单词“典型”不能然而,适用于任何可穿戴的技术,因为它是主要打算成为活性只有当穿戴时,这将是合理预期的任何设备花费显著量的时间不活动。然而,正如任何用户会明白,当需要一个设备,它总是需要“立即”,所以花费的时间充电耗尽的电池是不欢迎。出于这个原因,超低功耗模式将是至关重要的,以确保设备随时准备去,而在Cortex-M0 +内核的设计是低功耗,它往往是下跌的IDM厂商使用它来实现整体低功耗的策略。
为此,该STM32L0系列意法半导体提供了待机模式,当实时时钟被关闭,消耗只是0.27μA(如果RTC持续工作,电源上升到0.65μA在1.8 V)。该设备仅需60微秒从待机模式唤醒,虽然只在待机寄存器中的数据将被保留。虽然只提供了两个低功耗模式中,Cortex-M0 +的ATSAMD20家人从Atmel还实现了智能外设的方法,以减少核心活动。该事件系统可以让外设直接发送和接收信号(事件),可以依据执行不惊醒的核心。它工作在异步和同步模式和事件系统提供了包括多达59事件'发电机'十四事件“用户”(图3)八个可配置的通道。
Atmel的事件系统技术图3的图像:Atmel的事件系统技术允许ATSAMD20保持低功耗运行。能量收集要全面解决可穿戴技术的内容之一,目前尚未是提供(诚然小)能源设备将需要。电池仍是主要的解决方案,但它们是比较大的,所以它必然成为必要的或希望与动力源的可持续小型设备。在这里,能量采集的概念迅速抬头。可穿戴技术正在发展迅速,分析师预测有巨大的创新潜力快速增长。因此,它很可能会改变我们的生活永远的方式。
1TOPS算力+6nm工艺,功耗再降30%!BES6000即将