时间:2019-01-29 15:12
人气:
作者:admin
1月28日消息,目前,苹果的工程师正在考虑将手机触屏转变为混合现实,构建出良好的用户体验。近日,苹果正在申请手势控制专利,间接表明苹果公司对混合现实已做了考量。混合现实是一种可穿戴系统,该系统可以在真实环境中呈现虚拟场景,通过感知手指运动,就能控制混合现实空间中的数字内容。
2017年,苹果公司发布了ARKit框架,帮助开发人员构建了数千个增强现实应用,这些应用必须通过iPhone或iPad来体验,使用起来不便利。目前,混合现实领域中的领先设备可以让用户使用手势进行导航和控制。但跟踪所需的深度摄像头和传感器需要容纳空间,因此这类头戴设备并不小巧。
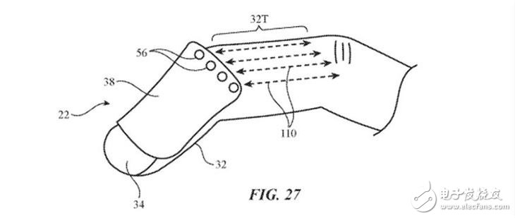
据悉,苹果此次申请的专利称为“含传感器和触觉反馈的指戴式设备”,是一种包含了多种传感器的指戴系统。每个手指上都配备了多种类型的传感器,光学传感器可以测量指尖的运动,加速度传感器计有助于测量手势。

指戴式设备让指尖保持裸露,指节上的传感器用于检测指尖“按压”或“滚动”等操作。指戴式设备可以通过内置的触觉反馈单元响应用户的触摸或手势。据专利称,指戴式设备可用于控制虚拟现实或增强现实系统,当用户在桌面上进行手指点击时,可以为用户提供在物理键盘上进行交互的感觉。

苹果公司的专利是否能进入市场,还需看苹果公司对专利的进一步发展,毕竟该公司的很多专利并未推向市场,但不难看出苹果正在考虑用户体验的下一个潮流。
1TOPS算力+6nm工艺,功耗再降30%!BES6000即将