时间:2016-12-23 10:44
人气:
作者:admin
据外媒报道,今日公开的一份专利申请暗示苹果未来的Apple Watch智能手表可能会更加清秀苗条,因为苹果在这份专利申请中描述了一种方法,可以将触觉电机从手表转移到表带中。手腕的触觉信号将由表带而不是手表来感知。

苹果特别指出,这项发明可以节省设备空间。它在专利申请文件中写道:“很多便携电子设备的尺寸规格不断缩小,而设备用途和功能却能保持不变甚至增加。例如,有些功能手机和数字音乐播放器都配备了一个精致小巧的外壳,里面安装着很多电子电路和元件,它们可以为用户提供大量的应用和功能。因此,在给便携式设备增加更多元件、电路和功能的时候,设备空间就成了大问题。”
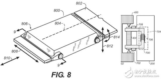
虽然苹果并没有明确指出这项专利会被应用到什么设备上,专利文件中所指的设备是“便携式电子设备”而不是智能手表,但是文件反复提到“表带”,而且专利文件中的附图也明显泄露了苹果的意图,这些信息都说明苹果是想将这项专利应用到Apple Watch上。
苹果在专利文件中写道:“这种系统包括一个表带、一个与表带相连的附件机制以及内嵌在附件机制中的一个或多个触觉设备。附件机制可以将表带与电子设备相连。另外,附件机制还可以将表带与佩带者相连。触觉设备或设备能够与处理设备进行通讯。在这个或多个触觉设备中,至少有一个设备能够根据处理设备接到的激活信号产生触觉反应。”
从手表传到表带的信号可以通过安装在表带上的凹槽内的连接器来传递。
虽然Apple Watch与其他智能手表和智能腕带相比并不是特别厚,但是当用户把它戴在手腕上时,看起来确实有点蠢笨。如果苹果可以给它“减减肥”,必然能够让它更受时尚人士的喜爱。
当然这种设计也有一个不足之处,那就是用户们可以选择的第三方表带会非常有限,而且还会提高表带的价格。
1TOPS算力+6nm工艺,功耗再降30%!BES6000即将