时间:2023-05-20 14:28
人气:
作者:admin
便携式医疗
什么是年轻人眼中的幸福生活?根据中国青年报的问卷调查,健康平安排在第一要素,获选率达到60.2%。而在应对老龄化社会挑战时,相关政策都把身体健康放在首位。在这个大背景下,便携式医疗设备出现巨大的需求缺口。中国医疗器械行业协会在相关点评文章中指出,未来几年中国便捷式医疗设备的年复合增长率将大大提升,市场呈现明显的蓝海属性。
实际上不仅是国内市场,便携式医疗设备在全球范围内都有巨大的商机。根据Data Bridge Market Research的分析报告,2022年全球便携式医疗和保健设备市场规模为645.8亿美元,预计到2030年将达到1,374.3亿美元,2023年-2030年期间的年复合增长率为9.9%。
让便携式医疗设备达到临床级
从功能用途来看,便携式医疗设备主要用于跟踪急性、康复和慢性病例中的患者生理状况,包括体温、心电、心率、血氧、心肺音、睡眠等,然后从设备端或者App端实时获取患者的健康数据。
从设备种类上看,当前便携式医疗设备的可选项已经非常丰富。传统临床使用的血糖仪(BGM)、连续血糖监测仪(CGM)、血压监测仪、脉搏血氧计、胰岛素泵、心脏监测系统、癫痫管理系统等都已经实现了便携式。此外疫情带动的家用呼吸机、家用制氧机、可穿戴健康设备等也属于这一范畴。
我们选取连续血糖监测仪(CGM)来进行具体的研究。下图是TI给出的一份CGM的方案框图,看起来器件非常多,实际上我们可以大致将其归纳为三个功能单元。
三个功能单元分别是:
信息采集单元
信息处理和传输单元
电池供电单元

图2:TI CGM框图(图源:TI)
那么,如果我们将不同单元内的器件再归类就可以得出:信息采集单元主要由传感器和数模转化器件组成;信息处理和传输单元主要由MCU、DSP、I/O、无线连接器件组成;电池供电单元则包括了各种电池和电源管理器件。因此,我们得到一张如下图所示的便携式医疗设备方框图。

图3:便携式医疗设备方框图(图源:贸泽电子)
当前,便携式医疗设备具备方便快捷、高精度、低功耗等显著特点,后续主要的发展趋势是更低功耗、小型化、更高信息安全性,以及达到临床级的检测精度。这些特点和趋势对三大功能单元中的元器件都提出了很高的要求,并推动便携式医疗设备和可穿戴设备的深度融合,进一步提升了设备的渗透率。现在很多人配戴的智能手表便能够提供医疗级的血氧检测和准医疗级的血压检测等功能。
由于产品功能的特殊性,在所有特点和趋势中,高精度始终都是医疗设备的首要设计考虑因素。对于便携式医疗设备同样如此,测量的质量和完整性直接影响到用户对相关设备的评价以及未来的市场成长性。
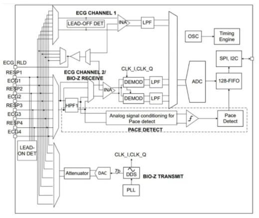
AFE4960是一款具有集成式呼吸和起搏信号检测功能的双通道ECG模拟前端,可配置为2通道ECG接收器、1通道ECG接收器或呼吸阻抗通道。所有信号链输出均由一个ADC转换为定义明确的时隙,并在128采样FIFO中存储为24位字,可通过SPI或I2C接口读出。
在ECG信号链方面,AFE4960模拟前端支持高达2.048kHz的单通道ECG采集和高达1.36kHz/通道的2通道ECG采集;在Bio-Z信号链方面,AFE4960模拟前端在30kHz至100kHz的激励频率范围内测量生物阻抗,采用正弦波激励或方波激励。
除了高性能和高精度,如下图所示,高集成也是AFE4960模拟前端一大显著优势。作为一套高集成度解决方案,该器件可以灵活连接多达4个电极,可用于实现3引线ECG系统,如果两个并联AFE同步运行则可用于实现5引线ECG。此外,该器件还提供SPITM、I2C接口等接口资源。

图5:AFE4960模拟前端方框图(图源:TI)
出色的性能使得该器件可用于打造临床级可穿戴设备,比如用于住院和门诊监测的无线贴片、手持式ECG监护仪、便携式多导联ECG,以及IEC60601-2-47:2012/(R)2016和IEC60601-2-27:2011(R)2016兼容系统。此外,AFE4960模拟前端也可用于打造远程医疗设备,使得患者可以居家监测自己的健康状态。
无线让便携式医疗充满想象
在我们给出的便携式医疗设备方框图里有提到,无线传输器件是其中的重要一环。
无线连接极大地丰富了便携式医疗设备的应用场景。通过无线网络,设备能够和智能手机上的App互联,方便用户查询指标以及解读指标;通过无线网络和大数据平台互联,设备也能够接入到远程医疗平台,可以显著提升医生和患者的沟通效率,并扩大相关设备适用疾病的范围。
不过,我们也有提到,便携式医疗设备需要持续优化功耗以提升使用体验,因此无线通信方案需要兼备低功耗和高性能。
CC2651R3能够很好地满足我们上面提到的高性能和低功耗特性。在高性能方面,这颗无线MCU以功能强大的48MHz Arm Cortex-M4为主处理器,配合352KB闪存程序存储器和32KB超低漏电流SRAM,接收灵敏度高达-104dBm(在低功耗蓝牙为125kbps时),输出功率高达+5dBm,并带温度补偿。该器件可支持Zigbee、低功耗蓝牙5.2、SimpleLink TI 15.4-stack以及其他专有2.4GHz协议。
在低功耗方面,CC2651R3经过了专门的优化,具有由Arm Cortex-M0驱动的软件定义无线电,支持多个物理层和射频标准。因此,其MCU在有源模式下的功耗仅为2.91mA,运行CoreMark时的功耗为61µA/MHz,并能够在0.8µA待机模式下提供RTC和32KB RAM保留功能。在无线电功耗上,该器件的表现为7.1mA TX(0dBm时)和9.5mA TX(+5dBm时)。
正如系统框图所展示的,CC2651R3还是一款高集成的器件,拥有丰富的系统外设,比如12位ADC、8位DAC、UART、SSI、I2C等。当然,还必须要提到的是,这款器件具有超长的生命周期,10至15年或者更久。
提升采集精度的温度传感器
传感器是便携式医疗设备进行精准信息采集的第一环节,不同功能的设备便需要不同的传感器进行信息捕捉,比如呼吸机需要流量传感器,血压计需要压力传感器,额温枪需要温度传感器,等等。
从便携式医疗设备的发展趋势来看,对传感器主要提出了三大要求,分别是高精度、低功耗和小体积。
TSYS03是一款微型数字传感器,提供出厂校准的高精度(±0.5℃,0℃至+60℃时)温度数据,并支持根据要求调整高精度温度范围。虽然采用的是TDFN8(2.5mm x 2.5mm)和XDFN6(1.5mm X 1.5mm)这样的小型封装,但器件内部包含一个耐用的温度传感器元件、一个模数转换器和一个微控制器,支持通过I2C接口管理数据通信。TSYS03拥有出色的低功耗特性,工作电流<5μA,待机电流<0.3μA。

图9:TSYS03精度特性(图源:TE)
除了可应用于医疗探头和患者监护设备,TSYS03还可用于消费类产品和电器、工业控制和食品监视以及车辆电池监视等丰富场景。
便携式医疗不可忽视数据安全
我们在上述内容中主要关注的是便携式医疗设备的设计问题和使用体验,因此围绕高性能、低功耗、小体积和无线传输等方面展开了讨论。
然而,我们也必须要意识到,随着便携式医疗设备从临床进入寻常百姓家,以及设备和大数据深度融合,数据安全问题会是产业需要面对的严峻挑战。在这方面,除了方案商从软硬件方面做增强,也需要政策和法律法规的配套,以适应全新的产业形态。
国务院办公厅在《关于进一步完善医疗卫生服务体系的意见》(发布于2023年3月)中指出,加快健康医疗数据安全体系建设,强化数据安全监测和预警,提高医疗卫生机构数据安全防护能力,加强对重要信息的保护。
在硬件层面,电子元器件能够通过加解密、密钥生成、凭据保护、硬件可信根等安全方案,为敏感数据提供隔离、安全的运行环境,并在便携式医疗设备的信息处理、传输、存储等环节提供全方位的保护。为了推动便携式医疗设备行业高速、稳定、健康地向前发展,贸泽电子将和大家携手一起把好数据安全关,并持续提出更全面的硬件防护方案。
审核编辑:郭婷