时间:2014-02-11 16:04
人气:
作者:admin
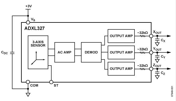
ADXL327是一款完整的小尺寸、低功耗、三轴加速度计,提供经过信号调理的电压输出。该产品的满量程加速度测量范围为 ±2 g (最小值),可以测量倾斜检测应用中的静态重力加速度,以及运动、冲击或振动导致的动态加速度。
用户使用 XOUT,YOUT和ZOUT 引脚上的电容CX,CY和 CZ 选择该加速度计的带宽。可以根据应用选择合适的带宽,X轴和Y轴的带宽范围为0.5 Hz至1600 Hz,Z轴的带宽范围为0.5 Hz至550 Hz。
ADXL327提供小尺寸、薄型、16引脚、4 mm × 4 mm × 1.45 mm塑料引脚架构芯片级封装(LFCSP_LQ)。
ADXL327功能框图

特点和优势
三轴检测
小尺寸、
薄型(4 mm × 4 mm × 1.45 mm) LFCSP封装
低功耗:350 μA(典型值)
单电源供电:1.8 V至3.6 V
抗冲击能力:10,000 g
出色的温度稳定性
通过各轴的一个电容调整相应的带宽
符合RoHS/WEEE无铅要求
更多相关信息:ADXL327:小尺寸 低功耗 三轴±2g加速度计产品数据手册