时间:2009-07-30 08:35
人气:
作者:admin
光电耦合器具有体积小、使用寿命长、工作温度范围宽、抗干扰性能强.无触点且输入与输出在电气上完全隔离等特点,因而在各种电子设备上得到广泛的应用.光电耦合器可用于隔离电路、负载接口及各种家用电器等电路中.下面介绍最常见的应用电路.
1.组成开关电路

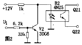
图1电路中,当输入信号ui为低电平时,晶体管V1处于截止状态,光电耦合器B1中发光二极管的电流近似为零,输出端Q11、Q12间的电阻很大,相当于开关“断开”;当ui为高电平时,v1导通,B1中发光二极管发光,Q11、Q12间的电阻变小,相当于开关“接通”.该电路因Ui为低电平时,开关不通,故为高电平导通状态.同理,图2电路中,因无信号(Ui为低电平)时,开关导通,故为低电平导通状态.

2.组成逻辑电路

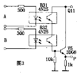
图3电路为“与门”逻辑电路。其逻辑表达式为P=A.B.图中两只光敏管串联,只有当输入逻辑电平A=1、B=1时,输出P=1.同理,还可以组成“或门”、“与非门”、“或非门”等逻辑电路.
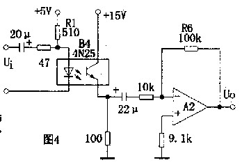
3.组成隔离耦合电路

电路如图4所示.这是一个典型的交流耦合放大电路.适当选取发光回路限流电阻Rl,使B4的电流传输比为一常数,即可保证该电路的线性放大作用。
4.组成高压稳压电路

电略如图5所示.驱动管需采用耐压较高的晶体管(图中驱动管为3DG27)。当输出电压增大时,V55
的偏压增加,B5中发光二极管的正向电流增大,使光敏管极间电压减小,调整管be结偏压降低而内阻增大,使输出电压降低,而保持输出电压的稳定.
5.组成门厅照明灯自动控制电路

电路如图6所示。A是四组模拟电子开关(S1~S4):S1,S2,S3并联(可增加驱动功率及抗干扰能力)用于延时电路,当其接通电源后经R4,B6驱动双向可控硅VT,VT直接控制门厅照明灯H;S4与外接光敏电阻Rl等构成环境光线检测电路。当门关闭时,安装在门框上的常闭型干簧管KD受到门上磁铁作用,其触点断开,S1,S2,S3处于数据开状态。晚间主人回家打开门,磁铁远离KD,KD触点闭合。此时9V电源整流后经R1向C1充电,C1两端电压很快上升到9V,整流电压经S1,S2,S3和R4使B6内发光管发光从而触发双向可控硅导通,VT亦导通,H点亮,实现自动照明控制作用。房门关闭后,磁铁控制KD,触点断开,9V电源停止对C1充电,电路进入延时状态。C1开始对R3放电,经一段时间延迟后,C1两端电压逐渐下降到S1,S2,S3的开启电压(1.5v)以下,S1,S2,S3恢复断开状态,导致B6截止,VT亦截止,H熄来,实现延时关灯功能。
上一篇:电源的分类及知识
下一篇:二进制计数电位器电路图