时间:2015-07-30 14:43
人气:
作者:admin
现代空战中,光电对抗装备在战争中扮演着重要的角色,而红外侦测与跟踪系统由于采用的无源探测技术,因此与雷达等主动探测系统相比具有隐身性强、抗干扰能力好和小型化程度高等优点,受到业内的关注。新一代红外成像导引系统须具备高精度、处理速度快、实时性强且反应时间短等特点,这便要求图像处理计算机能满足图像处理中大数据量、复杂运算、实时性强、高传输率和稳定可靠等要求。文中从工作原理、硬件及软件3个方面介绍了基于DSP和FPGA芯片的红外信息数据处理系统设计方法。
1红外制导控制系统硬件总体设计
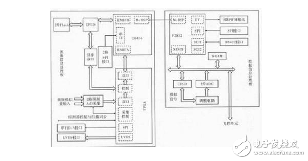
红外信息数据处理系统按照功能划分为两大板块,由图像信息处理板和控制信息处理板组成数据处理系统。其红外制导控制信息数据处理系统如图1所示。图像信息处理板主要承担大量的实时图像信号预处理、图像信号处理与控制任务;控制信息处理板控制接口信号的采集,跟踪回路的解算,控制输出及与飞控计算机等的通讯,同时控制管理模块也是系统的管理模块,完成对系统的输入/输出操作、同步控制、系统状态管理等功能。

图1 红外信息数据处理系统框图
2图像处理模块的硬件设计
图像处理模块的硬件由复位电路、时钟电路、图像采集及预处理电路、DSP图像处理电路、电源转换电路和外部接口等电路组成。组成框图如图2所示。

图2 图像采集单元电路组成
2.1图像采集单元
图像采集单元包括扫描同步接口电路、探测器接口电路、前端调整电路、A/D转换电路、采样控制与数据整合电路及数据缓存(同步双口)电路等组成。电路组成框图如图2所示。扫描同步信号是来自系统中扫描模块,该信号提供系统时序基准,其信号同步于帧同步信号。扫描同步信号从底板连接器接入。探测器接口电路包括:参考电源、温度信号、采样控制信号及2路视频模拟信号等,以上信号在FPGA内部采集电路的控制下,保证每帧图像数据的同步采集。调整电路将探测器输出的视频信号调整至高速A/D输入的范围,差分视频信号经差分驱动器放大驱动,其共模输入电压为视频A/D片内参考信号(2.5 V)。模拟信号输入到A/D采用差分输入方式。视频A/D主要用于将视频电路间的模拟信号与数字信号进行转换。根据电路整体要求,A/D转换电路需满足采样频率高、功耗低、转换精度高等要求。采样控制和数据缓存电路由FPGA内部采样控制电路完成。数据缓存电路由FPGA内部双口存储器完成,具有高速、可同步及异步读写操作等性能。
2.2 DSP图像处理电路
DSP图像处理电路主要包括处理器及外围配置电路、存储器电路及与控制板接口通信的McBSP串口电路等。处理器选用TI公司高性能定点 TMS320C641x系列中C6414 GIZA-6E3作为图像信息处理C6414-6E3,时钟周期为1.67 ns,内部工作时钟可达600 MHz,最高处理速度可达4 800 MIPS;内部存储器容量8 Mbit;有2个扩展存储器接口,EMIFA为64 bit,EMIFB为16 bit,EMIFA的总线频率可达133 MHz,最大可寻址空间为1280 MB;内核工作电压为1.4 V,工作温度可达-40~105℃。其完成红外成像制导导引头图像组合、分割与增强、模板匹配、背景处理、目标提取和目标跟踪等主处理算法。
FPGA预处理单元是图像信息处理板上另一个核心部件,采用Xilinx公司Vertex-II系列中的XC2V2000-FG676来实现。 XC2V2000具有200万门的规模,内部的存储资源有1 Mbit的Select RAM,336 kbit的Distributed RAM,IO管脚资源达到408个,8个DCM.FPGA预处理单元设计由视频采集控制与数据整合单元、视频采集缓冲和主处理缓冲双口存储器、预处理单元、图像输出子卡数据传输接口控制、串行SPI接口控制器、LVDS数字视频输出接口、访问DSP/HPI接口的主机控制电路等部分组成。另外,图像信息处理板的FPGA配置可实现外场在线配置功能。
存储器电路包括Flash、FPGA内部同步双口两种存储器。可与C6414的(EMIF外部存储器接口,C64有2条总线EMIFA与 EMIFB)连接,在使用时需通过DSP/BIOS对EMIF总线进行配置,确定访问时序。图像信息处理板上有2片Flash资源分别属于DSP和 FPGA,其中属于FPGA的Flash保存的是板上控制代码,属于DSP的Flash除用以存储模块BOOT程序,还可对用户应用程序进行存储。为了采用从并方式配置FPGA,将其所属Flash连接在C6414的EMIFB异步BANK CE0,采用异步的读写信号;为支持C6414从ROM引导的机制,DSP所属Flash连接至C6414的EMIFB异步BANK CE1采用异步的读写信号。双口存储器主要用于存储帧图像数据,在图像信息处理板的FPGA上配置了双口存储器。应用中可通过FPGA设计配置同步或异步双口存储器与C6414实现数据交换,容量按图像帧大小可配置为16 kbit×16 bit,也可配置16位或32位访问方式。图像信息处理板上双口存储器连接在C6414的EMIFA同步BANK ACE0空间,可配置同步方式或异步方式。
3控制信息处理模块的硬件设计
控制信息处理板由处理器、时钟及复位电路、存储器、数字脉冲计数与逻辑控制电路、模数转换A/D电路和指示灯电路组成。如图3所示。

控制信息处理板信号处理器采用 TMS320F2812,由30 MHz晶体提供输入工作时钟,16位总线宽度,可访问128 kW的片上程序存储空间和64 kW的数据存储空间,具有三级外部中断。时钟电路采用外部晶振为F2812提供30 MHz的时钟输入,由内部PLL电路配置F2812工作时钟为120 MHz,外部总线工作时钟为60 MHz.复位电路由本板的LDO电源转换器输出,复位输入经CPLD的逻辑控制均产生控制信息处理板DSP的复位。控制信息处理板主要有以下存储器配置:F2812片内存储器包括:18 kW的SARAM、128 kB的Flash、4kB的Boot Rom.片外存储空间包括:512kB的SRAM、1 kB的飞控计算机双口存储空间、3路数字脉冲计数电路的数据寄存器及板上2片A/D转换器的数据端口地址等。
可编程逻辑CPLD电路完成控制信息处理板的3路数字脉冲计数、复位电路和译码逻辑等,译码逻辑由F2812的外部存储器片选信号和高位地址线一并通过逻辑译码产生访问A/D芯片及与飞控模块接口的片选信号。
CPLD实现对3路数字脉冲信号进行计数测频的原理是;将3路数字脉冲信号经CPLD测频电路对脉冲信号进行计数处理后,通过软件编程由F2812定时读取。
2片A/D转换器实现9路模拟量输入的模数转换,A/D电路见图4.系统输入9路差分交流模拟信号,这9路模拟信号需使用差分运放调整至0~+5 V,同时输入到A/D转换器,采样时钟由CPLD控制。

4软件功能设计
图像控制信息处理系统结构复杂、接口繁多。因篇幅限制,仅对验证其是否满足成像导引系统和目标信号处理系统指标要求的BIT测试方法作了简要介绍。A/D测试选用数字化FFT方法进行,Flash和RAM类的测试用读写比较片内空间数据完成判断,接口类测试通过硬件接口从外部输入模拟信号后运行软件对运算结果进行阈值判断实现,图像数据传输率测试通过EMIF总线与FPCA内部的同步双口RAM配置为主从式测试回路方法而实现。而BIT测试结果则通过RS422接口转RS232接口,连接PC机显示。测试结果显示直观,局部电路出现故障易于定位。
5结束语
文中针对弹载计算机红外图像信息处理的需求,以DSP(TMS320C6414)处理器+FPGA(XC2V2000-FG676)为核心开发了数据处理系统,进行了软硬件设计。经测试结果表明,该系统具有较强的处理能力,调试方便,在发生硬件故障时易于定位。
上一篇:狂拽炫酷的远程医疗监测系统DIY
下一篇:使用光学鼠标传感器实现旋转测量
Ceva Richard Kingston:2024半导体市场将出现