时间:2006-03-24 13:33
人气:
作者:admin
引言
今年,预计全球将生产超过 6 亿部蜂窝电话。这些蜂窝电话不仅是人们的通话工具,现今最新型的蜂窝电话还可用来浏览 Web、无线传输电子邮件、拍照甚至收看流式视频。消费者对这些“丰富功能”的需求给电话制造商们带来了越来越大的压力,它们必须把这些功能放进越来越小的电话中,同时还要保证电池的使用时间。
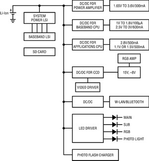
从图 1 所示的方框图中很容易理解,功能越多就需要在不同的功率级有更多的低压输出轨。而且,为多个显示屏提供背光照明以及驱动多种“指示”灯的需求也在增加。例如,手机具有一个主显示器以用来观看文本、图形或照片,一个副显示器来显示时间、日期或来电号码,一个用作照相机闪光灯或为视频捕捉而置于手电筒模式的白光 LED,以及一个照相机在使用时发出红光的 LED,这种情况并不罕见。
凌特公司电源业务部产品市场经理 Tony Armstrong

图1 最新型蜂窝电话方框图凌特公司电源业务部产品

图2 配置成驱动4个显示屏的LTC3206
为什么选择白光 LED?
白光发光二级管(LED)与 CCFL 和电致发光背光照明器件相比,具有更长的寿命和更低的功耗。大多数 LED 厂商都表示其产品在标称工作条件下具有 10 万小时的使用寿命,电源输入到光输出的效率可高于 80%。自从 1993 年首次发布蓝光 LED(波长为470nm)以来,从紫外光到黄光的不同颜色基于氮化物 LED 使 LED 的应用日趋丰富。不过,只是在最近五、六年的时间里,器件制造商才开发出可生产白光 LED(波长为 430〜700nm)所需的化学方法和工艺技术。一般的白光LED具有 15〜20mA 的标称驱动电流,典型正向压降为2.7〜4.0V。对于大多数照明系统来说,需要一个 LED 阵列来提供全部所需光强,因此在任何驱动器设计中都必须考虑 LED 亮度的准确性和匹配问题。
与此同时,在过去的一段时间里,小型彩色有源矩阵 TFT 液晶显示器(LCD)在蜂窝电话中的使用量一直在激增。这些LCD 用来显示各种文本数据以及图像和照片。这些显示器需要小型紧凑和高效的解决方案来驱动为其提供背光照明的白光 LED。直到最近,这些需求相互之间一直有些矛盾,不过,最近出现的一些产品使设计人员们有了高性能背光照明技术的选择。两种最佳的解决方案是采用低噪声无电感器型 DC/DC 转换器(更常见的叫法是电荷泵(charge pump))或采用升压型 DC/DC 转换器。这两种方案之间的主要区别在于是否需要电感器(磁体)以及 LED 是串联还是并联。LED背光驱动器的最佳架构是取决于每个应用的具体需求和限制条件。
一种理想的白光 LED 多显示屏驱动器
因为很多蜂窝电话都处于“空间受限环境”,那么电荷泵多显示屏驱动器就成为这类小至中负载电流必须充足而且一定为多个显示屏供电应用环境之极佳选择。而且,电荷泵具有低的高度、小的解决方案占板面积和高转换效率,以延长电池使用时间及实现一个不高的成本。不过一般的电荷泵 IC 可能有噪声,而且效率也不高。例如,门控振荡器电荷泵设计简单,实现成本低,但是在输入和输出端都产生几乎不可能滤掉的低频噪声。在电源输入端产生的噪声能干扰无线应用中的射频(RF)发送和接收。在输出端的噪声能耦合进灵敏的电路,甚至产生听得见的噪声。为了解决这些噪声问题,设计人员们不得不增加一些笨重且昂贵的滤波器。不过,凌特公司的 LTC3206 采用了一种改进的电荷泵解决方案。LTC3206 是高度集成的多显示屏LED控制器,其包含有高效率、低噪声分数(fractional)升压/直接连接电荷泵。
LTC3206 是一种高度集成的多显示屏 LED 控制器,可同时为主、副白光 LED 显示屏以及RGB 彩色 LED 显示屏供电。LTC3206 仅需要 4 个细小的陶瓷电容器和两个电阻就可以形成一个完整的 3 显示屏 LED 电源和电流控制器。
主、副显示屏和 RGB 显示屏的最大电流独立设定,而每个 LED 的电流由一个内部电流源控制。所有显示屏的调光和导通/关断控制都通过一个 I2C 串行接口实现。两个辅助LED 引脚可以独立地分配给主显示屏或副显示屏,增加了设计的灵活性。主、副显示屏的调光范围都是 128:1,而每个红、绿和蓝光 LED 都具有 16 种调光状态,从而产生 4096 种颜色组合。另外,为了满足大电流照相机闪光灯的需求,LTC3206 还能通过电荷泵(CPO引脚)的输出提供高达 400mA 的持续电流,并能提供高达 800mA 的峰值电流。
LTC3206 通过标准 I2C 两线接口与主器件通信。该 I2C 端口以高达 400kHz 的速度工作,并具有内置定时延时,以确保当从一个符合 I2C 标准的主控设备进行寻址时能够进行正确工作。LTC3206 是一个只接收型(从属)器件。
为了使噪声最小,LTC3206 采用了恒定频率电流调节技术,以确保浮动电容器的电荷和放电电流刚好足够提供负载电流。该电荷泵工作在两个相位,在每个时钟相位上电流几乎保持恒定,从而确保无音频成份。
为了获得最佳的效率,LTC3206 的电源管理部分提供两种向 CPO 引脚供电的方法:直接连接模式下的 1:1 或升压模式下的 1.5x。当用 LTC3206 启动任何显示屏时,电源管理系统用一个低阻抗开关把 CPO 引脚直接连接到 VIN。如果在 VIN 提供的电压足够高以恰当的编程电流为所有 LED 供电,那么该系统将在这种“直接连接”模式下提供最高效率。内部电路对所有电流源进行监视以发现“压降”的开端,在这点的电流源不能再提供编程电流。随着电池电压下降,具有最大正向电压的LED 将首先达到压降门限。当任何启动工作的电流源达到压降门限时,LTC3206 就会切换到升压模式,并自动软启动 1.5x 升压电荷泵。
当涉及效率和成本效益以驱动用于 LCD 和键盘背光照明以及 RGB 和照相机闪光照明的白光LED 时,设计人员现在可以做出明确选择了。LTC3206 分数电荷泵可提供高效率、小占板面积、设计灵活性和低噪声性能。