这款 8 引脚集成电路包含实现 IEEE802.3at 2 类受电器件 (PD) 所需的所有功能。0.5 Ω的低内部开关电阻,加上 PowerPAD™ 封装增强的散热性能,使该控制器能够连续处理高达 0.85 A 的电流。该TPS2378具有辅助电源检测 (APD) 输入,可优先使用外部电源适配器。它还具有100 V通晶体管、140 mA浪涌电流限制、2类指示、自动重试故障保护和漏极开路电源良好输出。
*附件:tps2378.pdf
特性
- IEEE 802.3at Type-2 硬件分类,带状态标志
- 适配器优先级输入
- DC/DC转换器使能
- 坚固耐用的 100 V、0.5 Ω热插拔 MOSFET
- 工作电流高达 850 mA
- 1A(典型值)工作电流限制
- 15 kV 和 8 kV 系统级 ESD 能力
- PowerPAD HSOP 封装
参数

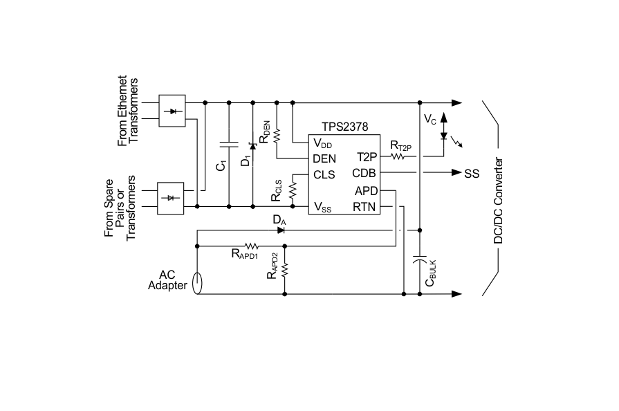
方框图

1. 产品概述
TPS2378是德州仪器(TI)推出的8引脚集成电路,专为IEEE 802.3at Type-2供电设备(PD)设计,集成以下核心功能:
- 高功率支持:通过0.5Ω低阻内部开关,支持持续850mA电流(最大1A限流)。
- 兼容性:符合IEEE 802.3at标准,适用于Type-2硬件分类,并向下兼容Type-1设备。
- 关键特性:
- 辅助电源检测(APD)输入,支持外部适配器优先级切换。
- 140mA浪涌电流限制、Type-2 PSE状态指示(T2P引脚)。
- 15kV系统级ESD防护及100V耐压MOSFET。
2. 主要应用场景
- 视频电话、VoIP设备
- 多频接入点、安防摄像头
- 微型基站(Pico-base Stations)
- 强制四对线高功率设备(如SLVA625参考设计)
3. 功能模块详解
- 检测与分类:
- 检测(DEN) :通过24.9kΩ电阻实现标准签名(23.7kΩ–26.3kΩ)。
- 分类(CLS) :外接电阻(如63.4Ω对应Class 4)编程功率等级,支持双事件分类协议。
- 电源管理:
- APD引脚:电压>1.5V时禁用PoE,优先使用适配器电源。
- CDB引脚:浪涌期间拉低,用于下游DC/DC转换器使能控制。
- T2P引脚:指示Type-2 PSE连接或APD激活状态。
- 保护机制:
- 热关断(OTSD)、电流折返(12V阈值触发)、输入UVLO(38.1V开启/32V关闭)。
4. 典型电路设计
- 输入桥接:建议使用100V Schottky二极管以减少损耗。
- 布局建议:
- 优先点对点布线,缩短高频路径(如VDD-TVSS)。
- PowerPAD™需连接至VSS并扩大铜箔面积散热。
- 关键元件选型:
- 输入TVS管(如SMAJ58A)、0.1μF VDD旁路电容。
5. 文档与支持
- 参考设计:SLVA625(四对线51W方案)、SLVA306(适配器ORing方案)。
- 封装信息:8引脚HSOP(PowerPAD™),尺寸4.89mm × 3.90mm。