时间:2025-08-22 10:09
人气:
作者:admin
产品介绍
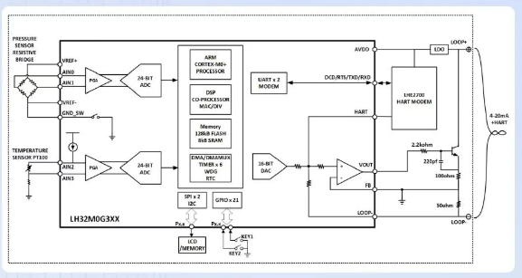
LH32M0G3XX是一款单芯片集成了Arm Cortex-M0+和高精度模拟前端及多种通信接口的高精密模拟微控制器。LH32M0G3XX集成了双24位Σ-Δ型模数转换器(ADC)、16位数模转换器(DAC)、可编程增益放大器、低温漂精密带隙基准电压源、双路可编程电流源等电路。
LH32M0G3XX片上还提供DMA,乘加和除法运算加速等数据处理单元,2路UART,2路SPI,1路I2C,1路多功能IO等灵活的通信接口,6组定时器,以及看门狗,CRC,电源监测等各种诊断及自检功能。芯片采用2.5V~5.5V电源供电,额定工作温度范围为-40°C~125°C,提供QFN40(5mm×5mm)和QFN48(7mmx7mm)封装。
LH32M0G3XX非常适合工业现场仪表应用,客户单芯片可实现仪表数据采集、补偿校准和通信传输功能,支持直接与多个模拟传感器连接,如压力传感器电桥、电阻式温度传感器、热电偶以及其他各类传感器和变送器。

产品特性
·高效内核
-搭载32位Arm Cortex-M0+处理器,主频高达32MHz
-配备增强的DMA内存访问加速,4通道DMAMUX实现任意映射
-配备性能优化的硬件乘加单元和除法加速外设
·灵活存储器配置
-集成128k Bytes的FLASH存储器
-集成8k Bytes的SRAM
·多种时钟选择
-内部32MHz RC高速振荡器,支持用户校准,可配置时钟输出
-内部32kHz RC低速振荡器,支持低功耗应用
-支持外部32.768KHz外部晶体振荡器,支持低功耗应用
·极致电源管理
-典型工作功耗1.3mA@2MHz(CPU+2xADC+UART)
-精细化低功耗模式:睡眠,小睡,深度睡眠,掉电模式
-支持上电/掉电复位(POR/PDR),支持低电压诊断监测(LVD)
·双24位Sigma-delta(Σ-Δ)模数转换器(ADC)
-支持可编程增益放大器,增益范围1至128
-可编程ADC输出速率(2.5Hz至7.8125kHz)
-高达24位有效分辨率(增益=1,2.5sps)
-RMS噪声24nVrms(增益=128,2.5sps)
-失调温漂20nV/°C(典型值,增益1~128)
-增益温漂0.5ppm/°c(典型值,增益1~128)
-最大支持6路差分或12路单端输入通道
-同步的50Hz/60Hz工频抑制
-诊断功能,输入短路及开路检测,支持监控DAC输出的4-20mA电流
-内置温度传感器
·16位数模转换器(DAC)
-绝对电压输出(1.2/2.5V/5V/AVDD)
-比例电压输出(OV到AVDD)
-支持4mA到20mA变送输出
-支持配置PWM模式输出
-支持诊断及更新保护功能
·片上低温漂基准
1.262V/2.048V/2.5V/4.096V参考电压
-驱动能力16mA
-典型温漂5ppm/°℃
·片上低温漂激励电流源
-2路可编程传感器激励电流源
-最大输出1mA,最小50uA
-典型温漂20ppm/°℃
-匹配电流±0.22%,匹配温漂1.7ppm/°℃
·丰富的外设资源
-最多21个GPIO,8个外部引脚中断源
-最多2个UART
-最多2个串行外设接口(SPI)
-1个I2C接口
-1组增强型多功能IO
-最多6组定时器,包括2路基础定时器,2路通用定时器,2路低功耗定时器
-1个实时时钟计数器
·符合IEC61508功能安全要求
-电源监测,ADC输入短路,开路及自诊断
-CPU核自诊断,时钟精准度监测电路,独立看门狗,PWM输出关断功能,存储自测试功能
-128位Unique ID
·工作环境
-AVDD电压:2.5V~5.5V
-1OVDD电压:2.5V~5.5V
-温度范围:-40°C to 125℃
·封装
-QFN48:7mmx7mm,48pin0.5pitch
QFN40:5mmx5mm,40pin0.4pitch
-QFN32:5mmx5mm,32pin0.5pitch
产品应用
·压力传感器和变送器
·热电阻、热电偶温度变送器
·电阻式温度变送器(RTD)
·液位计和流量计
·应力计、称重称、负载计
·其他精密控制和检测系统

实测数据
一ADCO积分非线性INL一

一ADC1积分非线性INL一

—DAC线性误差VSDACCODE一

ADC0/1均方根噪声(μV)VS.
—Gain and Output Update Rate,—
Internal Reference(2.048V)

公司简介
苏州领慧立芯科技有限公司(简称:领慧立芯)专注于高性能模拟及混合信号芯片开发设计。创始团队成员均来自知名芯片设计公司,平均设计开发经验大于十年,熟稳产品定义、设计研发、测试量产、运营销售等各个环节。公司致力于中高端数模混合产品的研发,产品主要涉及高精密信号链和集成信号链MCU/SOC两大方向,关键性能指标处于业内领先水平,广泛应用于工业控制、新能源、汽车电子、光通信、医疗仪器等领域。
公司坚持以人才为本,以创新为驱动,以市场为导向,持续不断地推出更有竞争力的产品,志在成为高性能模拟及混合信号芯片领域的领军者。