时间:2025-06-09 17:02
人气:
作者:admin
近期,芯片烧录领域的领导者昂科技术推出其烧录软件的重大版本更新。在新版本发布之际,公司同步宣布新增多款兼容芯片型号,其中包括中微半导体开发的SC8P1712E通用微控制器。该芯片已成功完成与昂科旗舰产品AP8000芯片烧录程序工具的技术适配,此举显著增强了AP8000系列设备的芯片兼容性和行业应用范围。
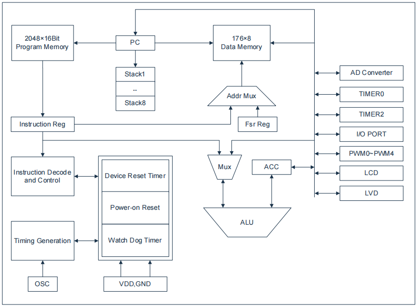
SC8P1712E是中微OTP ADC型支持C的芯片,支持内部RC振荡16MHz,工作电压1.8V-5.5V,GPIO最多可达14个,内置LVD模块、WDT、LCD、PWM模块,高精度的12位ADC和8位定时器,内建高精度1.2V基准电压。工业级标准设计,可工作在-40℃至85℃,提供SOP8、SOP14、SOP16封装。

产品特性
• OTP ADC型芯片
• 工作电压频率:2.6V-5.5V@16MHz,1.8V-5.5V@8MHz
• 工作温度:-40℃-85℃
• OTP 2K x 16Bit、176 x 8Bit RAM
• 支持内部振荡方式
• 最多14个通用GPIO
• 2个定时中断,RA、RB口电平变化中断
• 12位高精度ADC
• 内置LCD驱动模块
• 5路PWM模块
– 极性可选
– 4路共周期,独立咱空比
– 10位PWM精度
• 2个8位定时器
• 内建高精度1.2V基准电压
• 内置低压检测功能(LVD)
• 8级堆栈缓存器
• 封装类型:SOP8、SOP14、SOP16

系统结构框图
昂科技术凭借深厚的技术积累,自主打造的AP8000万用烧录器堪称行业标杆级烧录解决方案。该设备支持灵活的一拖一及一拖八配置,同时提供在线、离线两种工作模式,还针对eMMC、UFS存储芯片开发了专属烧录方案,可全方位满足中微半导体全系列芯片的裸片离线烧录与在板烧录需求。AP8000由主机、底板、适配座三大核心模块构成,这种模块化设计赋予其卓越的兼容性与扩展性。作为通用型烧录平台,AP8000不仅能适配市面上各类可编程芯片,更凭借稳定高效的性能,成为昂科安全烧录设备IPS5800S的核心组件,可高效处理大规模芯片烧录任务。

AP8000主机具备灵活的连接方式,同时配备USB和NET接口,可实现多台编程器的便捷组网。通过组网功能,用户能够轻松实现多台编程器的同步控制,高效开展并行烧录作业。在安全性方面,主机内置智能安全保护电路,可实时监测芯片放置状态与电路连接情况,一旦检测到芯片反插、短路等异常,将立即触发断电保护机制,全方位守护芯片和编程器的安全运行。主机内部搭载高速FPGA芯片,大幅提升数据传输与处理效率,确保烧录过程流畅高效。为增强使用便捷性,主机背部设置SD卡槽,用户只需将PC端生成的工程文件存储至SD卡,并插入卡槽,即可通过编程器实体按键完成文件选择、加载与烧录操作,实现脱离PC的独立运行。这一设计不仅降低了对计算机硬件配置的依赖,还简化了工作环境搭建流程,显著提升操作灵活性。
在扩展性与兼容性上,AP8000采用底板与适配板模块化组合设计,有效拓展主机功能边界。目前,该设备已实现对全主流半导体厂商产品的支持,覆盖SINOWEALTH, SemiDrive, winbond, holychip, ESMT等知名品牌。其支持器件类型广泛,涵盖NAND, NOR, MCU, CPLD, FPGA, EMMC等,并全面兼容Intel Hex, Motorola S, Binary, POF等多种行业标准文件格式,为用户提供一站式、全场景的芯片烧录解决方案。