时间:2025-03-19 16:22
人气:
作者:admin
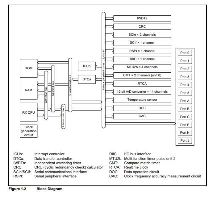
RX110 系列微控制器是 RX100 系列中产品阵容最简单的。它们属于小容量、低引脚数的产品系列,ROM/RAM 容量范围从 8KB/8KB 到128KB/16KB,引脚数量在 36 到 64 个之间。一个 12 位的模数转换器(A/D 转换器)、定时器、串行接口等功能都集成在一个小巧的 4×4毫米封装中。RX110 适用于对尺寸小巧和处理性能有要求的传感器中枢及其他应用场景。
*附件:超低功耗的32位微控制器RX110系列数据手册.pdf



