时间:2024-01-08 15:42
人气:
作者:admin
对于高频电路设计,当前已经有了很好的 CAD 类软件,其强大的功能足以克服人们在设计经验方面的不足及繁琐的参数检索与计算,再配合功能强大的网络分析仪,按理应该是稍具经验者便能完成质量较好的射频部件。但是,实际中却不是这回事。
一.关于 CAD 辅助设计软件与网络分析仪
对于高频电路设计,当前已经有了很好的 CAD 类软件,其强大的功能足以克服人们在设计经验方面的不足及繁琐的参数检索与计算,再配合功能强大的网络分析仪,按理应该是稍具经验者便能完成质量较好的射频部件。但是,实际中却不是这回事。
CAD 设计软件依靠的是强大的库函数,包含了世界上绝大部分无线电器件生产商提供的元器件参数与基本性能指标。不少射频工程师错误地认为:只要利用该工具软件进行设计,就不会有多大问题。但实际结果却总是与愿望相反,原因是他们在错误认识下放弃高频电路设计基本概念的灵活应用及基本设计原则的应用经验积累,结果在软件工具的应用中常犯下基本应用错误。射频电路设计 CAD 软件属于透明可视化软件,利用其各类高频基本组态模型库来完成对实际电路工作状态的模拟。至此,我们已经可以明白其中的关键环节棗高频基本组态模型有两类,一类属于集中参数形态之元器件模型,另一类属于常规设计中的局部功能模型。于是存在如下方面问题:
(1)元器件模型与 CAD 软件长期互动发展,日趋完善,实际中可以基本相信模型的*真度。但元器件模型所考虑的应用环境(尤其是元器件应用的电环境)均为典型值。多数情况下,必须利用经验确定系列应用参数,否则其实际结果有时甚至比不借助 CAD 软件的设计结果相差更远。
(2)CAD 软件中建立的常规高频基本组态模型,通常限于目前应用条件下可预知的方面,而且只能局限于基本功能模型(否则产品研发无须用人,仅靠 CAD 一手包办而诞生各类产品)。
(3)特别值得注意的是:典型功能模型的建立,是以典型方式应用元器件并以典型完善的工艺方式构造(包括 PCB 构造)下完成的,其性能也达到“典型”的较高水平。但在实际中,就是完全模仿,也与模型状态相差甚远。原因是:尽管选用的元器件及其参数一致,但它们的组合电环境却无法一致。在低频电路或数字电路中,这种相差毫厘的情况妨碍不大,但在射频电路中,往往发生致命的错误。
(4)在利用 CAD 软件进行设计中,软件的容错设计并不理睬是否发生与实际情况相违背的错误参数设置,于是,按照其软件运行路径给出一理想的结果,实际中却是问题百出的结果。可以知道其关键错误环节在于没有利用射频电路设计的基本原则去正确应用 CAD 软件。
(5)CAD 软件仅仅属于设计辅助工具,利用其具备的实时模拟功能、强大的元器件模型库及其函数生成功能、典型应用模型库等等方面来简化人们的繁琐设计与计算工作,到目前为为止,尚远远无法在具体设计方面代替人工智能。
CAD 软件在射频 PCB 辅助设计中所体现的强大功能是该软件大受欢迎的一个重要方面。但实际中,许多射频工程师会经常“遭其暗算”。导致原因仍然是其对参数设置的容错特性。往往利用其仿真功能得出一理想的模型(包括各个功能环节),一到实际调试中才发现:还不如利用自己的经验来设计。
所以,CAD 软件在 PCB 设计中,仍然仅仅有利于拥有基本的射频设计经验与技巧的工程师,帮助他们从事繁琐的过程设计(非基本原则设计)。
网络分析仪分为标量和矢量两种,是射频电路设计必不可少的仪器。通常的做法是:结合基本的射频电路设计理念和原则完成电路及 PCB 设计(或利用 CAD 软件完成),按要求完成 PCB 的样品加工并装配样机,然后利用网络分析仪对各个环节的设计逐个进行网路分析,才有可能使电路达到 状态。但如此工作的代价是以至少 3~5 版的 PCB 实际制作,而若没有基本的 PCB 设计原则与基础理念,所需要的 PCB 版本将更多(或者无法完成设计)。
由上述可见:
(1)在利用网络分析仪对射频电路进行分析过程中,必须具有完备的高频电路 PCB 设计理念和原则,必须能通过分析结果而明确知道 PCB 的设计缺陷棗仅此一项就要求相关工程师具备相当的经验。
(2)对样机网路环节进行分析过程中,必须依靠熟练的实验经验和技巧来构造局部功能网络。因为很多时候,通过网络分析仪所发现的电路缺陷,会同时存在多方面的导致因素,于是必须利用构造局部功能网路来加以分析,彻查导致原因。这种实验性电路构造必须借助清晰的高频电路设计经验与熟练的电路 PCB 构造原则。
二.本文的针对范畴
本文主要针对通讯产品的一个前沿范畴棗微波级高频电路及其 PCB 设计方面的理念及其设计原则。之所以选择微波级高频电路之 PCB 设计原则,是因为该方面原则具有广泛的指导意义且属当前的高科技热门应用技术。从微波电路 PCB 设计理念过渡到高速无线网络(包括各类接入网)工程,也是一脉相通的,因为它们基于同一基本原理棗双传输线理论。
有经验的射频工程师设计的数字电路或相对较低频率电路 PCB, 成功率是非常高的,因为他们的设计理念是以“分布”参数为 心,而分布参数概念在较低频率电路(包括数字电路中)中的破坏作用,常为人们所忽略。
长期以来,许多同行完成的电子产品(主要针对通讯产品)设计,往往问题重重。一方面固然与电原理设计(包括冗余设计、可靠性设计等方面)的必要环节缺乏有关,但更重要的,是许多这类问题在人们认为已经考虑了各项必要环节下而发生的。针对这些问题,他们往往将精力花在对程序、电原理、参数冗余等方面的 查上,却极少将精力花在对 PCB 设计的审 方面,而往往正是由于 PCB 设计缺陷,导致大量的产品性能问题。
PCB 设计原则涉及到许多方方面面,包括各项基本原则、抗干扰、电磁兼容、安全防护,等等。对于这些方面,特别在高频电路(尤其在微波级高频电路)方面,相关理念的缺乏,往往导致整个研发项目的失败。许多人还停留在“将电原理用导体连接起来发挥预定作用”基础上,甚至认为“PCB 设计属于结构、工艺和提高生产效率等方面的考虑范畴”。许多 射频工程师也没有充分认识到该环节在射频设计中,应是整个设计工作的特别重点,而错误地将精力花费在选择高性能的元器件,结果是成本大幅上升,性能的提高却微乎其微。
应特别在此提出的是,数字电路依靠其强的抗干扰、检纠错以及可任意构造各个智能环节来确保电路的正常功能。一个普通的数字应用电路而高附加地配置各类“确保正常”的环节,显然属于没有产品概念的举措。但往往在认为“不值得”的环节,却导致产品的系列问题。原因是这类在产品工程角度看不值得构造可靠性保证的功能环节,应该建立在数字电路本身的工作机理上,只是在电路设计(包括 PCB 设计)中的错误构造,导致电路处于一种不稳定状态。这种不稳定状态的导致,与高频电路的类似问题属于同一概念下的基本应用。
在数字电路中,有三个方面值得认真对待:
(1)数字信号本身属于广谱信号。根据傅里叶函数结果,其包含的高频成份非常丰富,所以数字 IC 在设计中,均充分考虑了数字信号的高频分量。但除了数字 IC 外,各功能环节内部及之间的信号过渡区域,若任意而为,将会导致系列问题。尤其在数字与模拟和高频电路混合应用的电路场合。
(2)数字电路应用中的各类可靠性设计,与电路在实际应用中的可靠性要求及产品工程要求相关,不能将采用常规设计完 达到要求的电路附加各类高成本的“保障”部分。
(3)数字电路的工作速率正在以前所未有的发展迈向高频(例如目前的 CPU,其主频已经达到 1.7GHz 棗远远超过微波频段下限)。尽管相关器件的可靠性保障功能也同步配套,但其建立在器件内部和典型外部信号特征基础上。
三.双传输线理论对微波电路设计及其 PCB 布线原则指导意义综述
(一)双线理论下的 PCB 概念
对于微波级高频电路,PCB 上每根相应带状线都与接地板形成微带线(非对称式),对于两层以上的 PCB,即可形成微带线,又可形成带状线(对称式微带传输线)。各不同微带线(双面 PCB)或带状线(多层 PCB)相互之间,又形成耦合微带线,由此又形成各类复杂的四端口网络,从而构成微波级电路 PCB 的各种特性规律。
可见,微带传输线理论,是微波级高频电路 PCB 的设计基础。
对于 800MHz 以上的 RF-PCB 设计,天线附近的 PCB 网路设计,应完全遵循微带理论基础(而不是仅仅将微带概念用于改善集中参数器件性能的工具)。频率越高,微带理论的指导意义便越显著。
对于电路的集中参数与分布参数,虽然工作频率越低,分布参数的作用特性越弱,但分布参数却始终是存在的。是否考虑分布参数对电路特性的影响,并没有明确的分界线。所以,微带概念的建立,对于数字电路与相对中频电路 PCB 设计,同样是重要的。
微带理论的基础与概念和微波级 RF 电路及 PCB 设计概念,实际上是微波双传输线理论的一个应用方面,对于 RF-PCB 布线,每相邻信号线(包括异面相邻)间均形成遵循双线基础原理的特征(对此,后续将有明确的阐述)。
虽然通常的微波 RF 电路均在其一面配置接地板,使得其上的微波信号传输线趋向复杂的四端口网路,从而直接遵循耦合微带理论,但其基础却仍是双线理论。所以在设计实际中,双线理论所具有的指导意义更为广泛。
通常而言对于微波电路,微带理论具有定量指导意义,属于双线理论的特定应用,而双线理论具有更广泛的定性指导意义。
值得一提的是:双线理论给出的所有概念,从表面上看,似乎有些概念与实际设计工作并无联系(尤其是数字电路及低频电路),其实是一种错觉。双线理论可以指导一切电子电路设计中的概念问题,特别是 PCB 线路设计概念方面的意义更为突出。
虽然双线理论是在微波高频电路前提下建立的,但这仅仅因为高频电路中分布参数的影响变得显著,使得指导意义特别突出。在数字或中低频电路中,分布参数与集中参数元器件相比,达到可以忽略的地步,双线理论概念变得相应模糊。
然而,如何分清高频与低频电路,在设计实际中却是经常容易忽略的方面。通常的数字逻辑或脉冲电路属于哪一类? 明显的具非线性元器件之低频电路及中低频电路,一旦某些敏感条件改变,很容易体现出某些高频特征。 CPU 的主频已经到 1.7GHz,远超过微波频率下限,但仍然属于数字电路。正因为这些不确定性,使的 PCB 设计异常重要。
在许多情况下,电路中的无源元器件,均可等效为特定规格的传输线或微带线,并可用双传输线理论及其相关参量去描述。
总之,可以认为双传输线理论是在综合所有电子电路特征基础上诞生的。因此,从严格意义上说,如果设计实际中的每一环节,首先以双传输线理论所体现的概念为原则,那末相应的 PCB 电路所面临的问题就会很少(无论该电路是在什么工作条件下应用)。
(二)双传输线与微带线构造简介
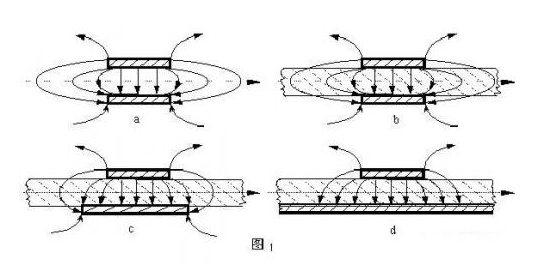
1 微波双线的 PCB 形式
微带线是由微波双线在特定条件下的具体应用。图 1-a. 即为微波双线及其场分布示意图。在微波级工作频率的 PCB 基板上,可以构成常规的异面平行双线(图 1-b. 所示)或变异的异面平行双线(图 1-c. 所示)。当其中一条状线与另一条状线相比可等效为无穷大时,便构成典型的微带线(如图 1-d. 所示)。从双传输线到微带,仅边缘特性改变,定性特征基本一致。
注:在许多微波 论述中,均仅仅描述由常规均匀圆柱形导体构成的双传输线,对 PCB 电路的双线描述则以矩形条状线为常规双传输线。
2微带线的双线特征

图 2-a. 为常规微波双线的场分布示意图。图 2-b. 为 PCB 条状线场分布示意图。图 2-c. 为带有有限接地板的
微波双线场分布示意(注:图中双线之一和接地板连通)。图 2-d 为具有相对无穷大接地板之双线场分布示意(注:
图中双线之一和接地板连通)。
图 3-a. 为典型偶模激励耦合微带线场分布示意。图 3-b. 为典型奇模激励耦合微带线场分布示意。
从图 1 、图 2 、图 3 所示场分布状态看,双线与微带线(包括耦合微带线)特性仅仅为边缘特性的不同。
四.PCB 平行双线中的电磁波传输特性
(一)分布参数概念与双传输线
对于集中参数电路,随着工作频率的提高,电路中的电感量和电容量都将相应减少,如图 4 所示的振荡回路。
当电路中电感量小到一定程度,将使线圈等效为直线(图 4-b.);当电容量小到一定程度,将由导线间分布电容所替代(图 4-c.)。
由上述定性描述得如下高频电路设计原则:
● 当工作频率较高时,集中参数将转化为分布参数,并起主导作用。这是微波电路的主要形式。
● 在分布参数 PCB 电路中,沿导线处处分布电感,导线间处处分布电容。
● 在高频 PCB 电路设计中,注意元器件标称值与实际值的离散性差别是相对于工作频率而定的。
● 由图可知,PCB 条状双线就是具有分布参数之电路的简单形式,除了可以传输电磁能外,还可作为谐振回路使用。
(二)PCB 条状双线分布参数的等效方式
通常将一段双线导线分成许多小段(例如每段长度 1cm),然后将每段双导线所具有的分布电感与电容量表示为集中参数形式,如图 5 所示。图中 b 线,可以是 PCB 上与 a 同面并行之走线或地线,也可以是异面并行之走线,为便于解释,这里指空气中两并行线。
在双线传输分析上,常将介质损耗忽略(即 R1《《ωL1,G1《《ωC1),然后等效为图 5 所示的“无耗传输线”形式(即忽略电磁波衰耗)。根据电磁场理论,可知每 1cm 的条状双传输线电感量与电容量分别为:
L1≈ (μ/π)ln(2D/d)(H)
C1≈πε/ln(2D/d) (F)
式中,μ=线间介质磁导率(H/cm)。当介质为空气时,μ=μ0=4×E-5(H/cm);ε=线间介电常数。当介质为空气时,ε=ε0=8.85×E-10;D=双线间距;d=PCB 线厚度或宽度(具体定义详见后续说明)。
综合上述的设计概念如下:
● PCB 中,可分别近似认为 d 为铜皮宽度(对电感)或铜皮厚度(对电容),前提是对无接地板的同面双线。对于异面平行双线时,D 为 PCB 厚度,d 为线宽。
● 工作于高频状态两层以上 PCB 设计中,不仅要考虑同面走线间的分布参数,也需考虑异面走线间的分布参数,而且更为重要(具接地板的 RF-PCB 电路则属于另外的分析方式棗参见后续)。
(三)电磁波在 PCB 条状双线上的传输特点
图 3 所示的 PCB 条状双线等效电路中,在直流电源接入瞬间,从左到右,电压和电流是以依次向相邻电容充电,然后向次级电容放电的过程形式传播的,称为电流行波。
若将图 6 中电源换为简谐规律的交流源,可以推知,将有一电压行波从左至右传播。沿线电压值与时间位置均有关。这种电压行波,在工作波长与所考察传输线长度可比拟时,是较为明显的。
有电压必有电场,有电流必有磁场,所以沿线电场与磁场是以简谐规律沿传输线传播的。
综上所述,可知道微波级高频电路之 PCB 特征如下:
● 当 PCB 走线与工作波长可相比拟时,电压和电流从一端传到另一端的形式已不是电动势作用下的电流规律,而是以行波形式传播,但不是向周围辐射。
● 行波的能量形式,体现为电磁波形式,而且在导体引导下沿线传播。工作频率越高,电磁波能量形式越明显,通常意义下的集中参数器件之处理功能越弱。
● 必须明确:当频率足够高时,PCB 走线开始脱离经典的欧姆规律,而以“行波”或电磁波导向条形式体现其在电路中的功能。
(四)行波的传播特性
1.入射波与反射波
对于理想的“无耗传输线”(忽略损耗),在简谐波作用下,可推出 PCB 传输线上瞬时电流波表达式为:
i(t , z) = Acos(ωt-βz)-cos(ωt+βz)
式中,t=传播时刻;z=传输线上位置(距起端距离);A、B=与激励信号幅度及终端负载有关的常数(入射波与反射波幅度);ω=相角;β=相移常数。
由瞬时电流波表达式可知,在简谐波激励下,PCB 传输线上电流为两个简谐波电流的代数和。分别对式中两项作函数图,可知: 项电流为随时间沿+Z 方向(由电源到负载)的电流波;第二项为随时间沿 -Z 方向(由负载到电源)传输的电流波。前者称为入射电流波,后者称为反射电流波。
即:稳态过程中,PCB 传输线上的电流是线上向相反方向传播的两个波叠加之结果。
2.关系常数简介
α=衰减常数。若考虑 PCB 传输线损耗,则α≠0。
β=相移常数。其为电磁波沿 PCB 传输线传播单位长度的相移,与波长有关系:β=2π/λ。参照图 2,又有关系:
γ=传播常数。考虑 PCB 传输线损耗时,波的衰减常数α与相移常数β的变量和,即:γ=α+jβ
Vp=相速,行波等相位点的传播速度。相速与β、ω间存在关系:vp=ω/β。
当电磁波传播方向是与 Z 方向平行,则有 Vp=Vc(Vc 表示光速)。可以推出:
在空气介质中则有
综上所述,可以推知高频电路及其 PCB 设计原则如下:
● 分布参数电路不仅仅体现在集中参数向分布参数的转化,更重要的是 PCB 电路的信号处理与传输,都开始部分地遵循电磁波的固有特性。工作频率越高,这种特性越突出。
● 反射波概念是提高电路输出功率或效率的根本概念,否则将导致与设计不符的一系列问题。
● 分布参数的考察,涉及电磁波理论中的一些基本物理定义,认真掌握这些物理定义在电路中的体现及计算方式,是解决设计实际的根本手段之一。
● 微波级高频电路 PCB 带装线的分布参数特性,可以通过一些关系常数所体现的表达式表征,并通过这些常数达到 PCB 设计目的。
上一篇:PCB射频电路特性梳理