时间:2020-03-25 08:46
人气:
作者:admin
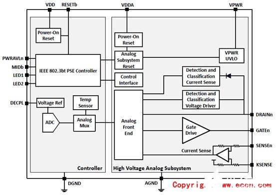
Silabs公司的Si3471是完全自主以太网供电(PoE)的供电设备(PSE)器件.完全和IEEE 802.3bt兼容,并和 IEEE 802.3af与802.3at兼容.最适合用于PSE中跨和不需要主MCU的集电器.Si3471集成了IEEE要求的供电设备(PD)检测和分类功能的以太网端口.此外,它还具有采用DC检测算法和功能强大的多点检测算法的供电设备(PD)断开.智能保护电路包括输入欠压检测,输出电流限制和短路保护.Si3471能自主工作,不需要外接主MCU或MCU控制,所有的电源重置和欠压复位电路都在器件内部.工作温度–40℃ 到+85℃,38引脚 5 x 7 mm QFN封装(RoHS兼容),主要用在IEEE 802.3af, 802.3at和802.3bt供电设备(PSE),以太供电集电器,单端口中跨,以太网交换机供电,IP电话系统,智能电网交换,加固和工业交换. 中电网为您整理如下详细资料,本文介绍了Si3471A主要特性,功能框图,应用框图以及90W以态网端口评估板EVB主要特性,包括基板和子板的电路图表,材料清单和PCB设计图.
The Si3471 is a fully autonomous Power over Ethernet (PoE) Power Sourcing Equipment (PSE) device. It is fully IEEE 802.3bt compliant and compatible with IEEE 802.3af and 802.3at. It is optimized for use in PSE mid-spans and injectors that do not require a host or MCU. The Si3471 integrates one Ethernet port with the IEEE-required powered device (PD) detection and classification functionality. In addition, it features powered device (PD) disconnect using dc sense algorithms and a robust multipoint detection algorithm. Intelligent protection circuitry includes input undervoltage detection, output current limit, and short-circuit protection. The Si3471 works autonomously and does not require a host or MCU to program it. The Si3471 is programmed for maximum available power by pulling its configration pins high or low.
The Si3471 operates autonomously, without any external host or MCU control. All power on reset and brownout reset circuitry is internal.
Upon VDD and VDDA being applied, an internal pull up sets the RESETb pin high, releasing the Si3471 from reset. The Si3471 thenreads the PWRAVL pins and configures itself to grant the maximum class set by the PWRAVL pins. The multi-point detection algorithmruns until a valid PoE PD signature is detected and then proceeds with classification. If the Si3471 is configured to grant the class thePD requests, it internally sets the current limit to the class requested by the PD and proceeds to grant power. Otherwise, the Si3471follows the IEEE 802.3bt specification for power demotion. The Si3471 automatically detects when a PD disconnects and restarts thedetection process, continuously looking for a valid detection signature. If any error or fault condition occurs, the Si3471 removes powerfrom the PD and automatically restarts the detection process.
The Si3471 includes an LED pin for driving a status indicator LED. If a status LED is not used, then the pin can be left floating. The LEDoperation is shown in the table below and is not configurable.
Si3471A主要特性:
• Single Ethernet port PoE Power SourcingEquipment (PSE) device
• IEEE 802.3bt compliant
• IEEE 802.3af and 802.3at compatible
• Multi-point detection
• Comprehensive fault protection circuitryincludes:
• Power undervoltage lockout
• Output current limit and short-circuitprotection
• Thermal overload detection
• Operating temp range: –40℃ to +85℃
•38-pin 5 x 7 mm QFN package (RoHScompliant)
Si3471A应用:
• IEEE 802.3af, 802.3at, and 802.3bt Power Sourcing Equipment (PSE)
• Power over Ethernet Injectors
• Single Port Mid-Spans
• Power over Ethernet Switches
• IP Phone Systems
• Smartgrid Switches
• Ruggedized and Industrial Switches

图1.Si3471功能框图

图2.Si3471典型802.3bt应用框图

图3.Si3471典型802.3bt中跨应用框图
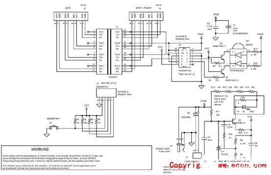
90W以态网端口评估板EVB
Si3471 Single 90 W Ethernet Port EVB
The Si3471 is a fully autonomous 802.3bt PSE capable of supplying 90 W on a single PoE Ethernet port. Three static I/O pins configure the maximum power the Si3471 will grant to a connected PD. The Si3471 includes a built-in LED driver to indicate the status of the PoE Ethernet port.
Configured as a single Ethernet port mid-span, the Si3471 EVB provides easy access to all Si3471 features. The compact design includes a two-layer daughtercard and a twolayerbaseboard. Both are excellent starting points for new Si3471 designs.
90W以态网端口评估板EVB主要特性:
• Adds 90 W PoE to a non-poweredEthernet cable
• Configurable max power output andaccess to Si3471 features
• Small, simple, two layer PCBs
• Only 1.8 x 3.25 inches, 46 x 83 mm
• IEEE 802.3bt compliant
• 54 V, 90 W power supply included
图4.90W以态网端口评估板EVB外形图
图4. Si3471 EVB子板外形图
图5. Si3471 EVB基板外形图

图6.子板电路图

图7.基板电路图

图8.子板PCB设计图:顶层丝印

图9.子板PCB设计图:底层丝印
图10.子板PCB设计图:顶层布局
图11.子板PCB设计图:底层布局

图12.基板PCB设计图:顶层丝印
图13.基板PCB设计图:顶层布局
图14.基板PCB设计图:底层布局
Si3471子板材料清单:

Si3471母板材料清单:
