全球最实用的IT互联网信息网站!

AI人工智能P2P分享&下载搜索网页发布信息网站地图

当前位置:诺佳网 > 电子/半导体 > RF/无线技术 >

HMC960LP4E数控VGA

时间:2022-04-18 10:54

人气:

作者:admin

标签: 数控VGA 

导读:HMC960LP4E的外部控制共模输出特性使其具有灵活的输出接口,能与信号路径上的其他器件对接。 通过并行接口(GC[6:0])或读/写串行端口(SPI),可控制增益...

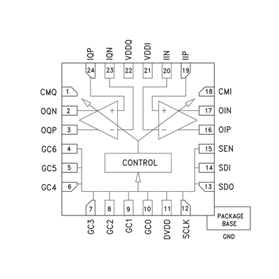
HMC960LP4E是一款数字可编程双通道可变增益放大器。 该器件支持0到40 dB分立式增益步进,步长为精确的0.5 dB。 该器件采用无毛刺架构,具有出色的平滑增益跃迁性能。 器件的匹配增益路径提供宽信号带宽内出色的正交平衡。

HMC960LP4E提供SPI可编程输入阻抗(默认为100Ω差分或400Ω差分)。

HMC960LP4E的外部控制共模输出特性使其具有灵活的输出接口,能与信号路径上的其他器件对接。 通过并行接口(GC[6:0])或读/写串行端口(SPI),可控制增益。

HMC960LP4E采用紧凑型4x4mm (LP4) SMT QFN封装,只需极少的外部元件,为更复杂的开关放大器架构提供了一种低成本替代解决方案。

pYYBAGJbh-iAOgUbAAD-Lrfv0r0227.pngHMC960LP4E


低噪声: 6 dB NF
高线性度: 输出IP3 +30 dBm
可变增益: 0至40 dB
高带宽: DC至100 MHz
精确增益精度:
0.5 dB增益步进
出色的幅度和相位响应
外部控制共模输出电平
并行或串行增益控制
读/写串行端口接口(SPI)
24引脚4x4 mm SMT封装16 mm²
可编程输入阻抗(400Ω差分或100Ω差分)


应用

基带I/Q收发机
直接变频和低中频收发机
分集接收机
ADC驱动器
自适应增益控制


ADRF6521ACPZ AD8368ACPZ-REEL7
ADL5246ACPZN-R7 AD8337BCPZ-REEL
AD8338ACPZ-R7 ADL5330ACPZ-REEL7
AD8367S AD8335ACPZ
HMC6187 AD8331ARQZ
HMC996 AD8351ACPZ-R7
HMC997 AD8330ACPZ-R7
AD8264ACPZ AD8332ACPZ-R7
ADL5331ACPZ-R7 AD8367ARUZ
LTC6412CUF#PBF AD604ARZ
HMC694-Die AD605ARZ
HMC694LP4 AD603ARZ
AD8336ACPZ-R7 AD600JRZ
AD8334ACPZ AD602JRZ

温馨提示:以上内容整理于网络,仅供参考,如果对您有帮助,留下您的阅读感言吧!
相关阅读
本类排行
相关标签
本类推荐

CPU | 内存 | 硬盘 | 显卡 | 显示器 | 主板 | 电源 | 键鼠 | 网站地图

Copyright © 2025-2035 诺佳网 版权所有 备案号:赣ICP备2025066733号
本站资料均来源互联网收集整理,作品版权归作者所有,如果侵犯了您的版权,请跟我们联系。

关注微信