全球最实用的IT互联网信息网站!

AI人工智能P2P分享&下载搜索网页发布信息网站地图

当前位置:诺佳网 > 电子/半导体 > RF/无线技术 >

HMC742ALP5E数控VGA

时间:2022-05-05 17:24

人气:

作者:admin

标签: VGA 

导读:HMC742ALP5E是一款数字控制可变增益放大器,工作频率范围为70 MHz至4 GHz,可通过编程提供-19.5 dB衰减至12 dB增益,步进为0.5 dB。 HMC742A在最大增益状态下的噪声系数为4 dB,任意状态下的输出...

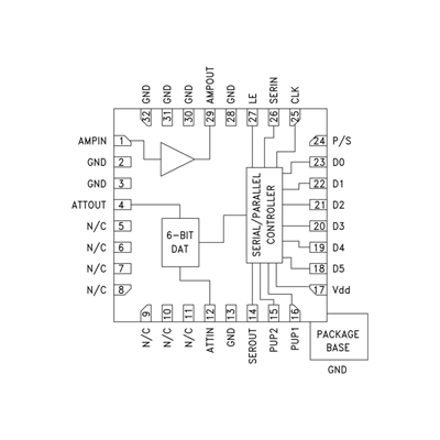
HMC742A是一款数字控制可变增益放大器,工作频率范围为70 MHz至4 GHz,可通过编程提供-19.5 dB衰减至12 dB增益,步进为0.5 dB。 HMC742A在最大增益状态下的噪声系数为4 dB,任意状态下的输出IP3最高为+39 dBm。 双模增益控制接口支持三线式串行输入或6位并行字。 HMC742A还提供用户可选上电状态和串行输出,从而级联其他Hittite串行控制元件。 HMC742A采用符合RoHS标准的5x5 mm QFN无铅封装,同时只需极少量的外部元件。

pYYBAGJwqlqAW-GTAADxR-ql9x4442.pngHMC742ALP5E


-19.5至12 dB增益控制,0.5 dB步进
上电状态选择
高输出IP3: +39 dBm
兼容TTL/CMOS
串行、并行或锁存并行控制
增益步进误差:±0.25 dB(典型值)
+5V单电源
32引脚5x5mm SMT封装: 25mm²


应用

蜂窝/3G基础设施
WiBro / WiMAX / 4G
微波无线电和VSAT
测试设备和传感器
IF和RF应用


ADL5206ACPZ ADL5243ACPZ-R7
ADL6316ACCZ ADL5336
ADL6317ACCZ HMC960
ADL5335ACPZN HMC680
HMC625B AD8432ACPZ-R7
ADL5205 LT5554IUH#PBF
ADA8282WBCPZ AD8260ACPZ-R7
HMC8120 AD8372ACPZ-R7
HMC8121 AD8375ACPZ-R7
ADA4961ACPZN-R7 AD8376ACPZ-R7
HMC627A HMC628
HMC681A LT5524EFE#PBF
HMC742A LT5514EFE#PBF
ADL5201 AD8370AREZ
ADL5202 AD8369ARUZ
ADL5240ACPZ-R7

温馨提示:以上内容整理于网络,仅供参考,如果对您有帮助,留下您的阅读感言吧!
相关阅读
本类排行
相关标签
本类推荐

CPU | 内存 | 硬盘 | 显卡 | 显示器 | 主板 | 电源 | 键鼠 | 网站地图

Copyright © 2025-2035 诺佳网 版权所有 备案号:赣ICP备2025066733号
本站资料均来源互联网收集整理,作品版权归作者所有,如果侵犯了您的版权,请跟我们联系。

关注微信