全球最实用的IT互联网信息网站!

AI人工智能P2P分享&下载搜索网页发布信息网站地图

当前位置:诺佳网 > 电子/半导体 > RF/无线技术 >

HMC920LP5E有源偏置控制器

时间:2022-04-16 15:03

人气:

作者:admin

标签: 控制器 

导读:HMC920LP5E是一款有源偏置控制器,可生成调节漏极电压并主动调节外部放大器的栅极电压,实现恒定偏置电流。 该器件可用来偏置任何工作在A类的增强型和耗尽型放大器,漏极电压(VDR...

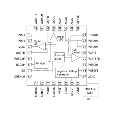
HMC920LP5E是一款有源偏置控制器,可生成调节漏极电压并主动调节外部放大器的栅极电压,实现恒定偏置电流。 该器件可用来偏置任何工作在A类的增强型和耗尽型放大器,漏极电压(VDRAIN)范围为3V至15V,漏极电流(IDRAIN)最高500mA,提供完整的偏置解决方案。

HMC920LP5E在电源、温度和工艺变化范围内具有出色的偏置稳定性,无需通过校准来防止这些变化所导致的RF性能下降。

HMC920LP5E采用符合RoHS标准的5x5 mm QFN无引脚封装,具有裸露背板焊盘,可改善热特性。

pYYBAGJaZrOADoTbAAEzuDpuq90869.pngHMC920LP5E


单正电压电源(5V至16.5V)
可调漏极电压:3V至15V
可调漏极电流:最高500mA
有源偏置电流调节
温度和工艺变化以及老化过程中具有稳定的偏置电流
自动上电时序控制
32引脚5x5mm SMT封装: 25mm²

应用

蜂窝基站
无线基础设施设备
微波无线电和VSAT
军事和太空
测试仪器仪表


AD7293BCPZ
HMC980
HMC980LP4E
HMC981
HMC981LP3E
HMC920LP5E

温馨提示:以上内容整理于网络,仅供参考,如果对您有帮助,留下您的阅读感言吧!
相关阅读
本类排行
相关标签
本类推荐

CPU | 内存 | 硬盘 | 显卡 | 显示器 | 主板 | 电源 | 键鼠 | 网站地图

Copyright © 2025-2035 诺佳网 版权所有 备案号:赣ICP备2025066733号
本站资料均来源互联网收集整理,作品版权归作者所有,如果侵犯了您的版权,请跟我们联系。

关注微信