全球最实用的IT互联网信息网站!

AI人工智能P2P分享&下载搜索网页发布信息网站地图

当前位置:诺佳网 > 电子/半导体 > RF/无线技术 >

HMC1023LP5E基带可编程VGA滤波器

时间:2022-05-05 15:25

人气:

作者:admin

标签: 滤波器 

导读:HMC1023LP5E是一款6阶、可编程带宽、完全校准、双通道低通滤波器。 它具有可编程的0至10 dB增益并支持5 MHz至72 MHz范围的任意带宽。...

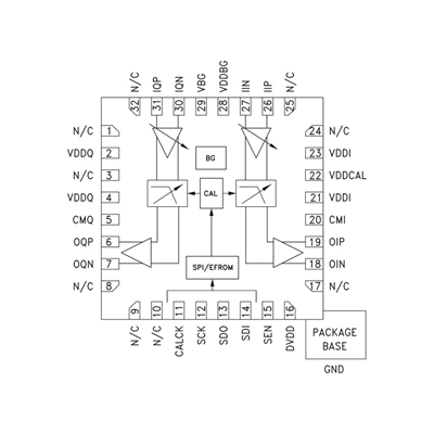
HMC1023是一款6阶、可编程带宽、完全校准、双通道低通滤波器。 它具有可编程的0至10 dB增益并支持5 MHz至72 MHz范围的任意带宽。 校准时,带宽精确至+/-2.5%。 内置滤波器旁路选项提供更宽的带宽,同时保持可编程增益和共模控制设置。

集成的ADC驱动器、可编程输入阻抗、2 Vppd信号时0.9 V至3 V的可调输出共模电压或较低信号摆幅时低于0.9 V共模电压,均支持简单的接口,同时实现高性能。 可编程偏置设置可针对每个应用优化性能和功耗权衡考量。

滤波器校准采用20至80 MHz的参考时钟速率。 一次可编程(OTP)存储器具有很大的灵活性,允许用户“一次性设置”增益、带宽等参数。


6阶巴特沃兹传递函数具有出色的阻带抑制性能,同时保持平坦的通带和最低群延迟变化。

poYBAGJx5yGAG1sxAAEA9bZPSM4567.pngHMC1023LP5E

低噪声系数: 10 dB
高线性度:
带内输出IP3 > +30 dBm
带内输出IP2 > +60 dBm
预编程和/或可编程带宽:
5 MHz至72 MHz。 (请参考HMC1023LP5E订购信息)
出色的3 dB带宽精度
可编程增益:
0或10 dB
集成ADC驱动放大器
自动滤波器校准
外部控制共模输出电平
滤波器旁路选项
引脚和寄存器兼容HMC900LP5E
读/写串行端口接口(SPI)
32引脚5x5 mm SMT封装25 mm²

应用

点对点固定无线收发器和蜂窝基础设施收发器的数据转换器前后的基带滤波
软件定义无线电应用
抗混叠和重构滤波器
测试与测量设备
ADC驱动器应用


ADAQ8088

ADRF6520

ADRF6518

HMC1023

ADRF6516

ADRF6510

HMC900

温馨提示:以上内容整理于网络,仅供参考,如果对您有帮助,留下您的阅读感言吧!
相关阅读
本类排行
相关标签
本类推荐

CPU | 内存 | 硬盘 | 显卡 | 显示器 | 主板 | 电源 | 键鼠 | 网站地图

Copyright © 2025-2035 诺佳网 版权所有 备案号:赣ICP备2025066733号
本站资料均来源互联网收集整理,作品版权归作者所有,如果侵犯了您的版权,请跟我们联系。

关注微信