时间:2022-08-15 15:23
人气:
作者:admin
许多专家预测,传感器和执行器等智能对象网络在节点数量方面的增长速度将远快于以 IT 为中心的网络。显然,我们在 Wi-Fi 中为以计算机为中心的家庭数据网络制定了事实上的标准,并且也有可以传输计算机数据的电力线、电缆和电话线网络。缺少的是具有轻量级协议的成本低得多的网络,可以在从洗衣机到恒温器到音乐播放器等娱乐设备的各种设备中实施。
现在看来,业界正朝着 6LoWPAN(低功率无线个人区域网络上的 IPv6)协议发展,作为公司和行业组织(例如 IPSO(智能对象互联网协议)联盟)支持该技术的网络标准。使嵌入式处理节点可以通过 Internet 直接访问。虽然在广泛部署之前有一些问题需要解决,但设计团队现在可以开始使用现成的微控制器 (MCU) 和软件堆栈来开发基于 6LoWPAN 的产品。
IEEE 802.15.4 网络
ZigBee 无线网络已准备好用于家庭自动化,尽管它在商业和工业应用中取得了更大的成功。ZigBee 依赖于 IEEE 802.15.4 标准,该标准定义了可以在 sub-1-GHz 或 2.4-GHz 频段运行的无线网状网络。术语网格意味着网络上的所有节点不必与中央接入点直接接触或在其范围内。网络上的每个设备都充当转发器,重新传输数据包。
然而,802.15.4 标准只定义了位于网络堆栈底部的物理层和媒体访问层。它不包括网络协议或更高级别特征的定义,这些特征可能包括特定于应用程序的元素,例如用于管理 HVAC 系统和恒温器的应用程序层协议。
ZigBee 社区在 802.15.4 之上添加了自己的协议层。此外,ZigBee 中现在还针对特定类型的应用(例如 HAVC 控制)制定了标准。但 ZigBee 不会将网络节点直接暴露给 Internet。您当然可以将 ZigBee 网络桥接到数据网络,并允许通过 Internet 进行远程访问。但这种支持并不是 ZigBee 所固有的。
6LoWPAN 的努力植根于向任何需要的设备证明基于 IPv6 的全球唯一 IP 地址,从而使智能对象能够直接连接到 Internet。十年前,许多人担心我们会用完计算机的 32 位 IPv4 地址,当然 IPv4 永远不会支持连接智能对象的预期冲击。IPv6 使用 128 位地址字段,可以支持 3.4x10 38 个唯一设备。IPv6 和 6LoWPAN 对于将日常设备连接到 Internet 至关重要。
6LoWPAN 协议设计用于 802.15.4 网络之上,这是近期的主要使用模式。肯定会有将 6LoWPAN 和 ZigBee 集成在一起的实现。谷歌正在开发一个更简单的低于 1GHz 频段的网状网络,它可能会在开源基础上提供,作为其 Android@Home 计划的一部分。据推测,6LoWPAN 将是该 Google 网络的首选协议。
6LoWPAN 入门
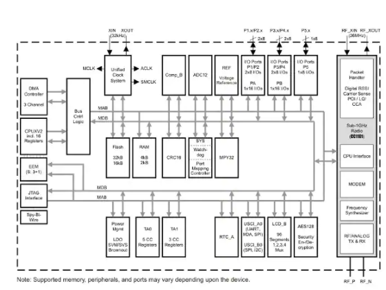
有现成的 MCU 和软件堆栈可支持 802.15.4 网络的 6LoWPAN 开发。例如,德州仪器(TI) 最近发布了一些 IC,这些 IC 被归类为集成了基于 MPS430 的 MCU 和无线收发器的片上系统产品。CC430F5137 _和CC430F6137(图 1)都包括一个 16 位 MPS430 内核、32 KB 闪存、4 KB RAM、一个 12 位 A/D 转换器、用于安全的 AES-128 加密引擎和其他各种外围设备。图 1 描述了架构。CC430F6137 将 LCD 驱动器添加到外设组合中。TI 提供由 Sensinode 开发的称为 NanoStack 的 6LoWPAN 堆栈。

图 1:Texas Instruments 的 CC430F5137 和 CC430F6137 IC 将基于 MPS430 的 MCU 与低于 1GHz 的 802.15.4 收发器相结合,后者增加了 LCD 驱动器。
这两款 TI IC 都集成了一个收发器,本质上是CC1101 sub-1GHz 收发器,该公司也将其作为独立 IC 销售。收发器包括一个 CPU 接口、数据包处理器、调制解调器和合成器。该收发器可在 315、433、868 和 915 MHz 频段运行,使其可用于世界上大多数国家的 ISM(工业、科学和医疗)分配频谱。
Atmel 是另一家支持 6LoWPAN 的供应商。ATMEGA128RFA1系列的 IC 结合了 8 位 AVR 系列 MCU、128 KB 闪存和 2.4 GHz 频带 802.15.4 收发器。该公司拥有自己的 6LoWPAN 堆栈,称为 RUM(MAC 下的路由)。此外,Atmel 还提供 ATAVR128RFA1-EK1 开发套件,您可以使用它来试验基于 802.15.4 的设计。该套件包括一对基于 ATMEGA128RFA1 MCU 的板。Digi-Key 还提供专注于 ATMEGA128RFA1 无线 MCU 的产品培训模块,设计人员可以查看该模块以了解 IC 的全部功能。
恩智浦半导体不仅提供支持 6LoWPAN 的产品,还在 2011 年 10 月 12 日举行的名为“物联网”的 IPSO 联盟活动中提供了该技术的公开演示。演示包括控制支持 6LoWPAN 的灯和电源的 Android 和 iPad 平板电脑插座以及基于 6LoWPAN 的专用显示和控制面板。
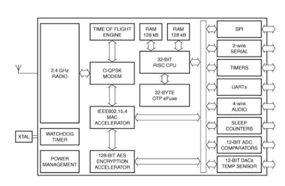
恩智浦目前通过JN5148 IC支持 6LoWPAN,该 IC集成了 32 位 RISC 处理器和 2.4-GHz 无线电(图 2)。该公司有一个名为 JenNet-IP 的基于 6LoWPAN 的软件堆栈,它为基本的 6LoWPAN 协议添加了一些管理功能。

图 2:NXP 在 JN5148 无线 MCU 中集成了一个 2.4GHz 收发器,并通过其 JenNet-IP 软件堆栈提供 6LoWPAN 支持。
在许多错误的开始之后,也许 6LoWPAN 可以真正推动家庭自动化网络向前发展。该技术当然可以为消费者提供便利。通过对 HAVC 系统、照明、主要电器和其他设备的程序控制,它可以实现真正的节能。此外,还有一长串对该领域感兴趣的大公司,包括这里提到的那些以及 IPSO 联盟成员的深厚名册。而谷歌的兴趣冷冷地推动了事情的发展。对于嵌入式设计团队来说,最好的消息是启动基于 6LoWPAN 的设计所需的工具现在就在这里,并且可以通过软件支持轻松获得。