时间:2022-08-18 15:38
人气:
作者:admin
由于尺寸、成本和速度方面的考虑,便携式应用中的射频功率开关对于机电开关来说是一项挑战。虽然 PIN 二极管相对于 CMOS 开关和 MEMS 结构等其他非机械选项具有一些独特的优势,但除非清楚地了解它们的特性,否则它们很难设计到电路中。
本文将介绍射频开关的挑战并描述 PIN 二极管工作的基础知识。然后,它将展示如何使用 PIN 二极管进行设计,然后提供一些真实的 PIN 二极管示例来展示该技术的进步。
射频开关挑战
在许多应用中,需要切换射频信号路径以路由和连接到不同的天线、放大器和滤波器。随着 MIMO、多频带无线设备 (5G) 和其他先进技术的发展,尤其是便携式和电池供电设备的发展,对更多开关和更高性能的需求只会越来越大。
由于这些开关必须工作在千兆赫兹甚至更高的频率范围内,因此它们没有什么是简单的:它们的设计、底层技术、PC 板上的布局,或者将它们的性能与应用优先级相匹配。
这些技术中的每一种都在带宽、插入损耗、隔离、开关速度和功率处理等关键性能参数上进行了权衡(图 1)。
(注:“混合”开关结合了 PIN 二极管和基于 FET 的组件。)

图 1:基于 PIN 二极管、FET 和混合器件的固态组件以及机电实现的射频开关的一般属性。(来源:是德科技)
如图 2 所示,三类固态开关的代表性最大值和最小值涵盖了广泛的重叠范围。由于其 IC 设计和易用性以及巨大的智能手机、路由器和其他应用对射频开关的需求。结果,供应商发布了许多具有改进规格的新 FET 器件,导致表格中的比较属性和数字发生变化。

图 2:三组固态射频开关元件的频率上限和下限。新产品和增强功能意味着这些数字不断变化。(来源:是德科技)
PIN二极管基础知识
PIN 二极管在无线电和微波频率下充当电流控制电阻器。与传统的 PN 二极管一样,它在正向偏置时允许电流沿一个方向流动,但在反向偏置时不允许在另一个方向上流动。此功能是跨越 DC 到 RF 的许多电路的简单而关键的功能块。
然而,与 PN 二极管不同的是,PIN 二极管在其 P 层和 N 层之间有一个“本征”层。虽然设备的物理特性很复杂,但其结果是一个带有扭曲的可控开关动作。当 PIN 二极管正向偏置时,它允许射频能量流动,而当反向偏置时,它阻止射频能量。这是在各种射频开关拓扑中使用 PIN 二极管的基础。
当正向偏置时,PIN 二极管的电气模型看起来像一个与电阻器串联的电感器。当反向偏置时,它看起来像一个与并联电容器和电阻器串联的电感器(图 3)。这些模型中无源元件的具体值取决于 PIN 二极管模型。

图 3:正向偏置(左)和反向偏置(右)时的 PIN 二极管模型,其中 R s是正向偏置时二极管的(低)电阻;L 是寄生电感(很大程度上是封装的函数);C T为二极管结电容与封装寄生电容之和;R p是反向偏置时二极管的(高)电阻。(来源:是德科技)
一般来说,PIN 二极管提供非常好的线性度,可用于非常高频率和高功率的应用。它们的缺点是偏置所需的大量直流功率(施加的直流功率越高,插入损耗越低)。此外,它们的隔离性能规格难以确定,并且需要精心设计的支持电路。
为什么 PIN 二极管难以使用
这是一个看似简单的结构,这就引出了一个问题:为什么 PIN 二极管使用起来如此具有挑战性?原因很简单。它是一个两端设备,因此,偏置所需的控制端口和射频信号端口是同一个物理点。因此,设计必须允许它们在二极管处“合并”,同时保持它们与电路的其余部分隔离。因此,工程师们对使用 PIN 二极管的看法很复杂,因为它们不是最容易使用的开关选项,但它们可以做其他选项无法做到的事情。
使用 PIN 二极管
二极管本身并不是一个完整且有用的开关,因为它只是核心开关元件。至少,基于 PIN 二极管的射频开关需要一个隔直电容来防止直流偏置电流到达射频输出,还需要一个射频扼流圈来为直流偏置电流返回提供路径,同时阻断射频信号。
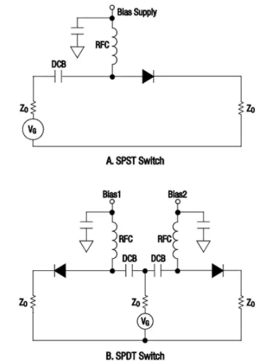
可以使用串联或并联拓扑构建可以通过或切断射频信号的基本单刀单掷射频开关。串联方法可在较宽的频率范围内提供最小的插入损耗(图 4)。这种配置可以在很宽的带宽上工作,但受偏置电感器和隔直电容的限制。它可以扩展为单刀双掷配置,其中源信号可以路由到两个端口之一。

图 4:串联模式下使用的 PIN 二极管,用于 a) 基本 SPST 开关和 b) SPDT 开关,其中 V G是射频发生器电压。(来源:Skyworks Solutions, Inc.)
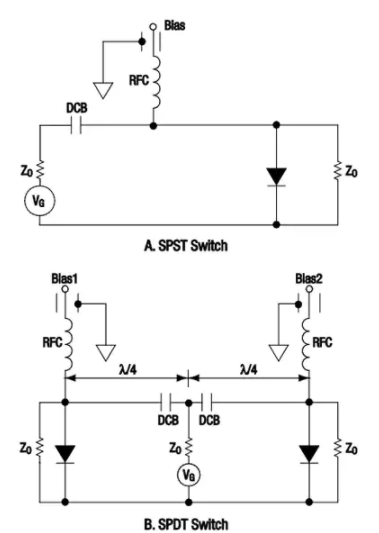
同样,分流二极管开关可用于基本的 SPST 和 SPDT 功能(图 5)。分流方法提供高隔离,并且由于二极管可能在一个电极上散热,它能够处理比串联拓扑中的二极管更多的射频功率。一些设计在二极管和它的隔直电容之间增加了一个四分之一波传输线,为低通滤波器创建集总串联电感。这使开关能够工作到所需的频率。

图 5:分流模式中使用的 PIN 二极管,用于 a) 基本 SPST 开关和 b) SPDT 开关。注意添加四分之一波长传输线以形成低通滤波器。(来源:Skyworks Solutions, Inc.)
使用并联或串联拓扑,使用单个 PIN 二极管实现优于 40 dB 的隔离具有挑战性,尤其是在更高的工作频率下。通过在所谓的复合开关中使用串联和并联二极管的组合,可以在一定程度上克服这些限制。
PIN 二极管配置为 ELL(串联并联)或 TEE(并联串联)拓扑(图 6)。在复合开关中,插入损耗状态是串联二极管正向偏置而并联二极管处于零偏置或反向偏置时。对于隔离状态,情况相反。请注意,复合开关的偏置电路比简单的串联或并联开关所需的更复杂。

图 6:在基本 SPST 开关的复合拓扑中使用串联和并联模式,以最大限度地提高所需性能,同时最大限度地减少 a) ELL 和 b) TEE 配置中的非预期规格(为清楚起见,未显示支持组件)。(来源:Skyworks Solutions, Inc.)
另一种提高隔离性能的更复杂的方法是使用谐振结构来创建调谐开关(图 7)。在这里,两个串联或两个分流二极管间隔一个波长,产生的隔离值比单个二极管开关所能提供的高 3 dB。

图 7:谐振结构使用二极管之间的四分之一波长间隔作为滤波器元件,可用于在 a) 串联和 b) 并联模式中创建调谐开关。(来源:Skyworks Solutions, Inc.)
偏置 PIN 二极管
控制 PIN 二极管模式所需的直流偏置电压是二极管以及射频信号电平、温度范围和其他因素的函数。该偏置电压必须与射频信号去耦并保持稳定,因为任何噪声或纹波都会影响二极管的工作点。
在大功率情况下使用时,PIN 二极管需要高偏置控制电压,以最大限度地减少射频信号电压摆幅的交叉调制效应。例如,100 W RF 信号在标准 50 Ω 系统中的峰峰值电压为 200 V。控制电压必须大于此值并有足够的余量以防止射频信号的电压影响二极管的电阻并产生失真。
为开关建模
PIN 二极管的静态和动态性能由许多可用的模型和方程来表征。这些捕获基本属性以及这些属性随温度、电压、频率和其他因素的变化。这些数据和相关模型使得非常好的首次通过模拟成为可能。可以以合理的精度确定隔离度、线性度、失真、插入损耗和功耗与频率和功率之间的特性变化。
然而,这些设备模型只展示了部分内容。与所有 RF 设计一样,互连、PC 板效应、EM 场和寄生效应会扭曲模型。设计人员必须尝试将这些整合到他们的仿真模型中,以便更准确地了解 PIN 二极管开关的性能。
宽 PIN 二极管多样性以匹配设计优先级
许多射频元件供应商都提供 PIN 二极管。例如,M/A-COM 的 MA4AGBLP912是一款 AlGaAs PIN 二极管,其“导通”电阻仅为 4 Ω,电容低,开关速度极快,仅为 5 纳秒(图 8)。它可以在高达 40 GHz 的分流配置中使用,低损耗状态的工作偏置为 +10 mA,隔离状态的工作偏置为 0 V,使用简单的 +5 V TTL 栅极驱动器。
微型梁式引线封装的低 R/C 产品和低剖面可最大限度地减少寄生效应,从而降低插入损耗和提高隔离度。对于建模和仿真,供应商提供 Spice 模型参数(图 9)。

图 8:M/A-COM 的MA4AGBLP912 PIN 二极管采用 AlGaAs 材料;它的核心封装是每边的十分之几毫米。(来源:M/A-COM Technology Solutions Inc.)

图 9:供应商提供 PIN 二极管的详细模型,例如MA4AGBLP912 PIN 二极管的 Spice 模型;综合电路仿真需要这些模型。(来源:M/A-COM Technology Solutions Inc.)
Skyworks Solutions的SMP1345系列塑料封装表面贴装 PIN 二极管专为 10 MHz 至 6 GHz 的大容量、低噪声块 (LNB)、无线局域网 (WLAN) 和开关应用而设计。该系列器件具有非常低的电容和低电阻。插入损耗(图 10)和隔离损耗(图 11)的关键性能参数显示,前者变化约为 ±0.2 dB,而后者在 0 至 6 GHz 的 35 dB 范围内变化。

图 10:Skyworks Solutions 的 SMP1345 PIN 二极管的插入损耗在 6 GHz 时相当平坦。(来源:Skyworks Solutions, Inc.)

图 11:SMP1345的隔离性能跨越大约 4 个十倍频程(以 dB 为单位),这是 PIN 二极管的典型特征。(来源:Skyworks Solutions, Inc.)
Broadcom ASML-5829专为低功率限制器应用而设计。它用于防止大输入信号对接收器的损坏,同时允许接收器在没有大信号的情况下正常工作。该器件结合了一个 PIN 二极管和一个肖特基二极管,构成一个低功率限幅器。PIN 二极管位于输入端以保护肖特基二极管免受高射频功率电平的影响(图 12)。因此,与更传统的自偏置 PIN 限幅器相比,肖特基增强型限幅器将具有更低的限幅阈值。与许多 RF 组件数据表一样,它包含 S 参数,用于更全面的 RF 表征和分析(图 13)。

图 12:Broadcom ASML-5829 结合了两个经常一起使用的组件 - PIN 二极管和肖特基二极管 - 以在更小的空间内实现前端限幅器,并具有完全表征的配对性能。(来源:博通有限公司)

图 13:ASML-5829 数据表包括 S11 和 S12 参数与频率的关系,从而可以详细分析其射频性能,此处输入功率水平为 0 dBm(左)和低得多的 -30 dBm(右)。(来源:博通有限公司)
结论
切换和路由射频信号的能力是无线系统中的常见要求。虽然机电开关是多年前用于实现此目的的主要组件,但它们已被基于 PIN 二极管、FET 开关或组件组合的固态解决方案所取代。
由于其速度和隔离潜力,PIN 二极管显然是一种用于各种开关设计的“简单”无源器件。然而,由于它将射频信号路径和直流偏置合并到同一个连接点,因此在评估是使用串联、分流还是组合方法来构建完整的开关时,需要仔细理解和考虑。详细模型的可用性还可以高度准确地表示 PIN 二极管及其在最终电路设计中的使用。