时间:2021-05-02 10:43
人气:
作者:admin
AFBR-1013发射器和AFBR-2013接收器采用4针传递模塑低成本封装,可以组装到符合MOST(面向媒体的系统传输)技术的塑料光纤连接器插座中。提供两种封装选项,一种带有短引线AFBR-1013S / -2013S,另一种带有长引线AFBR-1013L / -2013L。
包装
AFBR-1013发射器和AFBR-2013接收器包装在500毫米长的防静电涂层管中(见图2和3),与防潮剂和指示剂acc。一起放入防潮袋(MBB)中。JEDEC J-STD-33B,用于保护设备内部免受环境湿度的影响。如图1所示的标签表示湿度敏感性。

防静电管中的设备(一根管中有50个设备)
使用寿命和最长存储时间(保质期)
根据JEDEC J-STD-020D,湿度敏感性分类为MSL2a。未打开防潮包装袋的设备可以在温度介于5°C和50°C之间且相对湿度(RH)不超过90%的环境中保存长达12个月。
如果温度不超过30°C且相对湿度(RH)不超过60%,则未包装的设备可以在生产环境中保存长达4周。生产环境中较高的温度会缩短地板寿命,如图2所示。

MSL2a的地板寿命
烘烤
将设备从防潮袋中取出插入并焊接到MOST系统中的时间最长不超过4周时,模具材料中的水分含量应足够低,以确保焊接时的机械应力最小。
如上段所述,如果将设备在生产现场放置超过四个星期,则建议在焊接之前烘烤模块。
静电放电(ESD)保护
ESD事件可能会损坏或降低设备性能。应遵循ESD标准DIN 61340-5-1。应采取以下ESD预防措施。任何较小的ESD预防程序可能都不适合防止ESD损坏。
缩短和引线弯曲
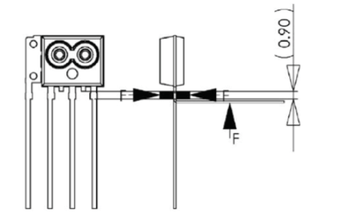
设备的引线一次弯曲一次,最大弯曲角度为90°,距离引线之间的切割引线边缘不小于1毫米。最小弯曲半径为0.25毫米。在导线上施加弯曲力时,必须施加反作用力以确保没有力施加到封装上。有关概述,请参见图6。
弯曲力和反作用力[mm)
编辑:hfy