时间:2011-08-20 15:11
人气:
作者:admin
1 引言
近年来,915MHz以及2.45GHz等UHF波段的射频标签由于工作距离远,天线尺寸小等优点越来越受到重视。射频标签芯片的射频接口模块包括电源恢复电路、稳压电路和解调整形电路。射频接口的设计直接影响到射频标签的关键性能指标。
本文对射频标签能量供应原理进行了详细的理论分析,并完成了电源恢复电路、稳压电路和解调整形电路的设计。
2 原理分析
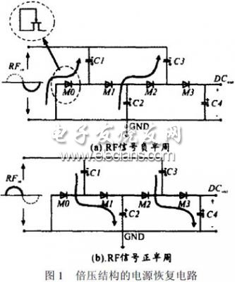
2.1 电源恢复
无源射频标签依靠读写器发射出的电磁波获取能量。标签芯片获得的能量与很多因素都有关系,例如空间环境的反射,传播媒介的吸收系数,温度等。在理想自由空间,连续载波的情况下,有下面的近似公式:
式中,Ptag_IC是芯片接收到的能量,Preader为读写器发射功率,Gtag是标签天线增益,Greader是读写器天线增益,R为标签到读写器的距离。
可以看到,标签接收到的功率主要和距离与载波频率相关,随距离的增大迅速减小,随频率的增加而减小。PreaderRreader也称为EIRP,即等效全向发射功率。它受到国际标准约束,通常在27~36dBm左右。例如,按照北美标准,读写器等效发射功率EIRP应小于4W,即36dBm。在自由空间中,915MHz的信号在4m处衰减为43.74dB。假设标签天线增益为1.5dBi,则在4m处无源射频标签可能获得的最大功率只有约 -6.24dBm,238W。利用标准的偶极子天线,在915MHz天线端能够获得的电压约200mV。在如此低的输入信号幅度下,采用普通全波或半波整流电路无法获得所需的直流电压,因此需要采用倍压结构的电源恢复电路。
倍压结构的电源恢复电路如图1所示。图中的二极管在实际应用时通常用MOS管替代。输入正弦交流信号RFin=VAsint。在RFin负半周期时,M0导通,C1充电。C1两端能够获得的最大电压为VA-Vd,其中,Vd为MOS管M0两端的电压降。

RFin正半周期时,节点1的最大电压为VA+(VA-Vd)。该电压使得M1导通,C2充电,直到C2两端达到最大电压,即节点2的最大电压,为 VA+(VA-Vd)-Vd=2(VA-Vd)。依次类推,C3两端能够获得的最大电压为3(VA-Vd),节点4的最大电压为4(VA-Vd)。节点 2N的最大电压为2N(VA-Vd)。于是,对于2N级电路,输出直流电压为:
考虑输出负载的情况。假设负载抽取电流为Iout,输入交流信号频率为fsig,所有电容值都为C,则输出电压降低2NIout/Cfsig。于是,考虑输出负载情况下的输出电压为:

上一篇:小卫星通信系统射频前端设计