时间:2006-04-17 19:13
人气:
作者:admin
电脑鼠标口的遥控装置设计与制作(含电路图)
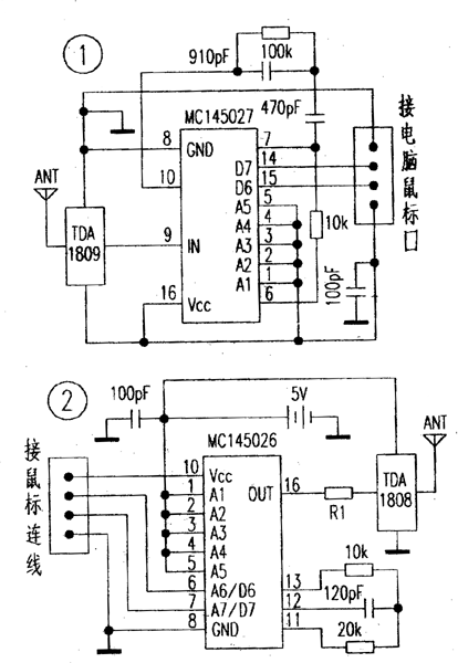
该装置和用编译码电路MC145026/MC145027和射频发射/接收模块TDA1808rtfDA188互相配合,可以在10~120m范围内灵活操纵鼠标,而且制作时无须对原有鼠标的外观及内部电路做任何改动,使用起来符合操作习惯,方便可靠,非常适合爱好者自制。
一般情况下,鼠标与电脑的连接线内部有4根电路连接线(该电路装置最多可以接受4条数据线输入,读者可根据自己鼠标的实际情况选择)分别是电源正极、电源地、数据线1、数据线2。我们将鼠标连线割断,分别找出这4根线,利用MC 145026编码电路的数据传送端D6和D7接受鼠标数据线1和数据线2传来的数据,并在芯片内部编码后经射频发射模块TDA1808发射出去。
射频发射模块TDA1809工作后,将接收到的编码信息输入 MC145027译码电路,经其转换后在该芯片数据输出端D6和D7复原原鼠标数据线1和数据线2的信号,并通过原鼠标与电脑的连接线进入计算机。
可以看出,上述电路无须改动鼠标及计算机,无须安装额外的鼠标驱动软件,原有鼠标的所有功能亦能正常使用。该电路(见图 1、图 2)只要所选元件正常,无须调试即可工作。
摘自《电子报》2002年2期 作者:陕西 董青利

上一篇:人工射頻接地系統