时间:2023-07-17 14:36
人气:
作者:admin
前言:今年以来,在政策利好推动下光伏、风力发电、电化学储能及抽水蓄能等新能源行业发展迅速,装机容量均大幅度增长,新能源发电已经成为新型电力系统重要的组成部分,同时这也导致新型电力系统比传统的电力系统更为复杂,未来预计可再生能源装机规模仍将快速增长,逐步完成能源体系的深度转型,从而实现“碳中和”目标。随之而来的是光伏电站、储能以及配套的电气设施怎么通过系统来实现有效的运维管理,使之安全、可靠运行。
1
2023年光伏、储能发展趋势
据国家能源局新能源和可再生能源司数据显示,2023年一季度全国光伏新增并网33.66GW,同比增长154.8%,其中集中式光伏发电15.53GW,分布式光伏发电18.13GW。截至一季度末,全国光伏发电装机容量达到425GW,其中集中式光伏249GW,分布式光伏176GW。太阳能发电投资完成522亿元,同比增长177.6%。一季度全国风电新增并网容量10.40GW,其中陆上风电9.89GW,海上风电0.51GW。截至一季度末,全国风电累计装机达到376GW,同比增长11.8%,其中陆上风电345GW,海上风电30.89GW。风电投资完成约249亿元,同比增长15%。
2023年1-4月电化学储能投运项目共73个,装机规模为2.523GW/5.037GWh,装机功率较去年同期(374.4MW)同比增长577.1%。其中磷酸铁锂储能项目高达69个,装机规模为2.52GW/5.019GWh;液流电池储能项目共4个,装机规模为3.1MW/ 18.1MWh。
光伏电站和电化学储能电站装机容量在今年上半年均大幅增长,预计受政策激励影响,接下来光储系统还会保持较大增长,以满足双碳计划的要求。
2
光伏、储能运维市场分析
在光伏、储能行业飞速发展的同时,已建的光伏、风力发电站和储能系统的监控、运维管理项目的招标也非常多,2023年上半年,光伏电站开发企业运维招标规模28.6GW,同比增长204.3%,上述28.6GW招标项目中,目前公布中标结果的共计14.9GW,中标情况见表1。光伏代运维价格因光伏电站的地理分布、容量、环境以及考核条件的不同,价格也会有较大的差异,从表1可以看出运维价格低至1.93元/年*kW。

表1 光伏电站代运维招标及中标情况
同样储能电站的代运维价格波动也比较大,比如广东电网能源投资有限公司发布2023年200MWh用户侧储能项目设备及运维招标公告,运维服务价格为6元/年*kWh;克拉玛依市600MW光伏配套120MW/240MWh储能运维总承包开标价格为499元/年*kWh,运维包含光伏设备、储能设备以及配套的箱变等电气设备的运维。
光伏、储能系统的代运维价格不高,而且考核压力大,运维工作繁琐,管理不当还存在安全风险,如果不采用合适的监控系统来管理和运维,人力成本将会非常高,而且发电效率也难以掌控,这将会导致代运维公司无法盈利。在很长一段时间里,新能源电站的运维管理都是很“粗糙”的,一句话就是——堆人。早期发电设备的不完备、急于上马引起的施工漏洞又多,选址科学性的不足等等,都使得管理电站离不开人力的支撑。但这一过程并非没有变化。通过各种技术手段升级,新能源电站运维逐渐从粗放式管理向精益管理转变。从业者也就在不断探索怎么缩减对人力的依赖,怎样提高管理效率。
3
分布式光伏电站监控及集中运维管理
光伏电站的运维对光伏电站的发电量至关重要,包括光伏组件、逆变器以及相关的电气回路、升压变压器及并网柜等,数据监测是光伏电站运维中一个非常重要的部分,可以通过运维管理系统实时获取光伏电站的各项数据指标,并通过这些数据指标来判断电站的运行状况和效率。在数据监测方面,需要对光伏电站进行以下几项检测:首先,需要对电站的电压、电流、功率等参数进行实时监测,以了解光伏电站的实时工作状态。其次,需要对光伏电站的温湿度、太阳辐照度等环境因素进行监测,以了解电站的运行环境情况。最后,需要对光伏电站的累计发电量、组件和逆变器的运行情况等进行检测和分析,以便及时采取相应的维护措施。GB/T 38946-2020《分布式光伏发电系统集中运维技术规范》对分布式光伏电站运维以及集中运维主站、运维子站功能均作出明确要求。
3.1相关标准
《分布式光伏发电系统集中运维技术规范》GB/T 38946
《户用分布式光伏发电并网接口技术规范》GB/T 33342
《分布式光伏发电系统远程监控技术规范》GB/T 34932
《光伏发电站设计规范》GB 50797
《分布式电源并网运行控制规范》GB/T 33592
《分布式电源接入电网技术规定》Q/GDW1480
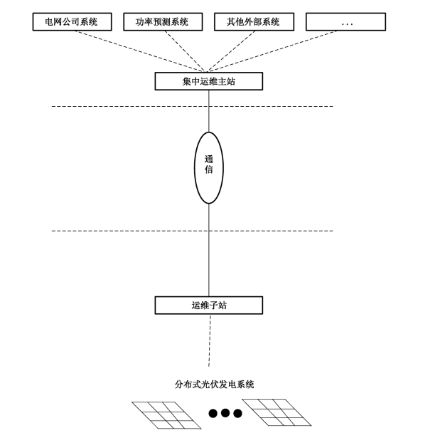
3.2系统构成
集中运维系统可包括主站和子站以及之间的通信通道,系统结构可参照图1。
a)主站与子站间的通信可采用无线(GPRS/3G/4G)、公网、专网(专线/VPN加密链路)方式,宜采取相应的信息安全防护措施;
b)主站与外部系统的通信满足相应系统的接入要求;
c)视频信息不宜与监控数据传输共用一个通道;
d)支持与电网调度系统通信,通信规约宜采用DL/T634.5101、DL/T634.5104;支持与各子站通信。

图1 运维主站与子站系统架构
运维子站可根据分布式光伏电站装机容量、有/无人值班等情况设置,在无人值班的情况下当地可不设置运维子站,数据直接通过数据网关上传运维主站。
3.3光伏运维子站解决方案
安科瑞Acrel1000-DP分布式光伏电站电力监控系统为分布式光伏电站运维子系统提供了解决方案,满足GB/T 38946《分布式光伏发电系统集中运维技术规范》中对运维子站的相关技术要求。
① 数据信号采集
(1)运维子站采集的模拟量数据包括下列内容:
a)分布式光伏发电系统每个并网点有功功率、无功功率、电压、电流、频率、电能量等数据;
b)分布式光伏逆变器有功功率、无功功率、电压、电流、功率、温度等数据;
c)汇流箱各路电流、汇总输出电流、母线电压量等数据;
d)分布式光伏发电系统周围环境包括环境温度、辐照度、电池板温度等数据;
e)子站应建立数据存储,存储时间应不少于7d。

图2 分布式光伏监控系统数据显示
(2)运维子站采集的状态信号包括下列内容:
a)分布式光伏发电公共连接点断路器、隔离刀闸和接地刀闸位置、保护硬接点状态以及远方/就地控制等各种开关量信号;
b)分布式光伏发电每个并网点断路器和隔离开关的位置信号、重合闸位置、保护动作及告警信号;
c)光伏逆变器运行状态及告警信号;
d)分布式光伏发电主升压变压器分接头挡位(当采用有载调压变压器);
e)光伏汇流箱保护动作及告警信号;
f)分布式光伏发电保护、安全自动装置等设备状态,保护动作及告警信号,运行人员操作顺序记录信息。

图3 分布式光伏监控系统状态显示
② 数据信息处理
子站宜对所采集的实时信息进行数字滤波、有效性检查、工程值转换、信号接点抖动消除、刻度计算等加工。数据采集子系统可进行数据合理性检查、异常数据分析、事件分类等处理,并支持常用的计算功能,支持对采集的各类原始数据和应用数据分类存储和管理。

图4 分布式光伏监控系统数据展示
3.4光伏运维主站解决方案
安科瑞AcrelEMS企业微电网能效管理平台适用于分布式光伏电站的运维管理。GB/T 38946《分布式光伏发电系统集中运维技术规范》中对集中运维主站的相关技术要求如下:
① 集中运行监视宜具备以下功能:
a)基础信息展示:基础信息包括场站名称、场站地理位置、场站容量、场站组件面积等;
b)电站实时监视:具备主要测点的分时、分日、分月以及分年的数值展示图表;

图5 分布式光伏电站场站管理及发电功率实时监控
c)电站统计分析:具备主要性能参数的分时、分日、分月以及分年的数值展示图表,主要性能指标包括系统PR、等效利用小时数等;
d)历史信息查询:逆变器、汇流箱、电度表、环境监测仪、并网点、变压器等设备监测点的历史数据查询与导出;
e)单电站数据展示:直观展示电站全年、各月的计划完成情况、上网电量、综合效率等统计指标;
f)多场站数据展示:对集团级的多电站计划完成率、上网电量、综合效率和资源分布等关键指标进行多角度、多维度的分析;
g)报表管理:根据需求选择历史数据,生成不同格式和类型的报表;报表应支持文件导出和打印等功能。

图6 日月年发电数据报表及逆变器发电曲线分析
② 操作与控制宜具备以下功能:
a)支持对电站设备的操作与控制,包括遥控、遥调、人工置数、标识牌操作、闭锁和解锁等操作;
b)防误闭锁:支持多种类型自动防误闭锁功能,包括基于预定义规则的常规防误闭锁和基于拓扑分析的防误闭锁功能;操作指令宜经过防误验证,并有出错告警功能;
c)顺序控制:能够按照预先设定的顺序和流程控制电站设备动作;
d)支持操作与控制可视化;
e)操作与控制宜有记录,包括操作人,操作对象、操作内容、操作时间、操作结果等,可供调阅和打印。

图7 遥控操作验证及操作记录
③ 故障告警管理宜具备以下功能:
a)能够将分布式光伏发电系统现场所采集到的各设备故障类遥信信号上报至集中运维系统进行展示;
b)能够记录故障告警的发生时间、设备位置、近期操作记录、故障状态等信息;
c)能够对在集中运维系统中展示出来的故障类遥信信号的信息进行基本操作,如删除、信息修改、查询;
d)能够对故障信息排查解决完毕后对故障造成的损失进行评估;
e)能够对由故障告警及处置过程形成的故障案例进行分类管理,具备快速访问和查询的功能。

图8 告警分级和异常分析
④ 集中运营管理宜具备以下功能:
a)运行值班管理对将电站生产运行值班过程中的主要事件进行记录;
b)巡点检管理:制定巡点检的操作方案,包含巡点检设备、巡点检路线、巡点检任务以及异常数据反馈等功能,异常数据可以自动触发故障单;
c)报告报表功能:能够按照既定要求形成相应的报告和报表功能,并支持文件导出要求;
d)资料管理功能:具备对系统相关资料进行分类管理的功能,并支持快速访问和查阅。

图9 巡检管理及用户报告
⑤ 设备、工器具及备品备件管理宜具备以下功能:
a)物资编码管理:系统宜支持按照GB/T50549要求进行编码设定的功能;
b)物资台账管理:系统宜支持对设备和部件、备品备件、工器具等物资信息和资料进行分类录入、删除、修改和查询的功能;
c)工器具管理:集中运维系统宜具备对场站配备的工器具的种类和数量统计功能,同时宜具备对工器具校验周期提醒的功能;
d)备品备件管理:集中运维系统宜具备场站配备的备品备件的种类和数量统计功能,同时宜具备对备品备件安全库存的定义和缺库提醒的功能。

图10 设备档案和设备保养管理
⑥ 安全管理宜具备以下功能:
a)安全组织管理:实现集团公司、电站区域公司安全组织架构设定功能;
b)安全综合管理:各种安全相关的制度、培训、考核、应急等的文档管理功能;
c)安全检查管理:实现安全检查计划、任务、结果的管理功能;
d)安全事故管理:实现安全事故登记与处理闭环管理功能。
⑦ 检修维修管理宜具备以下功能:
a)检修维修单管理:实现各种故障检修维修工作的单据登记、检修
维修过程的资料、检修维修结果的信息管理功能;
b)检修计划管理:实现检修计划信息的登记管理功能,信息内容包括基本的季度、月度检查计划等;
c)缺陷管理:实现各种设备、各来源的缺陷信息登记、缺陷处理及处理结果信息登记功能;
d)隐患管理:实现各种设备、各来源的隐患信息登记、隐患治理及治理的记过信息登记功能;
e)预防性维护管理:实现预防性维护计划,维护工作的内容登记维护管理;包括预防性维护计划、定期预防性维护检验等维护保养信息内容管理功能。

图11 工单管理和缺陷记录
⑧ 系统管理宜具备以下功能:
a)权限设置:登录权限、场站权限、功能权限、数据权限;
b)在线用户管理:用户登录、操作记录;
c)时间同步:宜采用简单网络时间协议(SNTP)对时方式,并以此同步各子站;
d)Web功能:主站宜具备相关数据的信息发布、浏览和下载等Web功能。

图12 用户权限配置及用户状态监测
⑨ 光伏发电功率预测
运维主站可根据当日光照和温湿度数据预测光伏电站发电功率数据进行对照,用于验证光伏电站发电效率。

图13 光伏运维主站、子站发电功率预测功能
3.5箱变测控管理
箱式变电站由于其占地面积小,性价比高,在分布式光伏电站中大量应用。箱变是光伏电站升压并网的主要电气设备,其运行状态的好坏,直接影响整个光伏发电系统的可靠性。因此需要对箱变进行电气参数、环境参数、绕组温度等进行监测和预警。
提供过电流保护、温度保护、过/欠电压保护、零序过流保护等功能;
实时监测变压器高、低压侧的电压、电流、有功及无功等参数;
实时监测低压室柜门开关状态及箱变内温湿度、浸水、烟雾;
实时监测变压器运行绕组温度;
实时监测柜内母排、线缆接头处温度;
互联互通,支持 有线或无线通讯,可将数据传输至后台。

图14 箱变测控系统图
通过AcrelEMS可实时监控箱变变压器和高低压柜电气参数、温度、箱变内湿度等数据,在数据超过正常阈值或发生异常变位时可及时发出告警信号。

图15 变压器及箱变环境监测
3.1光伏运维相关二次设备选型
安科瑞提供光伏运维子站、运维主站监测软件、数据网关和保护测控单元、交直流监测多功能仪表及相关传感器,具备电能质量监测和治理装置,保障光伏电站有效运行。




表2 光伏电站监控运维管理系统选型方案
4
电化学储能系统监控及集中运维管理
近年来在新型电力系统安全稳定需求下,电化学储能电站快速发展,但是储能电站安全运维管理尤为重要,电池热失控引发的事故也时有发生。储能电站的运维不仅仅是基本的巡检,值守,保养,更要不断积累运行的数据,并对当前电池的容量,健康指标都进行实时跟踪,进而不断调整控制策略等等。因此运维人员需具备较高的专业水平和丰富的实操经验,配合储能运维管理系统和健全的安全管理规程,才能高水平地运维,提升电站的盈利。
储能电站的运维管理主要包括电池及电池管理系统(BMS)、储能变流器(PCS)、能量管理系统(EMS)配套的电气系统(升压变压器、并网开关柜)、消防系统、空调系统、站用电系统的监测和运维。
4.1相关标准
《电化学储能电站安全规程》GB/T 42288
《电化学储能系统接入电网技术规定》GB/T 36547
《电化学储能电站设计规范》GB 51048
《电化学储能电站设计标准(征求意见稿)》
《电化学储能系统储能变流器技术规范》GB/T 34120
《电力储能用锂离子电池》GB/T 36276
《电化学储能电站监控系统技术规范》NB/T 42090
《电化学储能电站用锂离子电池技术规范》NB/T 42091
《爆炸危险环境电力装置设计规范》GB 50058
《储能电站用锂离子电池管理系统技术规范》GB/T 34131
《电力系统电化学储能系统通用技术条件》 GB/T 36558
4.2系统构成
根据NB/T 42091《电化学储能电站监控系统技术规范》,储能监控系统宜采用星型网络,功率小于1MW且容量小于1MWh的电化学储能监控系统宜采用单网配置,如图16。

图16 电化学储能系统单网监控系统网络结构图
功率为1MW及以上且容量为1MWh及以上的电化学储能监控系统宜采用双网配冗余置,如图17。

图17 电化学储能系统双网监控系统网络结构图
监测设备包括BMS、PCS、保护测控设备、其他设备(电能计量、绝缘监测、消防、空调、站用直流屏等)。
4.3电化学储能电站监控运维管理系统
Acrel-2000MG储能系统能量管理系统和AcrelEMS企业微电网能效管理平台能够对企业微电网的源(市电、分布式光伏、微型风机)、网(企业内部配电网)、荷(固定负荷和可调负荷)、储能系统、新能源汽车充电负荷进行实时监测和优化控制,保护微电网储能系统运行安全,实现不同目标下源网荷储资源之间的灵活互动,增加多策略控制下系统的稳定运行。同时促进新能源消纳、合理削峰填谷,减少电网建设投资,提升微电网运行安全,降低运行成本。Acrel-2000MG储能系统能量管理系统适合部署在本地,作为实时监控、异常告警和策略管理;AcrelEMS企业微电网能效管理平台适用于企业源网荷储充运维的一体化管理平台,并提供移动端数据服务和异常告警。
① 数据采集和处理
监控系统应能通过测控单元及功率变换系统、电池管理系统进行实时信息的采集和处理。监控系统应设置通信接口与电池管理系统连接,接收和处理的信息宜包括但不限于:
a)电池模块的电压、温度、电池能量;
b)电池簇的电流、电压、功率、电池能量、可充可放电量、累积充放电电量,以及
单体电压及其电池编号:
c)电池堆可充可放电量、累积充放电电量;
d)各种故障告警和保护动作信号;
图18 Acrel-2000MG和AcrelEMS电池数据采集
功率变换系统(PCS)上送信息宜包括但不限于:
a)开关量信息:直流侧与交流侧接触器、断路器的状态;运行模式(并网、离网)、运行状态
(充电、放电、待机等)、就地操作把手的状态等:
b)模拟量信息:直流侧电压、电流、功率,交流侧三相电压、电流、有功、无功;
c)非电量信息:IGBT模块温度、电抗器温度、隔离变温度等;
d)运行信息:功率变换系统保护动作信号、事故告警信号等。

图18 Acrel-2000MG和AcrelEMS 功率变换系统数据采集
② 监视和报警
监控系统的监视功能应符合但不限于下列要求:
a)应能通过显示器对主要电气设备运行参数和设备状态进行监视;
b)应能监视并实时显示各设备的通信状态和通信报文;
c)电池管理系统、功率变换系统上传监控系统的遥测量和告警量须有专门的界面显示和告警

图19 Acrel-2000MG和AcrelEMS 监视和报警分级
③ 控制与调节
控制范围:站内交流回路断路器、功率变换系统及其他相关重要设备,包括功率变换系统启/停、运行/检修状态切换、并网充/放电、离网放电、保护软压板投切等。监控系统根据功能定位支持下列应用模式:削峰填谷、孤网运行、系统调频、电压支撑、电能质量治理、平滑功率输出、跟踪计划出力。

图20 Acrel-2000MG和AcrelEMS 储能系统监控
④ 电能质量监测
监测储能系统交流回路的电压波动与闪变、三相电压不平衡、电压暂升/暂降、短时中断、谐波畸变等工况,实时记录事件并故障录波,为电能质量分析与治理提供数据来源。

图21 Acrel-2000MG和AcrelEMS 电能质量分析
⑤ 企业微电网能效管理
AcrelEMS企业微电网能效管理平台除了对储能系统提供监控报警之外,还适用于企业内部的源网荷储充运维的一体化管理平台,为企业微电网能效管理提供监测、优化控制、设备管理、运维管理、分析报告等,并提供基于WEB和APP的数据服务和异常告警。
平台可根据企业光伏发电数据、储能控制策略以及负荷波动情况为企业提供微电网运行数据,制定用电优化方案,在提高企业微电网运行安全的前提下帮助企业降低用电成本,促进清洁能源消纳。

图22 AcrelEMS企业微电网能效管理平台
4.4电化学储能电站监控运维管理系统二次设备选型
安科瑞提供电化学储能电站监控运维管理软件、数据网关和保护测控单元、多功能仪表及相关传感器,具备电能质量监测和治理装置,保障储能电站及企业微电网有效运行。




表3 储能电站监控运维管理系统选型方案
5
结束语
在双碳目标以及电网运行安全要求驱动下,光伏发电以及配套储能系统未来将会得到越来越多的政策支持,可以想象未来也会有越来越多的资本投入促使行业迅速发展,从而提高电网运行安全,提升电能使用效率。但是微电网系统,特别是光伏电站和储能电站的运行安全不容忽视,需要严格按照标准,建立光伏和储能监测运维管理系统对光伏电站和储能系统进行监视、预警、控制和运维管理,保障安全生产。
未来新型电力系统中,企业光储充微电网内部以及企业微电网和大电网的互动也会越来越频繁,这需要一套统一平台来对企业的“源-网-荷-储-充”及运维进行统一监测和管理,这样才能保障企业微电网有效运行,从而促进新型电力系统迈向稳定、可靠、低碳的良性循环。
编辑:黄飞