全球最实用的IT互联网站!
人工智能P2P分享搜索全网发布信息网站地图标签大全
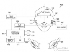
谷歌或将正在开发一款新型的无线VR头显
阅读全文2019-09-11
任天堂宣布将开发最新款的VR硬件
5G时代下VR虚拟现实将创造一个新的模式
BBC正在探索AR在电视以及教育领域上的应用
VR和AR在未来的发展将趋向于多元化
VR行业未来的发展趋势以及集聚模式
阅读全文2019-09-10
利用VR技术来帮助学生更好的学习
微软成功研发出精密的TORC VR电机控制器
VR的到来将改变某些行业的发展趋势
阅读全文2019-09-09
VR可以有效应对人口老龄化带来的挑战
成本直降80%!全彩AR眼镜技术拐点:Micr
百镜大战刚启幕!从量产到创新,天健股
智能眼镜销量暴涨800% 2025年全球智能眼镜
AI智能眼镜影像处理单元全面升级,摄像
CPU | 内存 | 硬盘 | 显卡 | 显示器 | 主板 | 电源 | 键鼠 | 网站地图
Copyright © 2025-2035 诺佳网 版权所有 备案号:赣ICP备2025066733号 本站资料均来源互联网收集整理,作品版权归作者所有,如果侵犯了您的版权,请跟我们联系。