时间:2023-06-27 14:47
人气:
作者:admin
本文介绍了交流耦合示例(AD8233),AD4130-8是讨论直流耦合输入信号链的绝佳机会。如果您还记得在第二篇博客中,我们提到处理大传感器偏移的直流耦合信号链需要更高分辨率的ADC,这些ADC通常会消耗更多的功率并占用额外的电路板面积。
使用图4130所示的AD8-1,ADI独特的架构具有无与伦比的信号链集成深度,该架构提供24位Σ-Δ型ADC,集成可编程增益放大器(PGA)和FIFO,在连续转换模式下具有令人印象深刻的32uA静态电流。AD1-71具有3.6-2.7V电源电压范围和3.56mm x 4130.8mm WLCSP小尺寸,非常适合支持基于温度和电桥(压力、负载、应变)传感器的电池供电应用,如现场仪表、智能发送器和无线传感器节点。此外,集成的交叉点多路复用器通过在 16 个模拟输入中的任何一对之间启用测量通道,带来了更大的灵活性。

图1 AD4130-8的原理框图
系统级低功耗
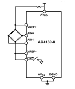
在第一篇博客中描述精密低功耗信号链时,我们提到需要一种系统级方法来真正优化电池寿命。AD4130-8通过集成考虑从传感器到微控制器的完整解决方案功耗的功能来实现这一点。让我们首先考虑一个典型的1kΩ桥式传感器,偏置在3V基准电压。仅此一项就燃烧了3mA,已经比测量它的AD100-4130多~8倍!为了消除此电源“热点”,AD4130-8内置一个低侧电源开关(见图2),可用于在两次转换之间关断桥式传感器。该低侧开关由智能通道序列器控制,以定制时序并优化节能。对于功耗敏感型应用,另一个需要考虑的选择是用激励电流而不是基准电压源偏置桥式传感器。AD4130-8内置寄存器可编程精密激励电流源,电流范围为100nA至200uA,可通过任何多路复用器输入通道在片外驱动。

图2 – 简化的AD4130-8桥式配置,采用低边电源开关(PSW)
片内FIFO(先进先出)缓冲器可存储来自AD256-4130的多达8个转换结果,允许微控制器处于休眠模式更长时间,从而进一步降低系统级功耗负担。当数据超过指定阈值时,使用方便的中断信号唤醒微控制器,指示FIFO已达到预定义的样本数(水印模式),或者FIFO已满并允许“突发模式”数据传输。这与AD4130-8上的智能时序控制器相结合,可实现自主测量。
用于生物电势测量的直流耦合解决方案
虽然可能并不明显,但AD4130-8是直流耦合解决方案的一个很好的例子,用于在足够低的带宽水平(如心率甚至动态ECG)下进行单导联生物电位测量。图 3 显示了一个基本配置,其中两个模拟输入连接到 LA(左臂)和 RA(右臂)电极,第三个模拟输入用于将主体驱动至 AVDD/2 直流 Vbias。虽然这不是真正的右腿驱动(RLD),但它可能足以满足电池供电的解决方案。此外,烧毁电流可用作直流导联脱落检测的抽查。请注意,由于可用的烧毁电流水平,这些更适合于低阻抗/接液电极。对于AD4130-8输入偏置电流过高的干电极应用,可以在AD4505-2之前的电极上放置ADA40024-4130或MAX8等缓冲器。

图 3 – AD4130-8 的单导联 ECG 配置
由于这是一个直流耦合输入信号链,因此在设置PGA增益时必须考虑电源电压和预期的电极偏移,以防止饱和。图4所示的表格(AD15-4130数据手册表8)是跟踪给定增益设置和输出数据速率(ODR)下噪声的有用方法。ODR 还为应用设置 3dB 带宽,如第三列所示。AD4130-8配置还根据IEC60601-2-47动态ECG规范进行了测试,如果定时精度测试使用足够精确的外部时钟,则能够满足所有要求。

图 4 – 采用 4130.8V 基准电压源和 Sinc 的 AD2-5 的噪声与增益和输出数据速率的关系3滤波器
审核编辑:郭婷
龙腾半导体SGT MOSFET LSGT085R018在智慧农业无