时间:2025-08-26 16:16
人气:
作者:admin
1前言
自然界中的物理量,例如压力、温度等都是模拟量,要对这些物理量进行控制和检测,就需要一种能在模拟信号与数字信号之间起转换作用的电路——模数转换器和数模转换器。
能把模拟信号转换成数字信号的电路称为模数转换器(简称ADC),反之,能把数字信号转换为模拟信号的电路称为数模转换器(简称DAC)。
一般的ADC是将一个输入电压信号转换为一个输出的数字信号。由于数字信号本身不具有实际意义,仅仅表示一个相对大小,故任何一个ADC都需要一个参考模拟量作为转换标准。比较常见的参考标准为最大的可转换信号大小,而输出的数字量则表示输入信号相对于参考信号的大小。
2AD转换过程
A/D转换器要将时间和幅值都连续的模拟量,转换为时间、幅值都离散的数字量,一般要经过取样、保持、量化、编码这几个过程。
取样(采样)
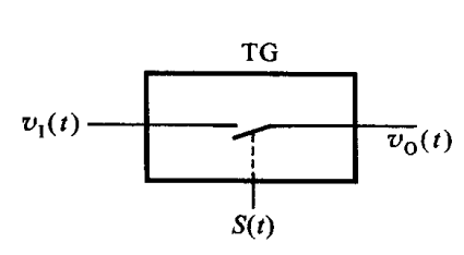
如下是取样电路示意图(取样电路可将输人模拟量转换为在时间离散的模拟量。):

传输门TG由取样信号S(t)控制,在S(t)高电平期间,TG导通,输出信号vo(t)等于输入信号vi(t),而在S(t)低电平期间,传输门关闭,输出信号vo(t)=0。
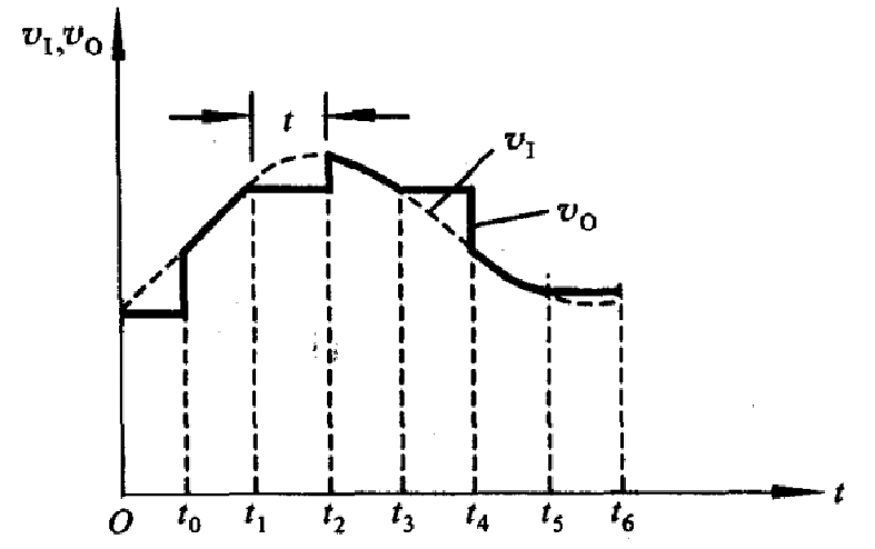
这是电路工作的波形图:

可以看到,取样信号S(t)的频率越高,取得的信号经低通滤波器后越能真实地复现输入信号。取样频率要满足取样定理(即奈奎斯特采样定理(Nyquist),1928年由美国电信工程师H.奈奎斯特首先提出来)。设取样信号S(t)的频率为fs,输入模拟信号vt(t)的最高频率分量的频率为fimax,则fs与fimax必须满足下面的关系:
fs≥2fimax
一般取fs>2fimax。
取样的目的是为了利用有限的采用率,无失真的还原出原有信号的样子,按照奈奎斯特采样定理一个正弦波每个周期最少取两个点才能把正弦波还原回去。
保持
一般取样和保持过程都是同时完成的,这是取样和保持电路的原理图:

它由输入放大器A1、输出放大器A2、保持电容CH和开关驱动电路组成,电路中Av1*Av2=1,且A1具有较高的输入阻抗,以减小对输入信号源的影响;A2选用有较高输入阻抗和低输出阻抗的运放,这样不仅CH上所存电荷不易泄露,而且电路还具有较高的带负载能力。
这是取样和保持电路的输出波形图:

t0~t1时段开关S闭合,电路处于取样阶段,电容器CH充电,由于Av1*Av2=1,因此vo(t)=vi(t);
t1~t2时段为保持阶段,此期间S断开,若A2的输入阻抗足够大,且S为较理想的开关,可认为CH几乎没有放电回路,输出电压保持不变。
量化
量化的过程是将取样-保持电路的输出表示为最小数量单位的整数倍。最小数量单位称为量化单位,量化单位是数值信号最低位为1时所对应的模拟量,即1LSB。
由于被取样电压是连续的,它的值不一定都能被量化单位整除,所以,在量化过程中,不可避免地存在误差,称为量化误差。量化误差属于原理误差,是无法消除的。A/D转换器的位数越多,1LSB所对应的量化单位越小,量化误差的绝对值也越小。
量化有两种方法,分别是舍尾取整法和四舍五入法。
舍尾取整的处理方法是:如果输入电压vi在两个相邻的量化值之间时,即(n-1)Δ
四舍五入的处理方法是:当vi的尾数不足Δ/2时,舍去尾数取整数;当vi的尾数大于或等于Δ/2时,则其量化单位在原数上加一个Δ。
例如要将0~1V的模拟电压转换为3位二进制码,取Δ=1/8V,采用舍尾取整法,凡数值在0~1/8V之间的模拟量,都当作0Δ;凡数值在1/8~2/8之间的模拟量,都当作1Δ,以此类推。
采用四舍五入量化的方式,则取量化单位Δ=2/15V,凡数值在0~1/15V之间的模拟电压都当作0Δ;而数值在1/15~3/15V之间的模拟电压都当作1Δ,以此类推。
可以看到,舍尾取整量化方法,最大量化误差为1LSB,而四舍五入量化方法的最大量化误差为LSB/2。由于后者量化误差小,所以大多数A/D转换器采用四舍五入量化方法。
编码
将量化后的结果用二进制码或者其他代码表示出来的过程叫编码。
如果将0~1V的模拟电压转换为3位二进制码。编码时0Δ用000表示,1Δ用001表示,2Δ用010表示,以此类推,7Δ用111表示。
3A/D转换器典型电路分类
A/D转换器按其工作原理的不同,分为直接A/D转换器和间接A/D转换器。
直接A/D转换器将模拟信号直接转换为数字信号,这类A/D转换器具有较快的转换速度,典型电路有:
并行比较型A/D转换器
逐次比较型A/D转换器
间接A/D转换器先将模拟信号转换成某一中间量(时间或频率),然后再将中间量转换为数字量输出。
此类A/D转换器的速度较慢,典型电路有:
双积分型A/D转换器
电压频率转换型A/D转换器
因为DE10-Standard板卡上的LTC2308是逐次比较型ADC,所以下面重点介绍这种类型。
4逐次比较型A/D转换器
直接A/D转换器中,逐次比较型A/D转换器是采用较多的一种。它的转换过程是将输入模拟信号与不同的参考电压多次比较,使转换所得的数字量在数值上逐次逼近输入模拟量。
这是一个8位逐次比较型A/D转换器框图,它由控制逻辑电路、数据寄存器、移位寄存器、D/A转换器及电压比较器组成:
假设输入的模拟量为3.2V, A/D转换器的基准电压是5V,根据逐次比较型A/D转换器的工作原理,电路启动后,第一个CP将移位寄存器置为10000000,该数字经数据寄存器送入D/A转换器。
输入模拟电压vi首先与10000000所对应的电压VREF/2相比较,如果vi≥VREF/2,则比较器输出为1;如果vi
第二个CP使移位寄存器为01000000,如果最高位已存1,则此时D/A转换器的输出电压vo`=3VREF/4,vi再与3VREF/4相比较,如果vi≥3VREF/4,则次高位D6为1;否则D6=0;
如果最高位为0,则vo`=VREF/4,vi与vo`比较,如果vi≥VREF/4,则次高位D6为1;否则D6=0;
依此类推,逐次比较得到输出数字量。
8位逐次比较型AD转换波形图:
5A/D转换器的主要指标
分辨率
A/D转换器的分辨率代表其对输入信号的分辨能力。在最大输入电压一定时,输出位数越多,量化单位越小,分辨率越高。
从理论上讲,n位输入电压的最小值为满量程输入的1/2n。例如12位ADC,基准电压5V → 分辨率 = 5V/4096≈1.22mV。
转换时间
转换时间是指A/D转换器从转换控制信号到来开始,到输出端得到稳定的数字信号所经过的时间。





龙腾半导体SGT MOSFET LSGT085R018在智慧农业无