时间:2023-10-24 09:33
人气:
作者:admin
银行是国家重点安全保护部分,关系到社会金融稳定,也是消防重点单位,消防安全保障工作是银行工作的重要方面。智能安全配电装置应用在银行配电系统中,可以提升银行智能化管控水平和有效防范电气火灾的发生。
Part.1/银行用电安全监管的必要性分析
近年来,银行业紧紧把握创新发展理念,积极拥抱新技术促进智能化升级,深入开展数据创新推进服务转型,科学稳健运用AI、5G、区块链、云计算、人工智能、大数据等前沿技术,优化金融服务流程,加强金融风险防控,延伸智慧服务触角,为广大金融消费者提供智能化、场景化、便捷化、精细化的消费金融产品与服务。
截至到目前,我国的银行网点的智能化改造率达到80%,信息技术已经成为提升银行核心竞争力的重要手段,在此趋势下,金融业采用的电子设备种类越来越多,对电子设备的使用强度大大增强,但电气系统设计、建设、运营、使用的过程中往往忽视安全用电,缺乏相应的网络化管理手段。
2016年,中国银行业监督管理委员会印发《中国银监会办公厅关于切实加强消防安全管理工作的通知》(银监办发〔2016〕159号),要求建立消防安全自查、火灾隐患自除、消防责任自负以及自我管理、自我评估、自我提升的工作机制,确保本单位消防安全万无一失。
2017年,国务院安全生产委员会印发《国务院安全生产委员会关于开展电气火灾综合治理工作的通知》(安委〔2017〕4号),强调用三年时间综合治理电气火灾工作,提高社会单位发现和处置消防电气安全隐患能力,推进电气安全管理制度化、规范化,巩固综合治理成效,强化考核,确保成效,提升地方各级政府、各有关部门及社会单位电气防火管理水平。
2017年,中国农业银行办公室(农银办发〔2017〕695号)《关于开展电气火灾综合治理工作的通知》对建立行内安全用电监测系统作出了标准要求和时间要求。
2019年,中国农业银行办公室(农银办发〔2019〕364号)《关于开展电气火灾监控系统建设工作的通知》对系统作出了明确的标准要求和工作计划进度要求。
2020年,中国邮政储蓄银行办公室(邮银发〔2020〕48号)《中国邮政储蓄银行安全保卫工作提质升级活动2020年工作方案》亦要求对银行场景内消防安全、火灾隐患做到全面防范与控制,加强自我管理、评估、提升的工作机制,确保各单位消防安全万无一失。
Part.2/ 典型银行网点电气事故案例分析
2015年7月26日下午5时多,23岁的小刘在西安市南窑头西区一个ATM机上取钱时,手指刚放到密码键盘时,突然遭到电击,女孩甩手尖叫瞬间弹开,后来发现两个手指头的指甲断裂。接到报警后,光大银行西安分行电子银行部的工作人员赶到现场,用电笔对ATM机做了测试发现,果真带电。相关专家和维修人员认为,取款机UPS出现问题或机器电线老化,遇阴雨天,容易漏电。
2018年6月21日20时许,陕西西安南大街建设银行大楼起火,现场火光冲天并伴有大量黑烟。该事故导致1人死亡,起火原因系大楼外立面维修电焊作业引起,过火面积近300平方米。
2021年1月20日10点左右,长沙市雨花区一高楼处出现浓烟滚滚,可见明火。长沙消防救援支队指挥中心接到报警,雨花区人民中路与梓园路交汇处某银行楼上发生火灾,立刻调派8台消防车44人赶赴现场处置。10点10分,救援力量到达现场,经过半个小时的灭火救援,目前火势已被控制。据悉,消防现场救援人民初步判断为空调外机引发起火。
2023年1月5日20时50分许,河南商丘市夏邑县一建设银行自助银行服务室起火,现场浓烟滚滚,现场目击者称是自助服务室自助设备引发火灾,室内装饰品被引燃,没有人员伤亡。

因违反电气安装使用规定引发的火灾起数占全年火灾起数的34.6%。生活中因用火不慎引发的火灾占全年火灾起数的21.5%。吸烟引发的火灾占全年火灾起数的7.3%。自燃引发的火灾占全年火灾起数的4.8%。生产作业不慎引发的火灾占全年火灾起数的4.1%。玩火引发的火灾占全年火灾起数的2.9%。67起较大火灾中,37起为电气火灾。4起重大火灾事故中,3起为电气火灾事故。
综合上述典型案例及公安消防部门历年的火灾统计年鉴中的数据,我们可以发现:随着人民群众的火灾防范意识的增强,人为因素所引发的火灾事故比例逐步降低,但隐蔽性较强,可视化程度低的电气火灾事故一直居高不下,因此采用先进的技术防范手段,实现电气火灾安全隐患的可视化和对配电系统的智能化监管是十分必要和紧迫的。
Part.3/银行用电安全隐患分析
(1)配电系统老旧,智能化程度低
目前部分银行营业场所(营业网点、自助银行及办公大楼等)的用电系统还处于无网络化、无智能化的单机分散独立运行的状态,主要还是采取传统的保护措施,以空开、保险丝、漏保、定时器等方式为主流,无法实现对前端电力系统进行远程实时监测和管理。
(2)存在施工布线不规范的问题
部分网点前期规划设计与实际应用不统一,配电线路铺设不规范,部分配电柜地线缺失等隐患导致设备与人身安全无法得到保障。
(3)存在过载和三相不平衡隐患
部分网点运营过程中缺乏现代化技术手段监管,难以防止不合理应用现象的产生。保护与负载不匹配、负载随意添加和不规范的分路引线,电器使用不规范,均是引起火灾的重大原因。
(4)无法杜绝电缆老化打弧故障
部分网点设备使用中主要有安装随意、摆放无序、布线杂乱、接线凌乱等现象。同时,非24小时设备因人员不及时拉闸,导致24小时开机运行,对于年代比较久的建筑可能存在绝缘老化等问题,这些都是火灾安全隐患。
(5)电能损耗浪费、存安全隐患
部分网点银行营业场所的70%的用电属于营业性用电,比如照明、电脑、空调、饮水机、LED屏等设备,下班后需拉闸断电。但在实际执行中仍会存在不执行的现象,造成大量的能源浪费,存在安全消防隐患,因此对银行网点的用电回路进行分类、差别化监管,非常有必要。
Part.4/安科瑞AISD系列智能安全配电装置概述
消防安全,一头连接着千家万户,一头连接着社会经济发展,事关群众生命财产安全,事关国计民生大局,责任重于泰山,如何预防火灾发生是关键!
生活中常见的传统安全用电防护手段,是在电路短路引起电弧火花时及时切断线路电源,但此时电弧火花已经产生,如果周边有纸张、地毯等易燃物品,一场火灾将难以避免。
安科瑞电气股份有限公司的智能安全配电装置打破了传统用电防护领域中仅仅只能做到“事后处理”的技术瓶颈,提前将配电转换安全电,从源头抑制电弧火花的产生,大大降低火灾风险,同时系统实时监测电气线路中电压、电流、功率、温度、剩余(漏)电流、对地绝缘阻值等关键数据,智能识别电路异常风险,及时将报警信息传送至云管理系统,提醒用户单位及时进行精准的故障排查。该系统既可满足管理人员在紧急情况下的远程应急处理,也可输出历史故障类型、报警数据、维保记录等管理台账,支持用户单位的日常安全用电优化管理,从而有效提升电气安全隐患的发现率、处理率,防范电气火灾的发生。
4.1介绍
AISD系列智能安全配电装置是安科瑞电气有限公司专门为低压配电侧开发的一款智能安全用电产品,本产品主要针对低压配电侧人身触电安全事故、线路老化、漏电引起电气火灾等等常见隐患而设计。产品主要应用于学校、医院、养老院、康复中心、酒店、商场、企事业单位、家庭电器等各类低压用电的场合。
4.2功能特点
(1)采用一体化整机设计,专门的用户接线及操作窗口,简化用户使用。
(2)提高供电连续性。装置负载侧电网发生单相接地故障时,电网可持续供电,装置报警,但不会切断电源,不影响用电设备继续运行。
(3)提高供电安全性。装置输出侧负载线路发生单相接地故障时,接地点不会产生火花,防止电气火灾事故发生。
(4)保障人身安全。装置限制了负载侧电网的漏电流,人体误触碰到单根供电线路时,能对人体进行保护,不会造成触电事故。
(5)监测报警功能。后端输出线路发生过载、过欠压、绝缘,以及装置内部超温故障时,装置发出声光报警信号。
(6)电参量测量与显示。装置能实时测量输出线路的电流、电压、功率、电能、装置温度和输出线路对地绝缘电阻值,并在触摸屏上实时显示。
(7)事件记录。装置可存储20条事件记录,可供用户查询。
(8)通讯功能。装置配有1路RS485通讯,采用标准Modbus-RTU协议。也可选配无线通讯功能,通过有线组网或无线方式将数据发送到云平台,用户可以使用浏览器、手机APP或微信众号对装置的远程监测和控制。
(9)具有应急市电切换、浪涌保护及紧急按钮断电功能。
4.3技术指标

注:具体容量选型时请咨询相关工程师。
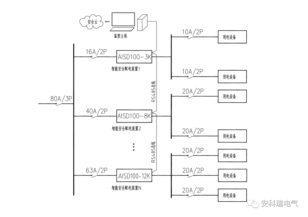
4.4典型应用图

AISD系列智能安全配电装置可以通过有线通讯的方式接入电气火灾监控主机,也可以通过无线通讯的方式接入安全用电管理云平台或者其他云平台,方便管理人员对所有安装了智能安全配电装置的场所进行维护,管理。
Part.5/ 注意事项
(1)在选用智能安全配电装置时,装置的额定容量应该与后方用电设备的额定容量保持一致。例如,当智能安全配电装置的额定容量为3kVA时,后方用电设备的额定容量应不超过3kVA,严禁将其使用于额定容量不匹配的配电线路中。
(2)智能安全配电装置器采用壁挂式安装,可以裸机挂墙安装,也可以落地安装,应确保安装场所无滴水、腐蚀性化学气体和沉淀物质,并注意环境温度和通风散热。
(3)接线时应按接线图操作,同时为了防止接头处接触电阻过大而导致局部过热,也避免因接触不良而导致装置工作不正常,应确保装置相应端子接线拧紧压实。
(4)严禁非专业人士擅自打开产品外壳。
Part.6/ 结语
在银行使用智能安全配电装置可以大大提高用电安全管理的效率和有效性,能避免出现因线路问题出现的其他方面的安全问题,保证供电的安全性、连续性、稳定性。值得推广!
编辑:黄飞
上一篇:电力智能运维管理系统