时间:2021-12-03 11:55
人气:
作者:admin

在电力施工中,对电缆的唯一性鉴别因涉及设施及人身安全,是一项要求很严格的工作。共有三种鉴别方法:卡钳智能鉴别、卡钳电流测量、听诊器鉴别。
一、卡钳智能鉴别
卡钳智能鉴别是一种结果最明确、抗干扰能力最强的鉴别方法。
1、信号发射方法的选择
发射机必须设定为1280Hz或640Hz频率。一般使用开机默认的1280Hz能满足大部分测试要求,超长电缆可选用640Hz。
对于非运行电缆使用直连法,且优先采用芯线-大地接法;若不方便接线,则使用相线-护层接法,不建议采用护层-大地接法。
对于运行电缆优先使用卡钳耦合法,如不能使用,则谨慎采用零线/地线/护层注入法。
不能使用辐射法发射信号。
2、接收卡钳连接
接收机附件连接线缆(两端为蓝色航空插头的弹簧线)的一端插入接收卡钳(蓝色)的插座,另一端插入接收机的附件输入插座。

图5-1-1 接收卡钳连接
3、界面介绍
开机状态下,接收机自动识别连接的附件,设为卡钳接收模式,界面如下:

图5-1-2 卡钳鉴别界面
接收机开机默认工作在1280Hz,将频率设定为和发射机一致;卡钳模式下不需要调整增益,直接显示电流值,并且和标定的电流对比计算并显示其百分比;相位表盘显示电流相位;鉴别结果显示鉴别正确图标 或错误图标 。
4、标定
卡钳智能鉴别需要接收机首先在目标电缆的已知位置测量其电流强度及相位,作为比较的基准,在未知点的测量结果与基准比较,作出鉴别正确或错误的判断。测量并记录基准电流及相位的过程即为标定。
在靠近发射机,又确保不会受其干扰的位置进行标定。对于卡钳耦合发射信号,应离开发射卡钳至少2m。将接收卡钳卡住目标电缆。
注意卡钳的方向箭头必须指向电缆末端。
按接收机标定键 ,屏幕左上角闪烁提示: ,询问是否要进行卡钳标定,若按其他键,将取消标定操作,若再次按标定键 ,显示将变为: ,提示标定完成:当前相位归零,相位表盘指针指向正上方,表盘下的角度变为0°,同时电流值作为对比计算的分母(反显),鉴别结果显示为正确 。
以后的鉴别测量均以此作为基准。标定完成后数据关机不丢失。
在对另一条电缆进行鉴别时,必须针对新的目标电缆重新标定。
5、鉴别
离开标定点,到达需要鉴别的位置,将卡钳卡住电缆。
注意卡钳的方向箭头保持指向电缆末端。
如果卡住的是目标电缆,则其电流强度和相位均应与标定点的测量结果相差不大,如果符合以下判定标准:
电流值大于标定值的75%,且小于120%
电流相位差不超过45°
则说明是目标管线,鉴别参考结果显示为正确 ,若不符合以上判据,说明是邻近的其他管线,鉴别参考结果显示为错误
。

图5-1-3卡钳智能鉴别过程
注意事项:
标定和鉴别时,接收卡钳的方向箭头必须指向电缆末端,且须保证卡钳闭合良好。
芯线-大地接法使用较繁琐,但目标电缆上的有效电流最大,且不易受邻近电缆干扰,故应优先采用。示例:目标电缆电流为I,相位在0°附近,提示鉴别正确;邻线电流远小于I,相位接近180°或不稳定,提示鉴别错误。
采用相线-护层接法发射信号时,若没有同路经敷设的并行电缆(指路径相同且两端位置相同),有效电流会较小;若有同路径电缆,则目标电缆的电流约等于其他电缆电流的和。
示例①:三条电缆同路径(包括目标电缆),测量结果为:目标电缆电流为I,相位在0°附近,提示鉴别正确;两条邻线电流分别为I/2,相位在180°附近,提示鉴别错误(可参见图3-1-4 并行电缆的分流效果)。
示例②:两条电缆同路径(包括目标电缆),测量结果为:目标电缆电流为I,相位在0°附近,提示鉴别正确;另一条邻线电流也为I,相位在180°附近,提示鉴别错误。这种情况因为电流强度基本相同,只能靠相位区分,更需要特别注意卡钳方向。
示例③:其他并行电缆与目标电缆的路径不同(一般为末端在不同位置),测量结果为:目标电缆电流为I,但数值远较发射机注入值小,相位在0°附近,提示鉴别正确;邻线电流接近0,相位接近180°或不稳定,提示鉴别错误(可参见图3-1-3 相线-护层接法)。
若采用护层-大地接法发射信号,护层绝缘破损接地将会造成破损点后电流减小,可能影响电流强度判据的使用,故不建议采用。
若采用卡钳法对运行电缆发射信号,由于发射卡钳会向空间辐射信号对接收造成干扰,必须保证在标定时,发射和接收卡钳距离2~5m。是否受干扰的判断方法:先进行标定,再在同一位置,将卡钳离开电缆,仅在空气中闭合,观察测量的电流值,若此时电流远小于标定时的电流而接近0,说明离开的距离足够;否则应继续加大两者的距离。
若采用卡钳法对运行电缆发射信号,必须保证电缆两端良好接地,以形成较大的耦合电流。如果电流很小,应注意并检查,包括确认卡住的是目标电缆。
本方法不适于鉴别超高压单芯运行电缆。由于单芯电缆芯线流过的工频电流很强,而且没有三芯统包电缆的三相抵消效果(对外表现为相对很小的零序电流),如果将卡钳卡住电缆本体,则很容易造成卡钳的磁饱和,无法正确接收高频信号。
示例①:三条电缆同路径(包括目标电缆),测量结果为:目标电缆电流为I,相位在0°附近,提示鉴别正确;两条邻线电流分别为I/2,相位在180°附近,提示鉴别错误(可参见图3-1-4 并行电缆的分流效果)。
示例②:两条电缆同路径(包括目标电缆),测量结果为:目标电缆电流为I,相位在0°附近,提示鉴别正确;另一条邻线电流也为I,相位在180°附近,提示鉴别错误。这种情况因为电流强度基本相同,只能靠相位区分,更需要特别注意卡钳方向。
示例③:其他并行电缆与目标电缆的路径不同(一般为末端在不同位置),测量结果为:目标电缆电流为I,但数值远较发射机注入值小,相位在0°附近,提示鉴别正确;邻线电流接近0,相位接近180°或不稳定,提示鉴别错误(可参见图3-1-3 相线-护层接法)。
若采用护层-大地接法发射信号,护层绝缘破损接地将会造成破损点后电流减小,可能影响电流强度判据的使用,故不建议采用。
若采用卡钳法对运行电缆发射信号,由于发射卡钳会向空间辐射信号对接收造成干扰,必须保证在标定时,发射和接收卡钳距离2~5m。是否受干扰的判断方法:先进行标定,再在同一位置,将卡钳离开电缆,仅在空气中闭合,观察测量的电流值,若此时电流远小于标定时的电流而接近0,说明离开的距离足够;否则应继续加大两者的距离。发射机:
输出方式:直连输出、辐射感应、卡钳耦合(选配)。
输出频率:640Hz(复合频率)、1280Hz(复合频率)、10kHz、33kHz、83kHz。
输出功率:最大10W,10档可调,自动阻抗匹配。
直连输出电压:最高150Vpp。
过载和短路保护。
人机界面:128×64点阵液晶显示器。
内置电池:4节18650锂离子电池,标称7.4V,6.8Ah。
接收机:
输入方式:内置接收线圈、接收卡钳(选配)、听诊器(选配)、查障A字架(选配)。
接收频率:
主动探测频率:640Hz、1280Hz、10kHz、33kHz、83kHz。
工频被动探测频率:50Hz/60Hz和250Hz/300Hz(用户可配置)。
射频被动探测频段:中心频率分别为10kHz、33kHz、83kHz。
管线探测模式:宽峰法、窄峰法、音谷法。
电缆鉴别模式:接收卡钳(选配)智能鉴别和电流测量、听诊器(选配)鉴别。
人机界面:320×240点阵液晶显示器。
内置电池:2节18650锂离子电池,标称7.4V,3.4Ah。
其他:
体积:发射机270×220×85mm,接收机700×270×120mm。
质量:发射机2.2kg,接收机2.2kg。
充电器:输入AC100~240V,50/60Hz,输出DC8.4V,2A。
若采用卡钳法对运行电缆发射信号,必须保证电缆两端良好接地,以形成较大的耦合电流。如果电流很小,应注意并检查,包括确认卡住的是目标电缆。
本方法不适于鉴别超高压单芯运行电缆。由于单芯电缆芯线流过的工频电流很强,而且没有三芯统包电缆的三相抵消效果(对外表现为相对很小的零序电流),如果将卡钳卡住电缆本体,则很容易造成卡钳的磁饱和,无法正确接收高频信号。
二、卡钳电流测量
除640Hz和1280Hz外的其他频率,只能测量电流,不能测量相位并标定,从而不能进行智能判断,但以通过电流值作出人工判断。
对于10kHz、33kHz和83kHz频率,由于频率较高,信号通过电缆和大地之间的分布电容泄漏较大,测量得到的电流值会随距离的增加逐渐减小。
卡钳电流测量法的信号注入方法以及注意事项和智能卡钳法基本相同。
应优先使用智能鉴别,电流测量法只作为辅助手段。
三、听诊器鉴别
当鉴别现场电缆排列非常密集,卡钳无法卡住电缆时,可以使用听诊器法鉴别。
1、听诊器连接
接收机附件连接线缆(两端为蓝色航空插头的弹簧线)的一端插入听诊器的插座,另一端插入接收机的附件输入插座。
鉴别地埋电缆可以使用微型听诊器,鉴别不宜直接接触的桥架电缆可以使用长杆听诊器。

图5-1-4 听诊器连接
2、界面介绍
开机状态下,接收机自动识别连接的附件,设为听诊器接收模式,界面如下:

图5-1-2 听诊器界面
听诊器只是将探测线圈外置,故其他操作和使用内置线圈完全相同。
将听诊器紧贴待测电缆,而尽量远离邻近电缆,目标电缆上将会有较大的响应,而邻近电缆上的响应很小。根据信号幅值的大小差异人工区分目标电缆和其他电缆。
听诊器适用于所有频率。当选择640Hz和1280Hz时,能够测量电流相位,可以使用防误跟踪功能,注意听诊器上的箭头指向电缆末端。
可以在发射机近端,将听诊器紧贴目标电缆,调整到合适的增益,在未知点鉴别时不要再调整增益,能够加快鉴别速度,提高准确率。
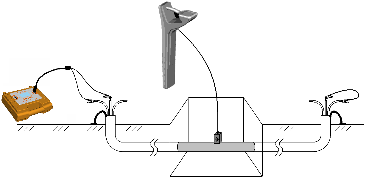
如下图所示:

图5-1-3 听诊器鉴别
使用听诊器鉴别时,若需最高程度的确认,发射机接线应采用相间接法,并在远端将其相互短路。
找到信号最强的电缆后,将听诊器环绕电缆一周。由于目标电缆的两相间通电,电流一去一回,且间隔一定距离,环绕时信号应有强弱变化,而非目标电缆没有此特性,可以用此方法进行最后确认,如右图所示。

图5-1-4 听诊器环绕测试