时间:2023-01-30 16:44
人气:
作者:admin
我们都熟悉隐藏在车库、地下室或其他视线之外的电表。我们甚至可能看了一两次,以打电话给公用事业公司的最新读数来代替估计。多亏了技术,一场安静的革命正在这个看起来无害的仪表内发生。
图 1 显示了传统机电仪表的示例,该仪表于 19 年末首次开发千世纪——有一个旋转盘和一个机械计数器显示器。这种类型的仪表通过计算金属盘的转数来工作,金属盘的旋转速度与通过主保险丝盒消耗的功率成正比。附近的线圈通过感应涡流和与瞬时电流和电压成比例的力来旋转圆盘。永磁体在圆盘上施加阻尼力,在电源断开后停止其旋转。

图1.机电式电能表。
仪表发展的第一步是用固态电子仪表取代机电仪表。电子仪表使用高度集成的元件(如ADE516x)测量能量,1 ADE556x,2 ADE716x,3 ADE756x,4和ADE77xx5电能测量 IC 系列。6这些器件通过高分辨率Σ-Δ型ADC对瞬时电压和电流进行数字化。计算电压和电流的乘积给出了以瓦特为单位的瞬时功率。随着时间的推移,积分给出了使用的能量,通常以千瓦时 (kWh) 为单位。能量数据显示在液晶显示器(LCD)上,如图2所示。
电子仪表有几个好处。除了测量瞬时功率外,它们还可以测量其他参数,例如功率因数和无功功率。数据可以按特定的时间间隔进行测量和存储,允许公用事业公司根据一天中的使用时间提供价格计划。这使得精明的消费者可以通过在低成本的非高峰时段运行洗衣机和烘干机等主要电器来节省资金;公用事业公司可以避免建造新的发电厂,因为在高峰期需要的容量较少。电子仪表不受外部磁铁或仪表本身方向的影响,因此它们比机电仪表更防篡改。电子仪表也非常可靠。
ADI公司一直是从机电仪表向电子仪表过渡的关键参与者,迄今为止出货量超过2.25亿个电能测量IC。根据IMS Research的数据,2007年出货的所有电表中有75%是电子的,而不是机电的。

图2.固态电子式电能表。
电子仪表开辟新的可能性
一旦电表数据以电子形式提供,就可以向电表添加通信,允许电表使用自动抄表(AMR)通过通信链路远程访问数据。仪表制造商开发了不同的远程抄表系统架构,大致分为步行、路过或网络系统。在这种情况下,公用事业公司派出一辆带有车载无线数据收集器的货车。面包车穿过社区,有效地收集仪表数据。与步行系统相比,驾车系统将公用事业员工一天内可以读取的仪表数量提高了五倍,与手动抄表相比增加了十倍以上。在联网系统中,仪表数据被馈送到固定数据收集器,该数据收集器通常位于街道或社区尽头的杆子上。数据通过宽带或蜂窝骨干网反馈给公用事业公司。
AMR 到 AMI
最初,用AMR系统取代手动抄表只是降低劳动力成本的一种方式,但随着行业认识到AMR允许公用事业公司方便地提供更高阶的好处和服务,例如实时定价以提高能源效率,即时报告故障检测,以及更准确的数据用于分析网络内的使用情况,这种情况正在发生变化。AMR 有时会被高级计量基础设施 (AMI) 取代,以突出从简单的远程抄表演变而来。AMI网络计量系统可以使用从卫星到低成本无线电的各种技术来实现。两种主要的新兴技术是射频(使用未经许可的工业、科学和医疗 (ISM) 频段)和电力线载波 (PLC)。
射频技术使用低功耗、低成本的无线电无线传输仪表信息,而PLC使用电源线本身。ADI公司为这两种技术开发了解决方案,包括ADF7xxx系列短程收发器8解决ISM频段射频段和基于流行的SALEM系列的®黑鳍金枪鱼处理器®9解决 PLC 部分问题。这些技术中的每一种都有其优点和缺点。特别是对于水和燃气表,由于电源靠近水或燃气的安全问题,射频技术正在成为主要选择。水表还具有经常被埋在地下的额外复杂性。对于电表,这两种方法的结合看起来最有可能,北美青睐RF,欧洲青睐电力线。在美国,少数房屋通常连接到单个变压器,使PLC不太经济。在一些实现中,公用事业公司正在使用混合部署AMI,电力线用于从数据收集器到电表进行通信,并在电表和其他家用电表或设备之间使用RF。一个有趣的谷歌地图页面,重点介绍全球AMR/AMI部署10现场试验显示最新信息。
设计支持 AMR/AMI 的公用事业仪表的射频部分
公用事业仪表通常位于拥有越来越多的无线设备的家庭中或周围,因此确保可靠的无线电通信是一项挑战。RF电路需要高性能来抑制来自无线LAN等设备的大无用信号,同时解码无线电输入端可能低至几分之一微伏的所需信号。
还需要良好的无线电灵敏度,因为这会转化为更长的信号传输范围。请记住,仪表可以位于地下室,或者更糟糕的是,可以位于地下 - 但它需要与几个街区外的杆子上的收音机或街道上的多功能车进行通信。灵敏度越低,接收无线电需要越接近正确解码消息。对于移动路过系统,这仅意味着货车必须靠近您的房屋,但固定网络基础设施必须使用较小的单元和相应的大量数据收集器。因此,高灵敏度将最大限度地降低网络基础设施成本。
低功耗对于电池供电的燃气表和水表至关重要。电表供应商经常尝试降低电表的功耗,因为这允许他们将相同的设计移植到水表或燃气表上。此外,为了在频谱的未经许可部分运行,仪表和读取器使用的通信协议必须符合运营国家/地区的无线电发射法规。全球存在几个未经许可的频段,最常见的频段是 900 MHz、2.4 GHz 和 5.8 GHz。
大多数电表制造商都选择了 900 MHz 频段的无线电作为电表之间以及电表和数据收集器之间的链路。与竞争的2.4 GHz技术相比,这些频率的无线电在给定功率预算下提供更好的通信范围,因此可以为给定基站或数据收集器提供更广泛的蜂窝覆盖范围。然而,从公用事业公司的角度来看,使用该频段的一个缺点是缺乏可用的标准。sub-GHz频段显然是电池供电的燃气表和水表的最佳技术选择,激发了对标准化日益增长的需求,以实现不同制造商系统之间的互操作性。无线M-Bus是从有线M-Bus用户组发展而来的,是电表之间以及电表和数据收集器之间通信标准的一个例子。M-巴士11现在是EN 13757中详述的EN欧洲规范标准的一部分。无线M-Bus协议在EN 13757-4变体中有详细说明。其他900 MHz标准化工作也在进行中。
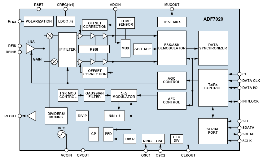
ADF702012即将发布的ADF7023收发器是900 MHz无线电的示例,这些无线电在设计时考虑了计量。这两款器件也适用于必须符合无线M-Bus标准的系统。ADF7020的框图如图4所示。

图4.ADF7020的功能框图。
ADF7020是一款完全集成的低功耗无线电收发器,工作在中国为433 MHz、欧洲为868 MHz和北美为915 MHz的免许可ISM频段。它集成了完整的发射和接收RF部分以及模拟和数字基带。为支持 AMR 的公用事业仪表实现无线电卡13通常需要ADF7020、天线、少量外部无源器件和一个简单的微控制器来运行通信协议,如图5所示。ADF7020集成超低功耗、8位RISC内核来运行一些较低级别的通信功能,从而显著减轻了外部微控制器的负担。在许多情况下,这可以消除对单独通信专用微控制器的需求。与竞争产品相比,电表制造商也选择ADF702x系列,因为他们的无线电具有一流的灵敏度和阻塞性能,从而在电表和数据采集器之间具有更好的范围。ADF7020提供超过70 dB的阻塞性能,这意味着即使不需要的带外信号比所需信号高70 dB,也可以正确检测和解码所需信号。相邻通道抑制约为40 dB,灵敏度可低至–120 dBm,具体取决于数据速率。这比性能最佳的 ZigBee 解决方案低 20 分贝以上。
汉恩网络
随着通信电表即将在许多家庭中推出,公用事业公司和能源监管机构正在展望未来,看看他们如何利用该技术来提高节能和意识。使用这个概念,有时称为智能电网,公用事业公司可以使用将一直延伸到客户家中的网络来积极管理传输负载。其中一项服务可以提供实时价格信息,允许消费者调节能源使用。例如,在高峰负荷期间,例如在热浪期间,公用事业公司可以向房屋发送信息,告诉房主下一个小时价格将上涨,并鼓励他们关闭电器。这将需要一个可以显示此类消息的家庭显示器。更进一步,公用事业公司可以通过仪表与您家中的设备进行通信,例如,打开恒温器或关闭泳池泵。该系统需要电表和家用电器之间的通信,有时称为家庭局域网(HAN)。ADF702x和ZigBee无线电等900 MHz无线电都在这里受到青睐。
大多数行业参与者认识到,与先进的电表基础设施相连的完全工作的家庭局域网还需要数年时间,但这种系统的好处意味着许多公司正在积极参与开发当今的家庭局域网解决方案。
结论
ADI公司专注于为计量市场提供领先的技术,包括RF收发器、电能测量芯片组、RF放大器、隔离产品和电力线控制。ADF702x高性能、全集成收发器适用于支持通信或AMI就绪的电表,为全球电表制造商提供紧凑、可靠、低成本的解决方案。
审核编辑:郭婷
下一篇:智能仪表在新能源行业的应用