时间:2022-08-12 15:53
人气:
作者:admin
批准的 ITU G3-PLC 网络标准支持跨现有电力线的高速、高度可靠的基于 IP 的通信,允许数据和控制消息在构成区域智能电网的发电、输电和配电系统中流动(图 1 )。它的开发是为了在智能电网元素之间提供强大的连接,以允许将先进的计费和需求管理技术应用于客户负载,并有效地整合传统和基于可再生能源的分布式能源,包括太阳能或风电场。尽管最初是由Maxim Integrated Products
共同开发的和 Electricite Reseau Distribution France (ERDF),G3-PLC 是一种非专有规范,已被选为国际标准开发工作的基础技术,例如 IEEE P1901.2、ITU Ghnem/G.9955 和 IEC/ CENELEC T13。

图 1:像 G3-PLC 这样的电力线通信技术对于在组成智能电网的许多元素之间提供可靠的数据链接至关重要(由 G3-PLC 联盟提供)。
与早期的 PLC 技术一样,G3-PLC 无需额外的电线或光纤即可跨现有电力线进行通信。与以前的窄带电力线通信 (NB-PLC) 标准相比,这种基于 IPv6 的开放标准提供更高的数据速率、更远的覆盖范围和更好的纠错能力,将加速基于互联网的能源管理系统的广泛发展。对 G3-PLC 标准的简要介绍旨在概述其功能、其使用的技术以及支持它的第一波半导体产品。
G3-PLC内部
与 Home Plug PLC 标准不同,该标准旨在支持建筑物内短距离的相对较高的数据速率,G3-PLC 是一种所谓的“窄带”电力线通信技术,它使用较低的载波频率和较慢的数据速率提供更远距离和更可靠的服务。正如我们将很快看到的那样,它结合了自适应正交频分调制 (OFDM)、前向纠错 (FEC) 技术和重复编码,以支持 3 到 5 英里长的高度可靠的数据链路跨越嘈杂的环境,通常在电力线上发现的具有挑战性的环境。
与通常用于通过电话线推送宽带数据的 ADSL/VDSL 技术非常相似,G3-PLC 使用 OFDM 调制,它在分配的任何频谱块上创建多个通道(或“音调”)。每个音调占用一个 25 kHz 的通道,并且根据线路条件,可以使用差分四相移键控 (DQPSK) 或差分 8 相移键控 (D8PSK) 进行调制。如果需要最大范围或抗干扰性,可以使用更简单的双二进制相移键 (DBSK) 调制来调制音调。在线路条件特别差的情况下,DBPSK 模式可以使用可选的“鲁棒操作”(ROBO) 模式进一步增强,该模式提供更强的纠错和重复编码(以降低信道的有效数据速率为代价)。
G3-PLC 的媒体访问控制协议 (MAC) 旨在支持网状网络拓扑。由于通常有许多 PLC 设备通过一条电力线进行通信,因此它使用改进的 CSMA/CA(载波检测,多路访问/冲突避免)MAC,在分配之前监听载波信号和正在传输的数据包的长度本身就是一个随机的退避期。
用于生成 OFDM 音调的卷积算法可以调整为在特定国家分配给 PLC 网络的 10 到 490 kHz 频谱的任何部分内工作。它支持 FCC 为美国电力线通信定义的完整 145.3 至 478.1 MHz 频段。PLC-3 的音调也可以调整以覆盖欧洲大部分地区使用的 35.9 到 90.6 kHz “CENLEC A”频段内的四个频段中的任何一个或全部,以及占据 98.4 到 121.8 kHz 的 CENELC B 和 C 频段,以及分别为 128 至 137 kHz。G3-PLC 执行“音调掩蔽”(即打开或关闭各个OFDM 音调)的能力使其能够避免部分频谱被外部噪声源占用。音调掩蔽还允许它与可能共享信道的任何现有通信技术(例如 IEC 61334、IEEE P1901 和 ITU G.hn)共存。
选择提供最佳通道特性的音调的相同能力有助于 G3 跨越位于配电网络高压、中压和低压部分之间边界的变压器。通过选择更容易通过变压器感抗的频率并应用可选 ROBO 模式中可用的纠错功能,G3-PLC 信号可以以足够的信号强度出现,以达到更远的距离。这使得位于低压社区环路上的多个仪表和网关能够与位于配电网络中压侧的单个数据集中器进行通信。最近的测试证明了它能够支持 3.1 英里长的连接,其中包括通过 MV/LV 变压器的过渡(图 2)。这种能力在北美配电网络中尤其重要,在北美配电网络中,单个中压支路通常为许多家庭服务。它还可以通过允许更少的集中器支持隔离仪表来显着降低农村地区的部署成本。

图 2:G3-PLC 的稳健特性使其能够支持跨变压器的数据链路(德州仪器提供)。
G3-PLC 的帧结构(图 3)旨在承载封装的压缩 IPv6 (6LoWPAN) 数据包。每个帧都以一个前导码开始,由 SYNCP 和 SYNCHM 符号组成,用于同步和检测,并提供已知序列以促进 AGC 自适应。接下来是帧控制头(FCH),它包含解调数据帧所需的控制信息,接下来传输数据符号。PHY 还支持较短的 ACK/NACK 帧,该帧仅由前导码和 FCH 组成,用于验证是否成功接收到消息。由于 G3-PLC 网络基于 IPv6,因此其他协议(例如 IEC4-32 上的 AMI/AMR DLMS-COSEM)必须在进入网络时进行封装。

图 3:典型的 G3-PLC 数据帧(由 Maxim IC 和 G3PLC 联盟提供)。
实施问题
将连接智能电网的 G3-PLC 系统元素的电力线调制解调器通常包括耦合变压器、模拟前端 (AFE)、信号处理器/控制器和调制解调器主处理器的接口和其他资源(图 4)。AFE 包括一个有源输入带通滤波器,可提供低噪声、低谐波失真和低输入偏置。AFE 的可编程增益放大器 (PGA) 可缩放输入信号的幅度,以匹配模数转换器(通常为 10 至 12 位)的范围,该转换器为调制解调器的数字信号处理元件提供数据流,从中提取数据流。

图 4:典型电力线调制解调器的元件(德州仪器提供)。
输出数据包由具有高输出电流的 PLC 发射器级注入回电网。发射器级的数字部分将输出数据流转换为一系列 xPSK 调制音,然后转换为模拟信号。这种转换是使用脉宽调制(PWM,再次参见图 4)或快速 ADC 完成的。生成的模拟信号经过带外发射过滤,并传递到与交流电源线的低阻抗相匹配的高功率驱动器/变压器级。
开放标准促进多种硅解决方案
由于其作为非专有规范的地位、其高性能和先进功能,G3-PLC 技术目前得到智能电网领域几家主要 IC 制造商和设备制造商的支持,包括 Enexis、ERDF、Maxim Integrated Products、STMicroelectronics、德州仪器、思科、Itron、Landis & Gyr、Nexans、Sagemcom 和 Trialog。在撰写本文时,Maxim 和德州仪器已提供硅解决方案,意法半导体预计将在今年某个时候推出自己的支持 G3-PLC 的产品。
Maxim 推出了第一款完全兼容的 G3-PLC 调制解调器芯片组,它将 MAX2992 处理器(MAX2990电力线调制解调器的增强版)与MAX2991 AFE。两种调制解调器均基于 32 位 MAXQ30 微控制器内核,实现物理 (PHY) 层和 MAC 层。2990 使用软件和硬件加速器内核的组合来执行信道估计、自适应音调映射和路由协议。具有 AES-128 加密/解密的片上身份验证协处理器提供安全性和身份验证。
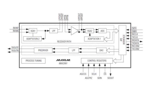
MAX2991 工作在 10 至 490 kHz 频段,是第一款专为电力线 OFDM 信号传输而设计的 AFE(图 5)。该器件拥有一个集成的频带选择滤波器、AGC 和一个 10 位 Rx ADC。传输路径具有集成波形整形滤波器、可编程预驱动器增益和 10 位 DAC。AFE 的可编程滤波器使其能够配置为符合 CENELEC、FCC 和 ARIB 标准。还提供基于芯片组的评估套件。

图 5:Maxim 的 MAX2991 模拟前端具有一个 10 位 ADC/DAC,与自适应均衡和数字可编程滤波器配对(由 Maxim Integrated Products 提供)。
Texas Instruments 的 G3-PLC 调制解调器解决方案基于 F28069(F28069 的开发套件, F2806x的产品培训模块),这是其面向 DSP 的C2000 Piccolo系列 MCU 和 AFE032 模拟前端的特定应用变体。该处理器包括用于 FFT、Viterbi 和 CRC 功能的硬件加速器模块,这些功能旨在作为 CPU 指令集的扩展。消除通常用于加速器内核的单独读取、写入和中断服务例程可以帮助将执行特定功能所需的代码从数百行压缩到数十行。
因此,该器件可以支持 G3-PLC 的 MAC 和 PHY 功能以及汇聚层 API。它还具有足够的备用内存和处理能力,以支持接收器的标准透明性能增强(包括前导码检测和自适应均衡),从而能够在极具挑战性的信道损伤下运行,其中许多在电网基础设施老化的地区很常见。TI 还提供TMS320F28027套件,这是一个完整的 PLC 调制解调器开发套件。该套件包括两个调制解调器、两个控制卡、电缆、一个电源以及设计和开发 PLC 系统所需的所有必要软件。
总结
快速、安全、可靠和经济高效的通信对于“智能电网”至关重要。G3-PLC 是一种新的基于 OFDM 的电力线通信 (PLC) 技术。基于 G3-PLC 的双向通信网络将为电网运营商提供智能监测和控制能力,以便他们能够优化利用现有资源并无缝整合新的能源收集可再生资源。本文研究了 G3-PLC 的基本原理,并讨论了符合标准的芯片组解决方案。更多产品信息可通过 Digi-Key 网站提供的链接获得。深入的 G3-PLC 规范可以从下面的参考资料和资源列表中获得。
上一篇:物联网技术在智慧电网中的应用
下一篇:配电室监控系统问题解决方案的阐述