时间:2013-09-27 15:45
人气:
作者:admin
智能电能表作为智能电网的重要组成部分,其技术标准也在不断地发展之中,使得相应的芯片技术也在日益提高。以市场需求量最大的单相智能电能表为例,其技术发展主要表现在以下几个方面:
计量准确度要求越来越高,电流范围越来越宽,从之前的5(20)A到现在的5(60)A,再到1(100)A,早期的计量芯片已无法满足当前电能表设计的要求,高精度、宽量程的计量芯片被广泛应用。
数据和事件处理要求越来越多,使得MCU的运算能力和程序容量不断提高,传统的8-bit MCU会逐渐被32-bit MCU所取代。
智能电能表作为智能电网的最终节点,其数据通信要求越来越强,对外的通信方式有RS485、PLC、红外,并且要求各通信接口相互独立并能同时运行;这要求用于电能表设计的MCU具有丰富的硬件通信接口。
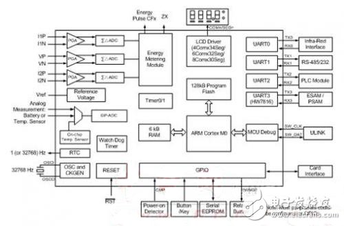
IDT的90E46就是顺应智能电能表的这种发展趋势,在业界推出的第一款集成硬件高精度宽量程计量模块,ARM 32位 Cortex M0 高性能低功耗MCU内核,LCD驱动和带温度补偿功能的高精度实时时钟(RTC)于一体真正意义上的系统级芯片(SoC)。在计量动态范围5000:1 内,有功电能准确度优于 0.1%,无功电能准确度优于0.2%,且只需要单点校准;实时时钟误差小于±0.5秒/天。
90E46芯片与硬件设计
90E46芯片简介
90E46是业界集成度最高的高精度宽量程单相电能计量SoC,在IDT既有的宽量程计量模拟前端(AFE)的基础上,集成了ARM Cortex-M0微处理器、LCD驱动和带温度补偿功能的高精度实时时钟(RTC),可以减少单相电能表的元器件数量,简化设计和生产流程,降低材料成本和库存管理难度。
90E46具有下列特性:
32位 ARM Cortex M0 内核,6KB RAM, 128KB Flash;
4路独立UART,UART0支持红外调制(IR),UART3支持硬件ISO7816协议;
集成硬件看门狗(WDT),支持中断功能;
2路25位通用PWM;
1路14位低功耗PWM,用于红外唤醒;
2路16位定时器
最多45个GPIOs,23个支持5V输入;
4个外部中断输入,可用于系统唤醒;
2路12位GPADC,集成高精度参考电压源和阈值比较电路;
1路低功耗电压比较器,用于芯片掉电检测;
芯片支持运行模式、睡眠模式、待机模式和LCD显示模式;
内置PLL电路,外部只需32.768kHz晶体即可工作;
符合IEC和ANSIC标准要求;可用于单相1级、2级有功电能表和2级无功电能表;
在计量动态范围5000:1内有功电能准确度优于 0.1%,无功电能准确度优于0.2%;
片内参考电压源的温度系数典型值 6 ppm/ ℃;
电参数测量:电压/电流有效值、平均功率、频率、功率因数和相角的引用误差低于0.5%;
在整个动态范围内只需要单点校准,可用于50Hz 和 60Hz电网;
片内温度传感器在-40 ℃~ +85 ℃范围内准确度±1 ℃;
片内硬件RTC带频率补偿功能。补偿范围:-3900ppm 到3900ppm,补偿精度±0.12ppm;
内置4Com×34Seg / 6Com×32Seg / 8Com×30Seg LCD驱动器,含偏置电压生成电路;
工作温度:-40℃~+85℃;
TQFP100 绿色封装。
90E46的功能框图如图1所示:

图1 90E46功能框图
硬件设计
90E46采用了高集成度的芯片设计技术,外部只需要少量器件就可以实现最小系统功能。整个MCU小系统如图2所示:

图2 90E46 小系统电路
宽量程电能表的校准和软件设计
测量/计量校准
采用90E46设计的单相电能表,只需要在Ib电流点进行单点校准,即可保证5000:1动态范围内的计量准确度。对于1(100)A的电能表,可以在5A(或10A)电流下进行校表,同样可以满足整个电流范围内的计量准确度。整个校表流程如图3所示:
图3 90E46 校表流程