LM2596 系列稳压器是单片集成电路,为降压(降压)开关稳压器提供所有有源功能,能够驱动具有出色线路和负载调节的 3A 负载。这些器件提供 3.3 V、5 V、12 V 的固定输出电压和可调输出版本。
这些稳压器需要最少数量的外部元件,使用简单,包括内部频率补偿和固定频率振荡器。
*附件:lm2596.pdf
LM2596 系列的工作开关频率为 150 kHz,因此允许使用比低频开关稳压器所需的滤波器元件更小的滤波器组件。采用标准 5 引脚 TO-220 封装,具有多种不同的引线弯曲选项,以及 5 引脚 TO-263 表面贴装封装。
多个不同制造商提供标准系列电感器,针对 LM2596 系列进行了优化。该特性大大简化了开关模式电源的设计。
其他特性包括在指定输入电压和输出负载条件下输出电压容差为±4%,振荡器频率容差为±15%。包括外部关断功能,典型值为80 μA待机电流。自我保护功能包括输出开关的两级降频电流限制和过温关断,可在故障条件下提供全面保护。
特性
- 3.3V、5V、12V和可调输出版本
- 可调版本输出电压范围:1.2V 至 37V ±线路和负载条件下最大 4%
- 提供 TO-220 和 TO-263 封装
- 3A 输出负载电流
- 输入电压范围高达 40 V
- 仅需要四个外部组件
- 出色的线路和负载调节规格
- 150kHz 固定频率内部振荡器
- TTL 关断能力
- 低功耗待机模式,I Q,典型值为 80 μA
- 高效率
- 使用现成的标准电感器
- 热关断和限流保护
参数

方框图

1. 产品概述
LM2596是德州仪器(TI)推出的SIMPLE SWITCHER®系列降压型开关稳压器,具有以下核心特性:
- 输入电压范围:4.5V至40V
- 输出能力:3A负载电流,提供固定输出(3.3V/5V/12V)和可调版本(1.2V-37V)
- 效率:高达90%(12V版本)
- 封装:TO-220(5引脚)和TO-263(表面贴装)
2. 关键特性
- 集成功能:内置150kHz固定频率振荡器、热关断及电流限制保护
- 低待机电流:典型值80μA(关断模式)
- 简化设计:仅需4个外部元件(电感、二极管、输入/输出电容)
- 应用领域:家电、工业设备、POS机、家庭影院等
3. 设计要点
- 电感选择:需根据负载电流和输入电压通过图表选择(如33μH-150μH),推荐封闭磁芯结构以减少EMI。
- 电容要求:
- 输入电容:低ESR电解或钽电容,RMS电流需≥1/2负载电流(如3A负载需1.5A额定电流)。
- 输出电容:低ESR至关重要,典型值82μF-820μF(电解)或10μF-470μF(钽电容)。
- 二极管:推荐肖特基二极管(如1N5825),需满足1.3倍负载电流及1.25倍输入电压。
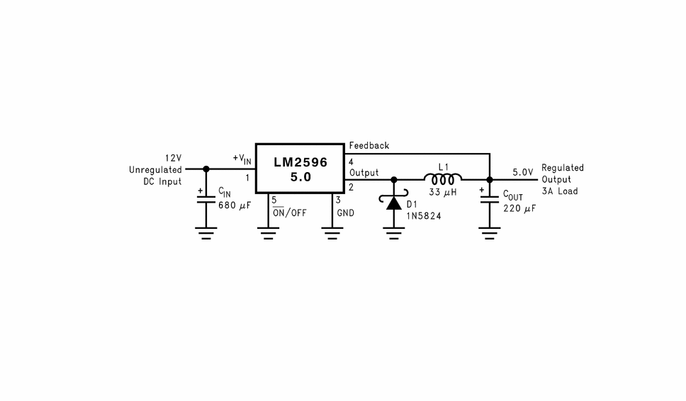
4. 典型电路
- 固定输出电路:直接连接反馈引脚至输出,需配置电感、电容及续流二极管。
- 可调输出电路:通过电阻分压网络(R1=1kΩ,R2计算值)设置电压,需添加前馈电容(如560pF)以提高稳定性。
5. 热管理
- TO-220封装:需外接散热器,结温升取决于输入/输出电压及负载。
- TO-263封装:依赖PCB铜箔散热,建议≥0.4平方英寸2oz铜层。
6. 注意事项
- 布局优化:缩短高频路径(开关引脚、二极管),避免开环电感磁通干扰反馈回路。
- 输出纹波:可通过后级LC滤波器进一步抑制(1μH-5μH电感)。