TPS63810和TPS63811是高效率、高输出电流降压-升压转换器,可通过I完全编程^2^C. 根据输入电压,当输入电压大致等于输出电压时,它们会自动在升压、降压或新型 4 周期降压-升压模式下运行。
模式之间的转换发生在定义的阈值上,避免模式内不必要的切换,从而减少输出电压纹波。
*附件:tps63810.pdf
两个寄存器,可通过 I 访问^2^C,设置输出电压,VSEL引脚选择哪个输出电压寄存器处于活动状态。因此,这些器件可以支持动态电压调节。如果输出电压寄存器在工作期间发生变化或VSEL引脚被切换,则器件会以定义的可编程斜坡速率传输。
特性
- 输入电压范围:2.2 V 至 5.5 V
- 输出电压范围:1.8 V 至 5.2 V
- 我^2^在运行和关闭期间可配置 C
- VSEL 引脚在两个输出电压预设之间切换
- 输出电流
- V 电压高达 2.5 A
我 ≥ 2.5 V,V O = 3.3 伏 - V 电压高达 2.5 A
我 ≥ 2.8 V、V O = 3.5 伏
- 在整个负载范围内效率高
- 13μA低工作静态电流
- 自动省电模式和强制PWM模式(I^2^C 配置)
- 峰值电流模式降压-升压架构
- 降压、降压-升压和升压作之间的定义转换
- 正向和反向电流作
- 启动到预偏置输出
- 安全和稳健的作特性
- 集成软启动
- 过热和过压保护
- 关机期间真正的负载断开
- 正向和反向电流限制
- 两种设备选项:
- TPS63810:预编程输出电压(3.3 V、3.45 V)
- TPS63811:在启动前对输出电压进行编程
- < 20 mm 的溶液尺寸^2^只有四个外部组件
参数

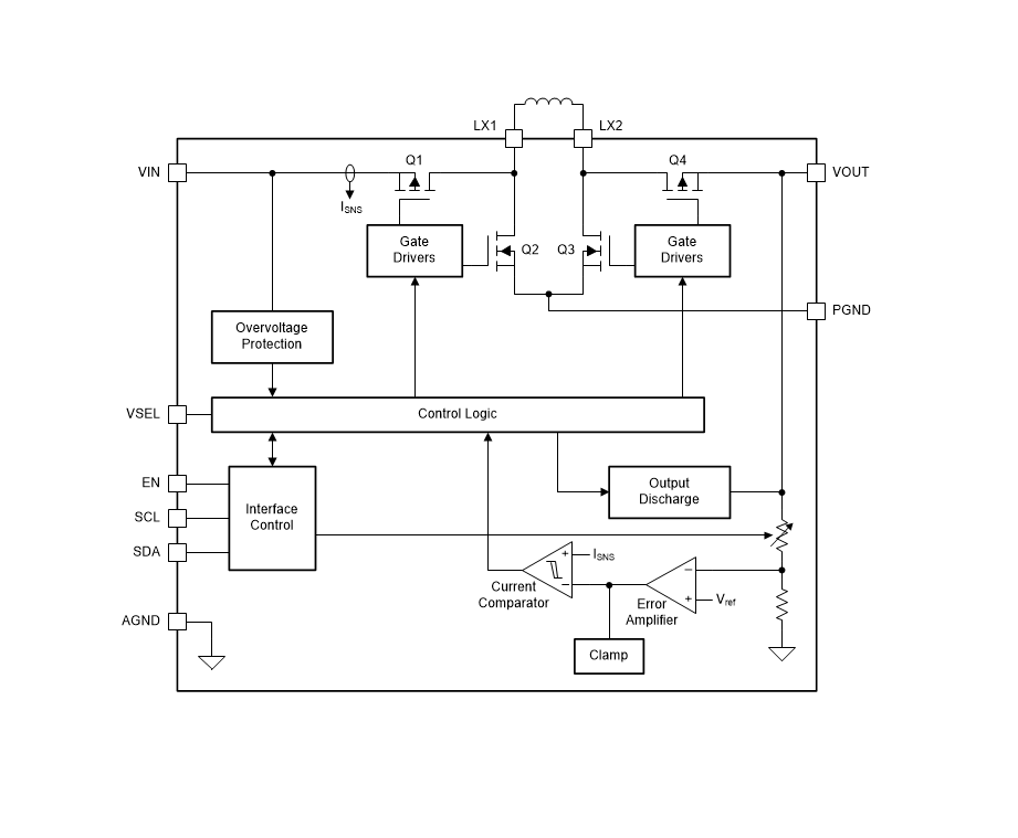
方框图

1. 产品概述
- 型号:TPS63810(预编程输出电压:3.3V/3.45V)和TPS63811(启动前可编程输出电压)。
- 特性:
- 输入电压范围:2.2V至5.5V,输出电压范围:1.8V至5.2V(通过I2C或VSEL引脚配置)。
- 输出电流:高达2.5A(VI≥2.5V时,VO=3.3V)。
- 高效率:13μA静态电流,支持自动省电模式(PSM)和强制PWM模式。
- 集成保护功能:过温、过压、真负载断开、软启动等。
- 封装:15球DSBGA(2.3mm×1.4mm)。
2. 关键功能
- 工作模式:
- Buck模式(VI > VO)、Boost模式(VI < VO)、Buck-Boost模式(VI ≈ VO),自动切换。
- 动态电压调节(DVS) :通过I2C或VSEL引脚实现输出电压的平滑切换,支持四种可编程转换速率(1V/ms至10V/ms)。
- 控制模式:
- PSM(省电模式) :轻载时效率优化,但输出纹波较大。
- FPWM(强制PWM) :全负载范围内低纹波,适合瞬态响应要求高的场景。
3. 应用领域
- 智能手机/平板预稳压器、TWS耳机、医疗助听器。
- ToF摄像头传感器、物联网设备(IoT)、热电设备(TEC)供电。
4. 设计要点
- 输入电容:推荐≥10μF陶瓷电容,远距离供电需增加47μF电解电容。
- 电感选择:0.47μH,饱和电流需比最大电感电流高20%(如6.1A)。
- 输出电容:最小16μF(如2×22μF陶瓷电容),高压输出需3×22μF或2×47μF。
- I2C接口:支持标准/快速/快速+模式(最高1MHz),上拉电阻建议3.3kΩ。
5. 保护机制
- 输入过压保护(IVP) :VIN>5.7V时停止开关。
- 热关断:结温>150°C时关闭,<130°C恢复。
- 电流限制:峰值开关电流典型值6A。
6. 性能数据
- 效率:典型值>90%(VO=3.3V,VI=3.6V,IO=1A)。
- 瞬态响应:负载阶跃(10mA→2A)下输出电压波动<200mV。