时间:2023-08-01 16:16
人气:
作者:admin
ANT+协议或AntPlus是一种低功耗无线传输技术,主要用于传输健身设备、运动传感器和智能设备等之间的数据。ANT协议采用2.4GHz的无线频率进行通信,具有低功耗、低延迟和高可靠性的特点。ANT+协议在健身领域得到广泛应用,可以实现心率监测、步数统计、运动轨迹记录等功能。因此,对于一些紧凑的运动设备,ANT+模块不仅要考虑功耗问题也要考虑模块小型化设计。小尺寸设计方案方便模块的设计集成,同时也有助于减少设备的体积及重量。对于一些特殊应用场景,模块定制化需求也是有需要的。
小尺寸无线模块RF51422模块是一款UART接口的ANT+(AntPlus)无线收发模块,内部使用了高性能的SOC芯片,集成了ANT+协议栈。客户可通过标准的UART命令直接实现ANT+设备间的数据收发通讯,主要应用于开发标准ANT+协议的相关产品。此模块可以兼容市面上绝大部分的ANT+协议设备。RF51422严格使用无铅工艺生产和测试,符合RoHS、Reach的标准。

RF51422模块模块内置了以下ANT+(AntPlus)协议:
1.ANT+HeartRateMonitorProfile(ANT+心率监测器协议):用于连接和传输心率监测器数据。
2.ANT+BikeSpeedandCadenceProfile(ANT+自行车速度和踏频协议):用于连接和传输自行车速度和踏频数据。
3.ANT+PowerMeterProfile(ANT+功率计协议):用于连接和传输功率计数据。
4.ANT+FitnessEquipmentProfile(ANT+健身设备协议):用于连接和传输健身设备(如跑步机、健身车等)数据。
5.ANT+WeightScaleProfile(ANT+体重秤协议):用于连接和传输体重秤数据。
6.ANT+FootPodProfile(ANT+步行传感器协议):用于连接和传输步行传感器数据。
7.ANT+LightingControlProfile(ANT+照明控制协议):用于连接和控制照明设备。
8.ANT+MultiSportSpeedandDistanceProfile(ANT+多项运动速度和距离协议):用于连接和传输多项运动的速度和距离数据。
RF51422性能参数
参 数 | 最 小 | 典 型 | 最 大 | 单 位 | 条 件 |
运 行 条 件 | |||||
工作电压范围 | 1.8 | 3.3 | 3.6 | V | |
工作温度范围 | -40 | 25 | 85 | ℃ | |
电 流 消 耗 | |||||
发射电流 | 6.8 | 8 | mA | @3.3V | |
接收电流 | 2.9 | mA | @3.3V | ||
休眠电流 | 0.26 | mA | |||
RF51422模块上电后,通过串口输出启动消息将自动打开ANT+设备的扫描通道。此时如果有ANT+设备在发射数据,串口将不断输出收到的数据。如果不需要此扫描通道,可通过特定命令关闭该通道。模块的工作模式有3种,分别为正常工作模式、休眠模式和固件升级模式。此模块还有一个特点就是小尺寸设计。
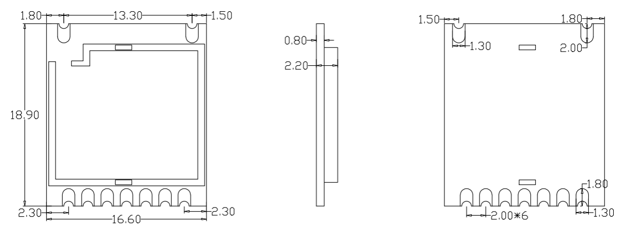
模块机械尺寸(单位:mm,误差±0.01mm)
模块尺寸对于ANT+协议(AntPlus)接口模块,RF51422模块不仅满足低功耗,小尺寸设计要求。思为无线还提供差异化定制需求。从尺寸、功能到性能。从设计,研发到测试。专注量身打造定制化解决方案,确保定制模块的质量和性。