时间:2023-07-27 16:31
人气:
作者:admin
gdbtest.c
#include < stdio.h >
#include < unistd.h >
int main(int argc, char *argv[])
{
unsigned int times = 0;
while(1) {
printf("runing times:%drn", times);
times++;
sleep(1);
}
}
编译命令
这里自己选一个已经安装的 gcc 编译器即可,注意需要加
-g 选项,才能使用 gdb 调试
arm-linux-gnueabihf-gcc gdbtest.c -o gdbtest -g //编译测试程序,注意-g 选项
编译后会产生 gdbtest 文件

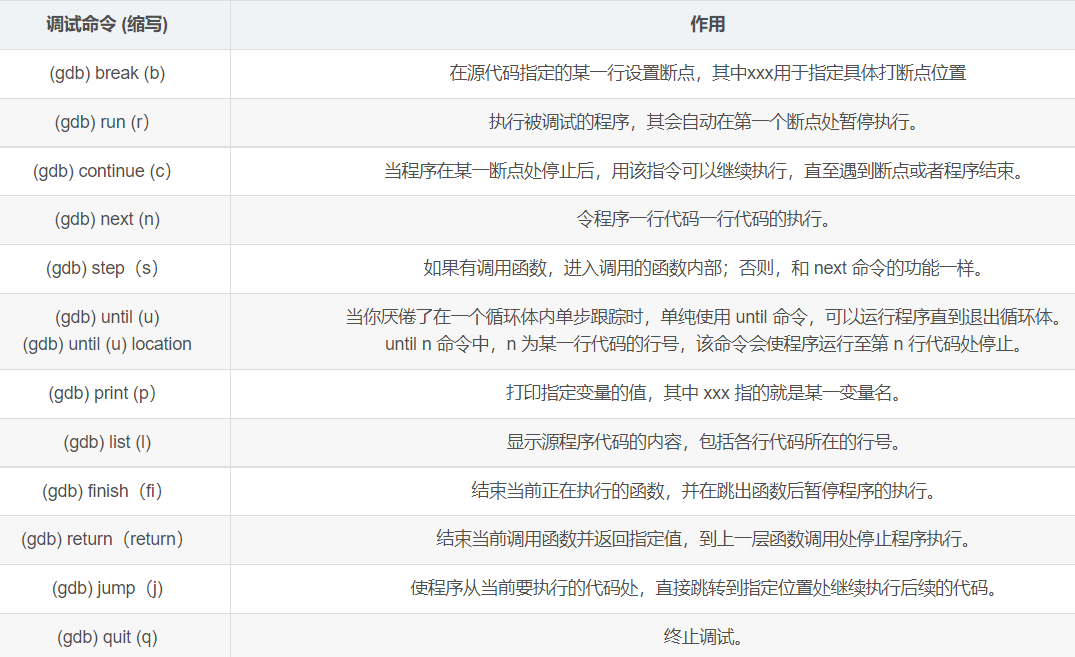
调试命令:
gdb xxx

会出现一个 (gdb)的指示符,等待你输入命令,可用的命令如下:

当然不止这些,还有很多,常用的就这几个。
举例:输入 l

回车代表执行上一个命令。
b
命令(break)用于设置断点,也可以用缩写“b”,后面可以跟具体的函数或者行号,比如“break
main”表示在 main 函数处设置断点,“break 11”在第 11 行设置断点。
c
命令用于运行到断点出,输入 c 命令程序就会运行,直到下一个断点处。
上一篇:嵌入式Linux GDB是什么
下一篇:裸机编程或单片机开发