时间:2023-07-19 09:36
人气:
作者:admin
通信技术从1G演变到现在的5G,和即将登场的6G,信号带宽越来越宽,调制方式越来越复杂,峰均比越来越高,随之带来的功放线性化技术要求越来越高。
本文来介绍一下现有的线性化技术。
功率回退
功率回退是最简单最有效的线性化技术。
回退是以牺牲效率为代价的,这种技术适用于没有任何数字技术和模拟线性技术的公司。
负反馈技术
负反馈原理

从上述公式可以看出,负反馈方案可以降低由功放带来的噪声。

常用的负反馈技术有笛卡尔环负反馈,和极坐标负反馈。
一般来说,负反馈可以提升10dB左右的线性。
但是由于负反馈会造成延时,同时可能会引起不稳定,所以此技术只适用于低速系统。
前馈技术


该技术利用两个环路实现功放非线性的前向通路补偿,这两个环路分别是信号消除环和失真消除环,信号消除环利用延迟后的原始输入信号减去衰减的主放大器放大信号,以得到主放大器的失真信号,失真消除环将失真信号放大后,对主放大器的放大信号进行补偿,从而得到原输入信号的线性放大输出信号。
前馈线性化技术不会降低功放增益,增益带宽与实际带宽一致,不像负反馈技术那样有额外的带宽要求,改进过程与系统延迟信号无关,不存在负反馈技术那样的稳定性的问题,因此前馈线性化技术无条件稳定,线性化改进可以多级实现,并且对元器件失效具有强容忍性,该技术得到了广泛应用。
但是前馈对电路的幅度和相位延时要求非常高,电路设计也比较复杂,不适用与批量。
预失真
射频预失真
射频预失真是在功放前利用射频有源器件对信号进行预失真,射频有源器件与功放特性完全相反,这样失真后的信号经过放大器之后,输出信号将与原信号成正比放大关系。
此种技术简单,但是线性化效果一般,同时不适用于宽频系统。仅仅能够实现改善作用,比如线性差几个dB,可以用技术补偿。
数字预失真
数字预失真前文有详细讲过,此技术最难的在于实现,很多公司都有在做,但是线性化效果相差甚远,华为DPD可以做到邻道70dB,但是很多公司就只能做到35dB。

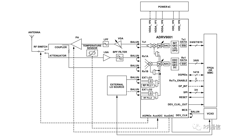
目前市面上也有DPD此类芯片出现,例如ADI的AD9002系列,此类芯片集成了DPD算法,适用于多种功放。此类芯片的开放,让很多没有DPD技术的公司看到了机会。
总结
线性化技术对于发射机至关重要,数字预失真也慢慢变得没那么神秘,虽然各家线性化效果相差甚大,但是走出第一步,才有超越的机会。
审核编辑:刘清
上一篇:介绍几个Nginx性能优化方法