时间:2022-04-06 15:19
人气:
作者:admin
摘要:大型公共建筑总面积不足城镇建筑总面积的4%,但总能耗却占全国城镇总耗电量的22%,大型公共建筑单位面积年耗电量达到70~300KWh,为普通居民住宅的10~20倍。公共建筑是节能大户和节能主要对象,做好公共建筑节能工作,对推动和带动全社会节能工作,实现节能减排目标,落实“转方式、调结构”重大战略具有重要意义。本文介绍咸阳市朝阳医院能耗监测系统,采集现场配电室的电力仪表,仪表就地组网后通过现场总线通讯并远传至后台,通过Acrel-5000型建筑能耗监测系统实现整个基地用电的监测分析。
关键词:公共建筑;能耗监测系统;ACREL-5000;
1 引言
统计显示,我国建筑能耗约占全国总能耗的28%,在我国每年新建的20亿平方米建筑中,其中99%是高能耗建筑;而既有的建筑中,仅有4%采取了节能措施。大型公共建筑不但能耗密度高,而且能源浪费非常严重,具有巨大的节能空间,建筑节能的推广已经势在必行,节能降耗,计量先行。
大力开展绿色建筑行动,以绿色、循环、低碳理念指导城乡建设,有利于提高资源能源使用效率,减少资源能源供需紧张矛盾;有利于降低社会总能耗,减少污染物排放,确保完成节能减排任务;有利于推动建筑产业优化升级,培育节能环保、新能源等战略性新兴产业;有利于提高建筑健康性,提高群众生产生活条件。各级、各部门要把开展绿色建筑行动作为大力推进文明建设的重要内容,进一步增强责任感和紧迫感,统筹规划,狠抓落实,推动城乡建设走上绿色、循环、低碳的科学发展轨道,推动经济社会协调、可持续发展。
2 设计依据
GB-T 15587-2008 《工业企业能源管理导则》
《评价企业合理用电技术导则GB》
《企业节能规划编制通则》
《企业能源审计技术通则-GB》
GBT23331-2009《能源管理体系要求》
GB-50052-2009 《供配电系统设计规范》
u 能耗计量装置国家及行业标准
DL/T 645-1997 多功能电能表通信规约
DL/T 645-2007 多功能电能表通信规约
CJ/T 188-2004 户用计量仪表数据传输技术条件
GB/T 19582-2008 基于Modbus协议的工业自动化网络规范
3 项目概况
咸阳市朝阳医院位于陕西省咸阳市秦都区陈杨寨,此项目共有一间变配电室,值班室位于配电室旁边。
本项目变配电室内共有96只安科瑞电气股份有限公司AMC系列多功能电表需要进行能耗监测。因此针对本项目的性质,设计一套能耗系统,并在值班室配置一台通讯管理机,对变配电室的电表进行数据采集。电表的数据采集后按照能耗分类分项原则进行分析展示。
本项目主要要解决基础能耗数据的智能化、自动化、可视化、可量化的收集与存储;建立能源管理平台、实现能源的集中化管理;深入分析能源消耗过程与趋势;建立能耗监测与公示平台。通过对此项目的用电统一综合管理,可以对各区域设备能源使用情况进行查询分析,帮助管理人员发现潜在的节能机会,提高能源利用效率,科学合理地管理能源使用,从而降低能源使用费用,为建立节约型社会发挥作用。
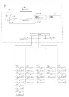
4 系统架构
安科瑞Acrel-5000建筑能耗分析管理系统以工作站主机、通讯设备、测控单元为基本工具,为大型公共建筑的实时数据采集及远程管理提供了基础平台,它可以和其他楼宇自动化系统进行数据转发构成复杂的监控系统。该能耗系统主要采用分层分布式计算机网络结构,如系统结构图所示:

系统结构图
5 系统软件模块
综合能耗主界面
反映建筑物当年用能各分类能耗和折算为标准煤的综合能耗,并计算得到单位面积能耗;
通过表计计量的主要为电能消耗,界面下方显示电能的当日逐时用能曲线;单击每个分类能耗的上部区域,可跳转到该分类能耗的用能分析主界面;
可通过下拉框切换建筑物,建筑物图片可根据项目要求替换;
分类能耗主界面
反映某分类能耗(例如电)当日及昨日同期、当月及上月同期、当年及上年同期的用能及对比,增长百分比及增加值;
反映某分类能耗过去48小时、过去31天、过去12个月、过去3年的用能趋势;
反映某分项能耗的当月用能饼图;
反映某分类能耗当年各月用能同比分析图;
分类能耗支路用能统计报表
可灵活选择支路,并统计某段时间内支路用能的日、月、周、季、年用能;
通过透视表功能强大,用户可进行多种数据统计,并对数据进行组合排序;
统计数据可通过柱状图、点线图、堆积图、饼图等多种图表展示;
统计数据可导出至Excel;
分类能耗支路非工作日用能
统计对各支路工作日和非工作日用能,非工作日可通过系统灵活设置
统计数据可导出至Excel;
分类能耗支路同比分析
统计各支路当年每月用能及去年同期用能;
分类能耗支路用能集抄
查询各支路任意两个时间的表计读数,并计算出差值;
时间精度到分钟;
分类能耗支路分时段用能趋势分析
可查询任一支路某段时间内的用能参数(例如电压、电流、功率、功率因数等),具体可查询的参数与安装的仪表和系统配置有关,查询时不可跨月;
数据以图表或表格的形式显示,图表可通过鼠标操作放大、缩小、移动;可对数据进行排序;
数据可导出至Excel;
配置选项
依照相关技术规范配置建筑物的基本信息,例如:建筑功能、建筑面积、空调面积、建筑地址等,其中建筑面积等信息将用能单位面积能耗分析;
配置项目中使用的仪表的类型、型号、生产厂家等基本信息,并添加该型仪表所能提供的监测参数信息,此处配置情况影响能耗统计、分时段用能统计、参数查询功能;
配置项目中使用到的所有计量仪表,保存计量仪表的地址、变比、对应的采集器、代码、监测回路的名称等信息;
配置分项能耗统计时涉及到的计量表计、所占比例、运算方式等信息,可根据项目情况灵活配置,此处配置信息将影响各分类能耗分项用能分析小模块中的功能;
配置各部门用能对应的计量仪表、运算方式、所占比例以及部门用能计划,完成此项配置后将启用部门能耗分析功能模块;
配置建筑物中某用能区域对应的计量仪表、运算方式、所占比例,完成此项配置后将启用区域能耗分析功能模块
6系统建设的意义
1) 计量装置设计安装 能效监测平台搭建
通过梳理用户的用能网络,在各配电回路设置电能计量表计,为该项目搭建完整的用能计量体系。管理人员就可以通过软件对项目内用电做实时的监控,同时能够减少用能的“跑、冒、滴、漏”和计量误差。实时监视现场仪表的回传数据,对能耗进行合理的管控和预警,及时发现并改正运行中存在的能耗异常,随时处理。按需设置重要设备的超标预警值,超标时醒目提醒并主动记录。
2) 用能数据采集存储 形成可视化趋势图
通过软件可以直观的看到各部门或区域的每小时用能的趋势曲线图,同时对各仪表采集回来的数据进行实时存储,可以查询历史的数据记录。
3) 确定高能耗范围 诊断形成高耗原因
统计各区域、各楼层能源消耗,准确定位能源消耗大户,制定节能绩效考核制度,推动节能降耗的合理执行。为用能主要设备建立运行记录档案,结合设备维护保养记录,为设备的运行维护提供依据。
4) 配置节能节电产品 改进运营管理模式
长期跟踪记录设备运行过程中的能效分析评估结果,关注用能走向,为节能改造提供可靠的数据支撑,在经过节能改造之后,根据能耗监测平台对比节能实施效果。
参考文献:
住房和城乡建设部技术要求[2008]114号文
编辑:黄飞