时间:2018-03-19 09:21
人气:
作者:admin
由于计算机软件的非法复制,通信的泄密、数据安全受到威胁,解密及盗版问题日益严重,甚至引发国际争端,所以在信息安全技术中,加密技术占有不可替代的位置,因此对信息加密技术和加密手段的研究与开发,受到各国计算机界的重视,发展日新月异。现在我们就几种常用的加密算法给大家比较一下。
DES加密算法
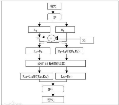
DES加密算法是一种分组密码,以64位为分组对数据加密,它的密钥长度是56位,加密解密用同一算法。DES加密算法是对密钥进行保密,而公开算法,包括加密和解密算法。这样,只有掌握了和发送方相同密钥的人才能解读由DES加密算法加密的密文数据。因此,破译DES加密算法实际上就是搜索密钥的编码。对于56位长度的密钥来说,如果用穷举法来进行搜索的话,其运算次数为256。
随着计算机系统能力的不断发展,DES的安全性比它刚出现时会弱得多,然而从非关键性质的实际出发,仍可以认为它是足够的。不过,DES现在仅用于旧系统的鉴定,而更多地选择新的加密标准。

AES加密算法
AES加密算法是密码学中的高级加密标准,该加密算法采用对称分组密码体制,密钥长度的最少支持为128、192、256,分组长度128位,算法应易于各种硬件和软件实现。这种加密算法是美国联邦政府采用的区块加密标准,这个标准用来替代原先的DES,已经被多方分析且广为全世界所使用。
AES加密算法被设计为支持128/192/256位(/32=nb)数据块大小(即分组长度);支持128/192/256位(/32=nk)密码长度,,在10进制里,对应34×1038、62×1057、1.1×1077个密钥。
RSA加密算法
RSA加密算法是目前最有影响力的公钥加密算法,并且被普遍认为是目前最优秀的公钥方案之一。RSA是第一个能同时用于加密和数宇签名的算法,它能够抵抗到目前为止已知的所有密码攻击,已被ISO推荐为公钥数据加密标准。RSA加密算法基于一个十分简单的数论事实:将两个大素数相乘十分容易,但那时想要,但那时想要对其乘积进行因式分解却极其困难,因此可以将乘积公开作为加密密钥。
Base64加密算法
Base64加密算法是网络上最常见的用于传输8bit字节代码的编码方式之一,Base64编码可用于在HTTP环境下传递较长的标识信息。例如,在JAVAPERSISTENCE系统HIBEMATE中,采用了Base64来将一个较长的唯一标识符编码为一个字符串,用作HTTP表单和HTTPGETURL中的参数。在其他应用程序中,也常常需要把二进制数据编码为适合放在URL(包括隐藏表单域)中的形式。此时,采用Base64编码不仅比较简短,同时也具有不可读性,即所编码的数据不会被人用肉眼所直接看到。
MD5加密算法
MD5为计算机安全领域广泛使用的一种散列函数,用以提供消息的完整性保护。对MD5加密算法简要的叙述可以为:MD5以512位分组来处理输入的信息,且每一分组又被划分为16个32位子分组,经过了一系列的处理后,算法的输出由四个32位分组组成,将这四个32位分组级联后将生成—个128位散列值。
MD5被广泛用于各种软件的密码认证和钥匙识别上。MD5用的是哈希函数,它的典型应用是对一段信息产生信息摘要,以防止被篡改。MD5的典型应用是对一段Message产生fingerprin指纹,以防止被“篡改”。如果再有—个第三方的认证机构,用MD5还可以防止文件作者的“抵赖”,这就是所谓的数字签名应用。MD5还广泛用于操作系统的登陆认证上,如UNIX、各类BSD系统登录密码、数字签名等诸多方。
SHA1加密算法
SHA1是和MD5一样流行的消息摘要算法。SHA加密算法模仿MD4加密算法。SHA1设计为和数字签名算法(DSA)一起使用。
SHA1主要适用于数字签名标准里面定义的数字签名算法。对于长度小于2“64位的消息,SHA1会产生一个160位的消息摘要。当接收到消息的时候,这个消息摘要可以用来验证数据的完整性。在传输的过程中,数据很可能会发生变化,那么这时候就会产生不同的消息摘要。SHA1不可以从消息摘要中复原信息,而两个不同的消息不会产生同样的消息摘要。这样,SHA1就可以验证数据的完整性,所以说SHA1是为了保证文件完整性的技术。
SHA1加密算法可以采用不超过264位的数据输入,并产生一个160位的摘要。输入被划分为512位的块,并单独处理。160位缓冲器用来保存散列函数的中间和最后结果。缓冲器可以由5个32位寄存器(A、B、C、D和E)来表示。SHA1是一种比MD5的安全性强的算法,理论上,凡是采取“消息摘要”方式的数字验证算法都是有“碰撞”的——也就是两个不同的东西算出的消息摘要相同,互通作弊图就是如此。但是安全性高的算法要找到指定数据的“碰撞”很困难,而利用公式来计算“碰撞”就更困难一目前为止通用安全算法中仅有MD5被破解。
加密算法是密码技术的核心,以上这些加密算法是常用的加密算法,而这些算法有些已经遭到破译,有些安全度不高,有些强度不明,有些待进—步分析,有些需要深入研究,而神秘的加密算法世界,又会有新的成员加入,期待更安全的算法诞生。
小知识之加密算法:
数据加密的基本过程就是对原来为明文的文件或数据按某种算法进行处理,使其成为不可读的一段代码,通常称为“密文”,使其只能在输入相应的密钥之后才能显示出本来内容,通过这样的途径来达到保护数据不被非法人窃取、阅读的目的。 该过程的逆过程为解密,即将该编码信息转化为其原来数据的过程。