时间:2023-05-24 16:42
人气:
作者:admin
一、自锁、互锁电路
1)自锁电路
自锁电路常用于电动机的起保停控制。
按下启动按钮X0电动机开始运行,松开启动按钮后电动机保持运行,按下停止按钮X1电动机停止运行。

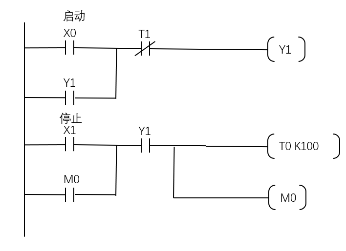
2)互锁电路
互锁电路常用于电动机的正停反、正反转、星三角降压启动等控制电路中,主要目的是防止两个线圈同时接通而造成的电动机短路等故障。
以电动机的正停反控制为例。
将电动机正转控制线圈Y1的常闭触点接入电动机反转控制线圈Y2的程序段中,当电动机正转运行时按下反转按钮X1电动机反转控制线圈Y2不会接通,电动机继续正转运行。只有按下停止按钮X2使电动机停止后再按反转按钮X1电动机才能切换到反转运行。
电动机从反转运行切换到正转运行亦是如此。

二、延时电路
1)接通延时电路
按下启动按钮X0,定时器T0开始计时,当T0当前值等于设定值后,T0的常开触点接通,线圈Y0接通,按下停止按钮X1,T0复位线圈Y0。

2)断开延时电路
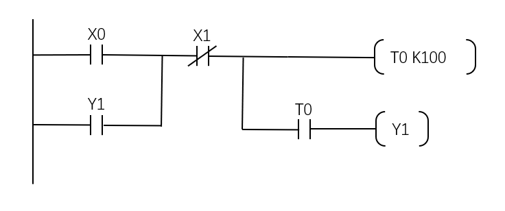
按下启动按钮X0线圈Y1接通,按下停止按钮X1定时器T0开始计时,当T0当前值等于设定时,T0的常闭触点变为常开,线圈Y1断开。

3)接通延时和断开延时组合电路
按下启动按钮X0定时器T0开始计时,计时时间到线圈Y0接通,按下停止按钮X1定时器T1开始计时,计时时间到线圈Y0断开。

三、闪烁电路
1)先亮后灭
按下启动按钮X0辅助继电器M0自锁,同时定时器T0开始计时,线圈Y1接通。T0计时时间到Y1断开,定时器T1开始计时,T1计时时间到复位T0,程序重新开始循环。

2)先灭后亮
按下启动按钮X0辅助继电器M0自锁,同时定时器T0开始计时,T0计时时间到线圈Y1接通,同时定时器T1开始计时,T1计时时间到复位T0,程序重新开始循环。

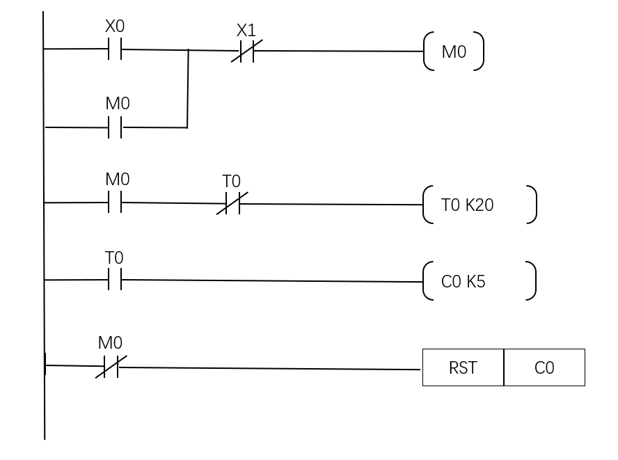
三、长延时电路
由于FX2N系列PLC定时器的最长定时时间为3276.7s,若需要更长的定时时间,可以借助计数器实现。
按下启动按钮X0,定时器T0开始计时,计时时间到计数器C0当前值加“1”,同时T0复位并重新开始计时,直到C0的当前值等于设定值。
定时时间=C0设定值*T0设定值(需要将T0设定值转换成秒后再代入计算)。

四、一键启停
第一次(单数次)按下按钮X0,计数器C0、C1当前值同时加“1”,且线圈Y1接通;第二次(偶数次)按下按钮X0,计数器C1当前值加“1”,同时复位C0、C1,线圈Y1断开,开始下一次循环。

五、双线圈
在程序中两次或两次以上使用同一线圈的现象称为双线圈,这时前面的输出无效,只有最后一次才有效,可以借助辅助继电器解决。

上一篇:PLC自动步程序的7种编程方法
下一篇:机器视觉和模式识别库汇总