时间:2023-05-19 15:52
人气:
作者:admin
1引言
阳城国际发电有限责任公司是于1996年10月10日投资组建的中外合作企业。该公司建设和经营的阳城电厂,位于山西省晋城市阳城县北留镇。东距晋城市25公里,西距阳城县城10公里。阳城电厂项目一期工程安装6台35万千瓦亚临界燃煤发电机组,阳城电厂以专厂、专线、专供的方式全部送往江苏省。
我公司于2008年10 月至2009年2月27日,先后对该发电厂一期4#、1#及3#机组六台凝结水泵(6KV/1185KW)调速系统进行了变频改造。该电厂选用我公司生产的高压变频器JD-BP37-1250F一拖二系列,通过调节变频器运行频率来改变电机转速,以调节水泵的流量及压力。该三台变频器自投入运行以后,运行稳定,节能效果显著。
2凝结水泵运行工况
2.1工艺介绍
在汽轮机内做完功的蒸汽在凝汽器冷却凝结之后,集中在热水井中,这时凝结水泵的作用是把凝结水及时地送往除氧器中。维持凝结水泵连续、稳定运行是保持电厂安全、经济生产地一个重要方面。凝结水泵电机为 6KV/1185KW 电机,每台机组配备两台凝结泵,一台运行,一台备用。工频运行情况下,凝汽器内的水位调整是通过改变凝结水泵出口阀门的开度进行的,调节线性度差,大量能量在阀门上损耗。同时由于频繁的对阀门进行操作,导致阀门的可靠性下降,影响机组的稳定运行。使用高压变频器之后,凝结水泵出口阀门不需要调整,通过调节变频器的输出频率改变电机的转速,达到调节出口流量及压力的目的,满足运行工况要求。
2.2设备参数

3高压变频器原理
3.1系统结构
JD-BP37系列高压变频调速系统的结构,由移相变压器、功率单元和控制器组成。高压变频器6KV/1250KW系列有24个功率单元,每8个功率单元串联构成一相,图1中给出了系统结构示例。

3.2功率单元电路
每个功率单元结构上完全一致,可以互换,其主电路结构如图所示,为基本的交-直-交双向逆变电路,图中通过逆变块IGBT反并联的二极管构成三相全桥方式整流,整流后的给滤波电容充电,确定母线电压, 通过对IGBT逆变桥进行正弦PWM控制实现双向逆变。

3.3输入侧结构
输入侧由移相变压器给每个单元供电,每个功率单元都承受电机电流、1/8的相电压、1/24的输出功率。24个单元在变压器上都有自己独立的三相输入绕组。功率单元之间及变压器二次绕组之间相互绝缘。二次绕组采用延边三角形接法,目的是实现多重化,降低输入电流的谐波成分。
本机中移相变压器的副边绕组分为三组,构成36脉冲整流方式;这种多级移相叠加的整流方式可以大大改善网侧的电流波形,使其负载下的网侧功率因数接近1,输入电流谐波成分低。实测输入电流总谐波成分小于4%。
3.4输出侧结构
输出侧由每个单元的U、V输出端子相互串接而成星型接法给电机供电,通过对每个单元的PWM波形进行重组,可得到阶梯PWM波形。这种波形正弦度好,dv/dt小,可减少对电缆和电机的绝缘损坏,无须输出滤波器就可以使输出电缆长度很长,电机不需要降额使用,可直接用于旧设备的改造;同时,电机的谐波损耗大大减少,消除了由此引起的机械振动,减小了轴承和叶片的机械应力。图3为变频器输出的线电压阶梯PWM波形。

3.5控制器
控制器核心由高速32位数字信号处理器(DSP)运算来实现,精心设计的算法可以保证电机达到较优的运行性能。人机界面提供友好的全中文WINDOWS监控和操作界面,同时可以实现远程监控和网络化控制。内置PLC控制器用于柜体内开关信号的逻辑处理,以及与现场各种操作信号和状态信号的协调,可以和用户现场灵活接口,满足用户的特殊需要,增强了系统的灵活性。
控制器与功率单元之间采用多通道光纤通讯技术,低压部分和高压部分完全可靠隔离,系统具有极高的安全性,同时具有很好的抗电磁干扰性能,并且各个功率单元的控制电源采用一个独立于高压系统的供电体系,方便调试、维修、现场培训,增强了系统的可靠性。
3.6 控制电源
控制器有一套独立于高压电源的供电体系,在不加高压的情况下,设备各点的波形与加高压情况基本相似,给整机可靠性、调试、培训带来了很大方便。
系统采用三次谐波补偿技术提高了电源电压利用率,利用了调制信号预畸变技术,使电压利用率近似于1。系统还采用了先进的载波移相技术,它的特点是单元输出的基波相叠加、谐波彼此相抵消。所以串联后的总输出波形失真特别小,实测输出电流总谐波成分小于2%。
4改造方案
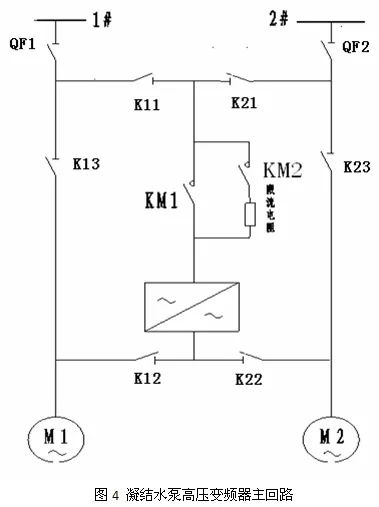
我公司针对现场工艺情况,和阳城国际发电有限公司相关技术人员详细探讨后,采用两台凝泵公用一台变频器的应用形式,主回路示意图如图 4 所示。正常运行时,高压隔离开关K11、K12 合上,断路器QF1合上, 隔离开关K13断开,#1 凝结水泵处于变频运行状态;高压隔离开关K23合上,断路器QF2断开,高压隔离开关K21、K22断开,#2 凝结水泵处于工频热备用状态。当变频运行的凝结水泵因变频器故障跳闸时,另一台凝结水泵可以工频启动。

该一拖二高压变频器含有两个高压刀闸柜,其中M1电动机刀闸柜中变频运行选择隔离开关K11、K12和工频运行选择隔离开关K13具有电气和机械互锁;M2电动机刀闸柜中变频运行选择隔离开关K21、K22和工频运行选择隔离开关K23也具有电气和机械互锁;#11刀闸柜中变频运行选择隔离开关K11和#12刀闸柜中变频运行选择隔离开关K21具有电气互锁,高压变频器同一时间内只能拖动一台凝结水泵电机。为了保证系统的安全稳定,在DCS系统中也做了相同的电气互锁,而且为防止剩余电荷对变频器的损害,在 DCS 操作系统中还设计有逻辑闭锁,即只有在合上变频器下口隔离开关 K12 或 K22 后才能合上断路器 QF1(QF2)。采用两台凝结水泵公用一台变频器的应用形式不仅能充分的利用变频器,而且可以大量节约电厂投资费用。
我公司考虑电厂车间空间狭小,所以高压变频器柜体采取“L”形设计,以较大节省空间,为客户量身定做。
5运行情况

根据实验结果计算,1#、3#及4#单台凝结水泵变频器全年节电量约为4775076KW·h,节电率达到46%。按照每度上网电价0.30元计算,全年可获经济效益1432522.8元,而且避免了对阀门的冲击磨损,保证了恒定水压。
6总结
高压变频装置节能效果明显,采用变频调速后,实现了电机的软启动,延长了电机的寿命,也减少了管道的振动与磨损。同时优选变频器应用方式,节省初投资。通过综合考察对比,阳城国际发电厂选择两台凝结水泵公用一台变频器的运行方式,在电力行业,对于许多高压大功率的辅机设备推广和采用高压变频调速技术,不仅可以取得相当显著的节能效果,是电厂节能降耗的一个有效的途径,而且也得到国家产业政策的支持,代表了今后电力行业节能的方向,目前电力行业越来越多的人员对此都已形成广泛共识。
审核编辑 :李倩
下一篇:机器人控制算法简述