时间:2023-04-23 16:04
人气:
作者:admin
液压缓冲器又叫减震器。是对高速运动的工件作缓冲,进而减轻机器震动,降低工业生产的噪音。当工件运行到一个定位点时,为避免机器直接受到撞击,有一段缓冲距离,可以使工件在停止工作时减轻撞击力,起到保护机器的作用。液压缓冲器在活塞杆压进的时是特制的液油起到缓冲作用,复位由弹簧完成,因此复位比较迅速,工作频率处于较高的状态。
液压缓冲器通过压力控制阀将冲击能量转换成油的流动,从而达到缓冲目的。内置的压缩弹簧将活塞杆回复到初始。 缓冲特性可以通过调节环进行修整。 也可在驱动器动作时进行 动态调整。
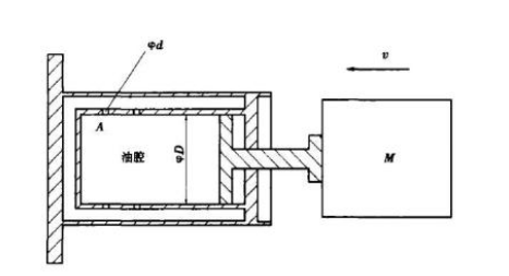
由下图可知:当负载M(设为非驱动型)以速度·撞向液压缓冲器时,由于惯性产生巨大的冲击力而使A腔内的油液压力升高,在高压的驱使下油液由节流孔流出,由于节流孔的流量限制,又因为油液总体积不变,又D》》d,所以活塞的速度受到限制,从而到达减速缓冲的目的。

液压缓冲器通过两个装置之间的油液反复流动和壓力释放来起到缓冲作用,其工作原理主要分为以下几个阶段:
1. 压缩阶段:当被缓冲物体发生碰撞、冲击力等运动性能时,液体被挤压到装置压缩膜的缓冲气腔中,产生压力波,液压缓冲器内部的活塞油液向缓冲腔移动。
2. 减速阶段:当液压缓冲器内部的活塞移动到一定距离时,油液流经阻尼孔,通过活塞和弹簧的削减将原来的冲击力稳定化,缓存能量并使其消耗。
3. 重构阶段:当液压缓冲器内部的油液稳定下来后,恢复初始位置并重新装载,准备下一次的操作。
总体来说,液压缓冲器的工作原理是通过通过液体的流量调节和能量转换,消除高速度运动物体的冲击力和振动,使振动转换成热能逐渐消失。这种装置广泛应用于重型机械设备,以保证其在高速碰撞和运动过程中的安全性和可靠性。