时间:2023-02-28 18:03
人气:
作者:admin
单相电动机双电容的接线方法
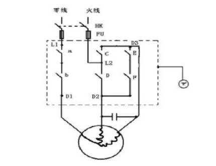
单相电动机双电容的接线方法是:

1、运行电容线和起动电容线并联接于副绕组的一端。
2、起动电容余下的线头连接离心开关线头。
3、开关余下的连接线和运行电容余下的连接线,并联接后和主绕组并接与连接电源线。
4、余下的主绕组和副绕组的各连接线头并接与另一根电源线。
5、接绕组线头时先除去绝缘层。
6、使电机向相反方向旋转,需把主绕组两个电源线对调位置,电机反方向旋转即可完成。
单相电动机电容选配
1、一般运行电容每百瓦按4.5微法选取。启动电容因为启动后断开,所以可在很宽范围内选取。1KW以内的电机选200微法450V,2000W以内电动机可按300-400微法选取。
2、单相电机一般是指用单相交流电源(AC220V)供电的小功率单相异步电动机。这种电机通常在定子上有两相绕组,转子是普通鼠笼型的。两相绕组在定子上的分布以及供电情况的不同,可以产生不同的起动特性和运行特性。
一般运行电容每百瓦按4.5微法选取,启动电容因为启动后断开,所以可在很宽范围内选取,1KW以内的电机选200微法450V.。2000W以内电动机可按300-400微法选取。
修电机时,如果对配用的电容器选择不当,会给电机带来严重后果。更换启动、运转电容时,最好选用与原配置参数相同的电容。
如果电容器损坏,又不知道或看不清标注参数,可按下面公式计算选配:
C=8JS(uF)
式中,C-配用的电容量,单位为微法(uF);J-电机启动绕组电流密度,一般选5~7A/平方mm;s-启动绕组导线截面积(平方mm)。
台扇电机启动绕组线圈重新绕制后,测出启动绕组线径为0.17mm,则截面积S=0.0226平方mm,选J=7A/平方mm,所以
C=8×7×0.0226≈1.26uF
实际选配参数为1.2uF±5%,耐压500V的电容。另外应注意电容的耐压值一定要高于400V,以防击穿。
上一篇:齿轮的主要参数以及结构形式
下一篇:步进电机的功能有哪些?