时间:2022-11-02 11:09
人气:
作者:admin
PLC可编程控制器,具有逻辑控制、时序控制、模拟控制、多机通讯功能。
维修PLC电路,可以不了解PLC的程序,但一定要了解PLC的外部接线。
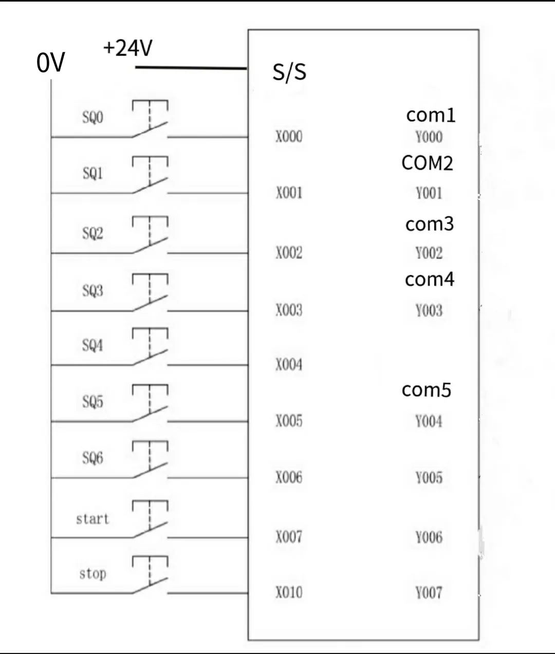
FX3SA-20MT
PLC输入接线
以FX3SA-20MT为例,输入端L、N、PE端子接入电源与地线。S/S与X1-X12接线端子为开关量输入信号。

PLC输入端接线
PLC输入端接线S/S与X0-X13之间的关系。当S/S接入+24V信号时,通过开关给X0端子通入0V信号,S/S与X0之间产生DC24V电压,X0指示灯亮,给PLC程序传送输入信号。
S/S与X0-X13之间的关系与中间继电器线圈的接线很像。

当S/S端接入+24V信号,开关必须给X0-X13端子输入0V信号,使用三线制感应开关、接近开关时必须使用NPN型号开关,输出为0V信号。
当S/S端接入0V信号时,开关必须给X0-X13端输入+24信号,使用三线制感应开关、接近开关时必须使用PNP型号开关,输出为+24V信号。
PLC输出端接线

FX3SA-20MT
FX3SA-20MT输出,24V、0V端子表示输出24V直流电源,可以作为输入端的电源使用。
在PLC的输出端会有明显的分隔线,将PLC的输出端分成一组一组,FX3SA-20MT输出端分成五组,com1与Y0、com2与Y1、com3与Y2、com4与Y3、com5与Y4-Y7,com5是Y4-Y7的公共端。
com1与Y0之间是开关之间的关系,与中间继电器的常开触点很像,当com1接入+24V信号,PLC输出信号Y0时,Y0的指示灯亮,com1与Y0导通,Y0输出+24V信号。
FX3SA-20MT为晶体管输出,输出控制电压一般为直流24V,当需要输出交流220电压时可以选择继电器、晶闸管输出的PLC。
晶体管PLC响应速度比较快,可以输出脉冲信号,控制步进电机与伺服电机。

步进电机控制接线图
PLC电路日常维修
当了解PLC如何接线以后,维修PLC电路,先了解设备的工艺流程,设备初始状态下,观察PLC控制器上的指示灯查看plc输入输出在什么状态,当PLC电路配备触摸屏时,可以在触摸屏上观察I/O点,来了解PLC输入、输出状态。当满足多少输入信号后,机器才可以正常启动,当机器需要下一步动作时,哪一个输入开关信号要导通。

指示灯亮表示输入信号导通、输出信号导通。
PLC电路最常见故障,为输入信号故障。开关的损坏与机械方面没有运动到固定位置,导致开关无法向PLC程序传递信号,引起故障。
2.输出端故障,PLC的输出端一般接继电器、接触器。当PLC发出输出信号时,输出指示灯亮,却无输出时,可以测量输出电压与接触器、继电器线圈电压值。常见故障有接触器、继电器损坏,电线断路,PLC触点损坏。
PLC触点的损坏也是PLC的常见故障,当PLC有多余的触点时,可以在PLC程序中帮损坏的触点更改成多余的触点(网上这方面的教程有很多)。帮已损坏触点下的电线,接到多余的触点下。注意每个触点的电压,如电压值不一致,可以用中间继电器进行转换。当然PLC也可以拆下进行委外维修,标明故障现象。
3.PLC程序的故障,程序故障在日常维修中并不常见,很少发生,以前老式的PLC容易电池没电导致PLC程序丢失,可以更换电池后,从同样设备中导出程序再导入丢失程序的PLC中。
PLC电路在日常维修中,一般不需要了解PLC程序内容。
审核编辑:汤梓红