时间:2018-08-14 17:25
人气:
作者:admin
引言
随着生活水平不断提高,人们对各种休闲方便食品的需求也随之大增,这近一步拉动了我国食品包装业的快速发展。包装机械发展比较快,拥有着广阔的发展前景,其自动化水平也在不断提高,自动控制技术在称量充填生产中应用越来越多,在大米、豆类、奶粉、饲料、金属粉末、塑料颗粒、各种化工原料和轻工等行业都有广泛的应用。相对于传统的称重仪表控制,应用PLC 、触摸屏、变频器(或者伺服)组成的控制系统便于将重量设置、开关量设置、操作设定和参数修改等功能有机结合,从而提高机器速度、精度以及操作的便利性。
▼ 自动称量充填包装机
该自动称量充填包装机是由上料、称重与下料料部分组成。上料部分分为储料斗和重力供料装置。储料斗用于存储需要充填的物料,重力供料装置主要是向称量料斗中提供物料。称重部分即称量斗,它通过和称重传感器相连,测量物料重量。下料部分用来完成重量物料的下料装袋。其工作流程是:人工协助上袋、自动称量、夹袋、充填、振动、推袋、经传送带传递进行自动缝包或封口。通过改变给料方式,适应于包装超细粉到大颗粒物料的敞口袋定量包装。
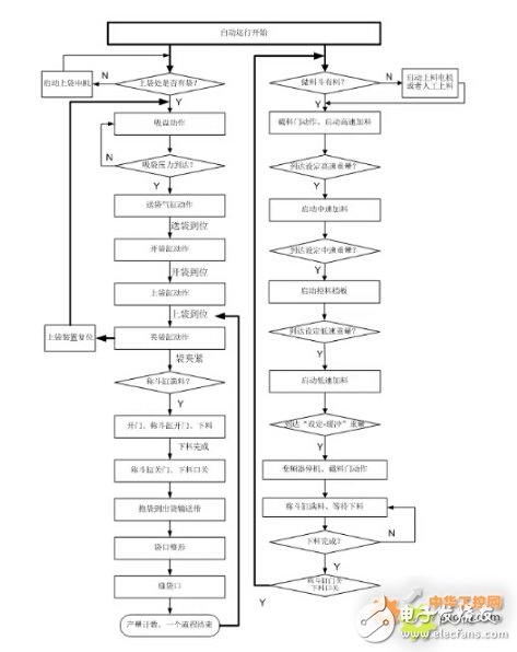
▼ 工作流程图

该系统主要为开关量控制,上袋、送袋、料门、抱袋等由气缸驱动,设备可手动操作也可以自动操作。手动操作要求用按钮对机器的每一步运动单独进行操作控制。自动操作在触摸屏上选择了“自动模式”后按“启动”按钮,机器自动地、连续不断地周期性循环。在工作中若按下停止按钮,则机器停止(下料动作也停止,称斗缸中剩余物料的重量记忆住),按“复位”按钮,设备回到初始状态。
▼ 控制系统图示
▼ 现场应用图
该自动称量充填包装机的操作和控制要求,控制系统选用Banner公司的BSP02 系列PLC,此系列的PLC 具有结构紧凑、模块化、可扩展性强、指令集丰富等特点。对外界接口具有很强的适应性。并且1 个RS485 通讯口1个RS232编程口,具有标准Modbus通讯协议。重量处理通过PLC的RS485通讯口和称重模块通讯得到实时重量数值;螺旋送料以及出袋输送带选用Banner公司BMD-A系列变频器驱动,BMD-A系列变频器具有32Bit处理器、响应速度快、启动转矩大、过载能力强优点,通过变频器最多16段的多段速功能实现多级加料,确保重量精度; Banner公司THM系列触摸屏对整个系统进行过程监控显示以及参数设定等功能。
系统设计了为各功能画面,包括显示功能、参数设定功能、称的标定、自动去皮、不同物料的参数配方功能等。
▼ 部分程序设定图
对于重量信号的处理中,由于称量信号存在干扰,需要对信号进行滤波处理,并判断信号是否稳定,读数是否准确。在PLC程序中,对于称重模块反馈回来的重量数据进行了相应的处理,使其重量数值精确、稳定度高。
该设备现场调试结束后在最终用户处实际包装粉料,充填称重重量误差小且稳定,整机性能稳定、运行效率高,超预期完成客户的使用要求。
下一篇:邦纳控制系统在双面贴标机中的应用