时间:2018-05-24 16:14
人气:
作者:admin
ESPE电敏保护装置在制造业的安全系统中的应用愈发表现出强劲的势头,一些高端制造工厂的大型工位都已全面应用二维甚至三维的保护系统。
更多的生产设备,在需要频繁介入的场合,充分考虑物料飞溅、火花、粉尘等发散式风险后,几乎都会选择使用安全光幕作为解决方案。使用安全光幕的好处在于:
1.电敏保护装置技术产业链成熟,产品分类明确,各类分辨率及安全性能等级均能满足要求;
2.安全技术发展快,各个方面的改进技术不断突破瓶颈并形成规范,未来标准化道路清晰;
3.安全光幕作为主动防御的技术,在多数情况下允许自动复位,能够有效解决生产制造过程中的落地问题,大大降低操作复杂程度,提高生产效率。
PILZ的安全光幕和扫描仪产品
安全光幕的信号干扰
作为安全的电敏保护装置,安全光幕在带来便捷使用的同时,信号干扰问题也是必须要关注的问题之一。
安全光幕的信号干扰通常来自两个方面:
光幕与环境的干扰:
如果在安全光幕发出的光束附近有反射面,被动反射会使光幕接收端收到错误的反射信号,导致保护区域内的入侵不能被识别。
邻近光幕之间的相互干扰:
由于安全光幕被大量的在邻近区域内使用,以及光幕元件自身的保护距离比较长,就容易产生邻近光幕发射端和接收端信号的相互错位。

邻近光幕之间的相互干扰
安全光幕的干扰解决
为了有效避免以上各类干扰,我们可以通过物理定位和技术手段进行抵御。

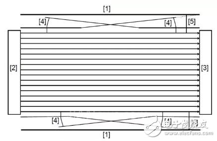
与反射面相关的光幕定位
[1] 反射面
[2] 安全光幕发射端
[3] 安全光幕接收端
[4] 二分之一扫描角度
[5] 安全光幕到反射面的最小距离
物理定位:
光幕自身具备固定的扫描角度,具体参数可以通过光幕技术手册进行查询;同时光幕发射端和接收端的定位根据工况也能够被确认。根据以上两类参数,可以通过三角函数正切(tan或tg)得出防止反射干扰的最小距离。
如果对于多组邻近光幕的使用的情形,可以借助额外的物理阻挡,或者接收端和发射端的安装顺序的倒置来解决光幕之间相互的信号干扰。

多组邻近光幕的使用
技术手段:
除了物理手段以外,某些型号的安全光幕中也已集成了编码功能,即使物理上安装相互靠近也不会产生干涉。
编码功能可使光栅在其他光栅对其产生干涉时也能正常工作。这尤其适用于当第一对光栅的发射端可能直接发射到第二对光栅的接收端的情况,只要这两对光栅被配置成不同的编码,它们之间相互干扰的问题便迎刃而解。

皮尔磁V2.0版本的PSEN opII安全光栅可以设置三种编码 (编码 A, 编码 B 以及无编码)。 光栅编码通过发射端和接收端的5针连接器的接线配置,使得光栅的物理布置有更高的灵活性。
光幕的物理排列从此再无限制!
上一篇:解读被忽视的隐形杀手——电能质量