时间:2017-12-07 14:46
人气:
作者:admin
UPS即不间断电源,是将蓄电池(多为铅酸免维护蓄电池)与主机相连接,通过主机逆变器等模块电路将直流电转换成市电的系统设备。主要用于给单台计算机、计算机网络系统或其它电力电子设备如电磁阀、压力变送器等提供稳定、不间断的电力供应。当市电输入正常时,UPS 将市电稳压后供应给负载使用,此时的UPS就是一台交流式电稳压器,同时它还向机内电池充电;当市电中断(事故停电)时, UPS 立即将电池的直流电能,通过逆变器切换转换的方法向负载继续供应220V交流电,使负载维持正常工作并保护负载软、硬件不受损坏。UPS 设备通常对电压过高或电压过低都能提供保护。
UPS是针对中国电网环境和网络监控及网络系统、医疗系统等对电源的可靠性要求,克服中、大型计算机网络系统集中供电所造成的供电电网环境日益恶劣的问题,以全新的数字技术研制出的第三代工频纯在线式智能型UPS。直流电源,是维持电路中形成稳恒电流的装置。如干电池、蓄电池、直流发电机等。
UPS和直流电源是企业重要的供电保障设备,传统的维护管理包括:①日常巡检外观,定期更换电池、滤波电容、风机等易损件,大修时做电池活化等;②改造或采用换代设备,使用高级工具测试电池性能。这种管理方式企业投入成本高,维护人员工作量大,不易实时掌握设备运行状态和关键数据,设备事故预防能力低。实施在线维护管理可避免传统方式的不足之处,获得良好效益。
UPS的中文意思为“不间断电源”,是英语“Uninterruptible Power System/Uninterruptible Power Supply”的缩写,它可以保障计算机系统在停电之后继续工作一段时间以使用户能够紧急存盘,使用户不致因停电而影响工作或丢失数据。
DCS控制系统
集散控制系统是以微处理器为基础,采用控制功能分散、显示操作集中、兼顾分而自治和综合协调的设计原则的新一代仪表控制系统。集散控制系统简称DCS,也可直译为“分散控制系统”或“分布式计算机控制系统”。
它采用控制分散、操作和管理集中的基本设计思想,采用多层分级、合作自治的结构形式。其主要特征是它的集中管理和分散控制。目前DCS在电力、冶金、石化等各行各业都获得了极其广泛的应用。
DCS通常采用分级递阶结构,如图3.1所示,每一级由若干子系统组成,每一个子系统实现若干特定的有限目标,形成金字塔结构。
可靠性是DCS发展的生命,要保证DCS的高可靠性主要有三种措施:一是广泛应用高可靠性的硬件设备和生产工艺;二是广泛采用冗余技术;三是在软件设计上广泛实现系统的容错技术、故障自诊断和自动处理技术等。当今大多数集散控制系统的MTBF可达几万甚至几十万小时。
UPS系统的工作原理:将供电质量较差的厂用电源首先经整流装置变换成直流电源,一路经充电模块向蓄电池充电,另一路采用高频脉宽调制(SPWM)法在逆变装置内重新将直流电源变成纯正的高质量的正弦波电源向负载供电。当交流工作电源消失或整流装置等元器件故障时,由蓄电池组经电池开关向逆变装置供电。当逆变装置故障输出电压异常或过载时,则切换到自动旁路开关由厂用电直接向负载供电。
该厂对DCS系统输入、输出点数比较少,采用双交流进线单UPS供电方式,对DCS系统输入、输出点数多,采用双交流进线双UPS并机供电方式。
1 双交流进线单UPS接线
双交流进线单UPS供电接线如图1所示:图中正常情况下,由交流输入1向UPS供电,当交流输入1

有故障时,自动切换到交流输入2向UPS供电,交流电源1和2进行电路联锁。UPS正常工作状态下,按“交流输入1—整流—逆变—负载”的运行方式工作;当整流器模块有故障时,按“蓄电池—逆变—负载”的运行方式工作;当蓄电池放电完毕以后自动切换到由自动旁路开关向负载直接供交流电;当逆变器模块有故障时,按“交流输入1—自动旁路开关—负载”的运行方式直接向负载供厂用电;当UPS有严重的故障需维修或更换时,按“交流输入1—手动维修旁路开关”的运行方式向负载供厂用电,这时UPS被短接,可以交出检修或更换,而不影响负载的正常供电。
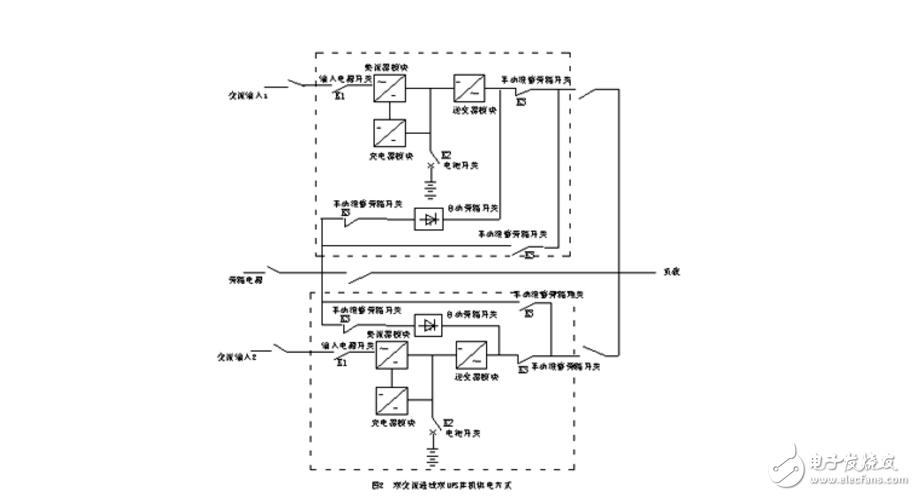
2 双交流进线双UPS并机供电方式

来,要求并联两台UPS的输出电压相同、频率相同、相位相同并所带的负荷电流大小基本平衡。在双UPS并机系统正常运行时,两台UPS各带1/2的负荷电流,一台UPS发生故障,则由另一台带所有的负荷,但必须降负荷使用。这种并机双UPS系统的平均无故障时间是单机系统的7~8倍,从而大大提高了系统的可靠性。但是双UPS并机系统的2台UPS之间的控制有一定的联系,操作时一定要弄清楚并机板的控制逻辑,不然会因操作不当而引起并机板误判断造成输出电压下陷,对负荷造成不良影响。
3 UPS使用注意事项
(1)UPS在选配上要留一定余量,如4KVA的负载,UPS的应配置5KVA以上。
(2)UPS应避免频繁开、停机,最好在长时间开机状态。
(3)新购的UPS应进行充放电,这样有利于延长UPS电池的使用寿命。一般采用恒压充电,充电初始电流不得大于0.5*C5安培(C5可以用电池的额定容量计算出),每个电池的电压控制在2.30~2.35V,以免损坏电池。充电电流连续3小时不变,证明电池已充足,一般充电时间为12~24小时。
(4)如厂用电一直正常,UPS就没有工作的机会,其电池在长期浮充状态有可能损坏,应定期对UPS进行充放电,这样不仅可以活化电池,也可检验UPS是否处于正常工作状态。
(5)要定期检查UPS,每月检查一次浮充电压,如浮充电压低于2.2V,应对整组电池进行均衡充电。
(6)要经常用软布擦试电池,以保持电池表面清洁。
双交流进线双UPS并机供电方式如入2所示:通过将两台具有相同功率的UPS的输出直接并联起 (7)UPS运行过程中的温度控制,因使UPS运行过程中温度范围控制在20℃~25℃内,以延长UPS蓄电池的使用寿命。在没有空调的环境中,UPS的温度控制尤为重要。
(8)UPS在使用后应立即进行充电,使电池恢复到正常状态。
(9)外接电池组至UPS的距离尽量短,导线的截面积应尽量大,以增大导线的导电量,减少线路上的电能损耗,尤其是大电流工作时,线路上的损耗更不可忽视。
4 UPS的日常维护及一般故障处理
4.1 日常维护
(1)每天查看UPS操作显示屏,确认UPS电源的运行状态模拟指示灯是否在正常运行状态。
(2)用耳听UPS电源是否有异常响动,主要是功率模块及隔离输出变压器的冷却风扇,以及变压器是否有异常的震动声音。
(3)检查UPS电源的排风口有无堵塞现象。
(4)每周在UPS电源的显示屏查看电池的浮充电压、UPS的输出电压、电流,并作好记录,与以前数据进行比较,如数据变化比较大,则应及时查明原因。
4.2 一般故障处理
当UPS电源在运行过程中出现报警时,切勿慌乱操作UPS的任何开关和按钮,以免将事故扩大甚至造成UPS输出中断。UPS电源出现报警时,首先应看清显示面板上的状态指示灯及液晶显示屏的提示。UPS具有自诊断功能,一旦出现故障会通过状态指示灯、液晶显示屏提供故障类型、故障时间等信息。待看清状态指示灯及液晶显示屏提供故障类型提示后,再根据不同的故障类型进行进行相应的处理。UPS运行过程中,经常出现以下几种故障。
(1)交流厂用电故障,也就是交流输入停电或出现大范围的波动,UPS出现该告警时,同时出现电池放电告警信息,此时UPS面板状态指示灯的交流输入灯熄灭,电池放电灯亮。处理办法首先要确定是否交流厂用电故障,检查UPS输入开关是否跳闸、保险是否熔断。如确为厂用电故障,在不知道恢复时间的情况下,把不重要的负载切除,以保证重要负载的不间断供电。
(2)逆变器故障,出现该报警的同时,出现自动旁路开关带载告警,首先确认在面板上是否同时出现逆变器超载报警,如有,查看液晶显示屏上的输出电流,如超过额定电流,则关闭不重要的负荷,直到输出电流小于额定输出电流,然后按复位键消除报警后,重新启动逆变器并输出。如没有超载报警信号,说明逆变器不是因为冲击电流而保护关闭,而是IGBT器件或驱动控制有故障,应及时通知厂家进行维修。
(3)旁路失效,出现该报警信号时,一般应同时出现逆变器不同步报警信号。这表明输入的厂用电的电压、频率超出设定范围,但满足整流器要求,这时逆变器自起振,不再跟踪旁路。这时不能再起动大容量负荷,以免冲击逆变器。
5 结束语
只要UPS电源配置合理,日常注意维护和保养,做到防患于未然,就可以使UPS运行稳定、可靠,从而向DCS系统安全、可靠、高质量地供电,确保化工生产的安全、稳定、长周期地运行。
上一篇:污水处理中DCS控制系统的应用
下一篇:dcs和组态软件有什么区别