时间:2015-01-22 17:20
人气:
作者:admin
检验一下这种工业以太网解决方案,它扩大了从控制室到车间的通信范围,不论是定时关键型应用还是苛刻环境下的应用均适用。
解决方案主要特性:
带集成 MAC 的 Sitara™ ARM® Cortex™-A8 处理器
支持主要的工业以太网协议
IEEE 1588 精确时间协议 10/100 PHY
8 纳秒时间戳分辨率
迷你-极限温度 10/100 PHY
在 -40 到 125°C 下无错操作在 137m 以上

方案框图
相关器件:
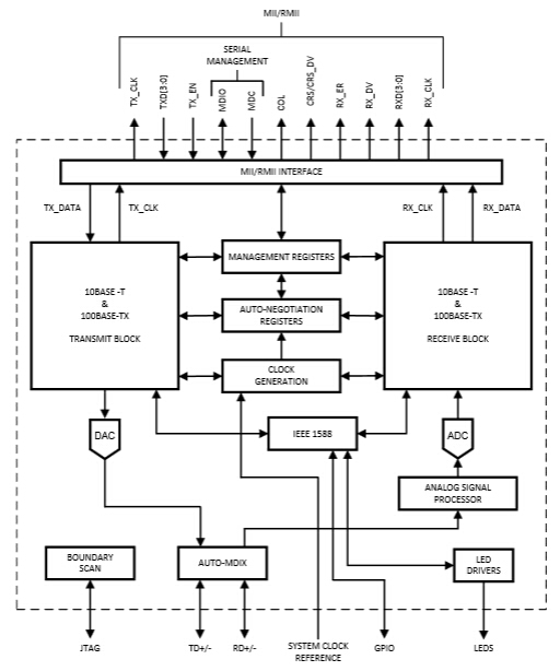
1.DP83630 – 高精度 PHYTER® - IEEE 1588 精确时间协议收发器,具有准确性,低延迟性,并允许选择微控制器无需任何硬件定制。
系统框图:

功能框图:

详细资料:DP83630:高精度 PHYTER - IEEE 1588 精确时间协议收发器
2.AM3359 – Sitara ARM Cortex-A8 处理器。基于 ARM Cortex-A8 的AM335x微处理器在图像、图形处理、外设和诸如 EtherCAT 和 PROFIBUS 的工业接口选项方面进行了增强。
详细资料:AM3359:Sitara ARM Cortex-A8 处理器
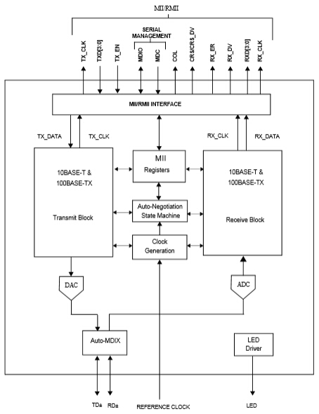
3.DP83848H – 迷你-极限温度单路 10/100 以太网收发器。
系统框图:

功能框图:

详细资料:DP83848H:迷你-极限温度单路 10/100 以太网收发器
下一篇:以太网应用关键技术及设计方案集锦