时间:2024-02-19 12:48
人气:
作者:admin
BGS
英文全称background suppression 即背景抑制的意思,背景抑制光电开关指的是一种检测距离不受背景颜色影响的光电传感器。
传统的漫反型光电传感器根据反射的光亮值进行检测,由于光亮值会受到工件颜色、材质、透明度等因素的影响,所以利用同一款漫反型传感器检测不同工件时,距离会产生很大的变化。在一些在工业自动化及设备里无法正常使用,而背景抑制光电传感器由于其检测所有颜色距离基本相同,重复精度高,响应快等优点,得到了广泛应用。
想知道工程师们是如何实现漫反射光电传感器背景抑制性能的提升吗?
本期小明就来跟大家一起分享一下~
相关技术中的背景抑制光电传感器主要采用PSD接收管接收光信号,PSD接收管的内部含有两个接收管,一般上半区是远距离区,下半区是近距离区,不同距离目标物反射到远距离区与近距离区的能量不同,当远距离区接收能量大于近距离区时,进而能够检测到物体,但是由于不同背景反射能量不一样,远距离时的深黑色物体与白色物体存在至少10%以上的黑白差,不能真正的做到背景抑制,影响检测精度。
为了解决这个困扰,明治传感第17484969 号专利提供了一种背景抑制更佳的背景抑制光电传感器设计方案,使得不同颜色背景反射到接收的位置是一样的,检测黑白差几乎为0,能够做到真正的背景抑制,提高了检测精度。在大批量生产时候还可以对电位器进行批量校准,使出产的产品一致性佳。
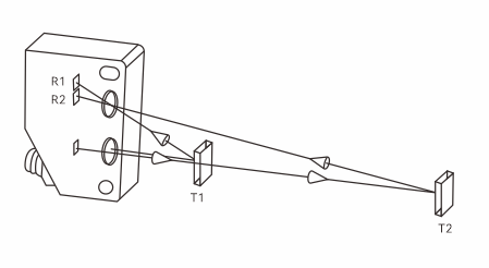
背景抑制漫反射原理使用的基础是三角测量原理。使用这个原理的传感器有两个镜片,一个发射,一个接收,在其检测物体反射回的光的时候,不仅可以检测返回的光的强度,还可以检测返回光的角度。

如图所示: 在光线发射方向上,不同位置处目标物反射的光打到接收镜上的角度是不同的,而接收镜片是个聚焦透镜,会把同一位置反射回来的光聚焦到接收芯片上的某一点,也就是说,芯片上聚焦点的位置其实反映的是被测物位置的信息。
这个时候,芯片会把位置的信息变换为电信号给到处理器。一般情况下,开光量的传感器和测距类的传感器都有用到三角测量原理,不同的是开关量的传感器接收芯片是双PD二极管阵列,而测距类的传感器接收芯片是CCD芯片或者CMOS芯片。
应用场景
多种颜色物料
对于流水线上多颜色的物料,背景抑制光电传感器不易受颜色变化影响,即使是反射光差距最大的黑色、白色物料均能提供几乎相同的检测距离
背景颜色与被测物一样
如果背景跟被检测物料颜色一样,用普通漫反射光电很容易造成误动作,或者检测不到浅色物体,这个时候背景抑制光电传感器,可以屏蔽背景只检测物体,不需要去调整传感器检测距离

检测对象背景复杂
如果被测物背景发生变化(比如人员经过或背景有变动)的情况下,背景抑制光电传感器不会发生误动作

凭借此项发明,明治开发出了针对不同场景用途(检测细小物料的小光斑、检测孔洞物料的宽光斑、条形光斑等)的背景抑制系列产品,以其卓越的背景抑制性能表现,受到了众多用户的一致好评

下一篇:无线传感网是以什么为中心的网络