时间:2022-01-05 14:30
人气:
作者:admin
姿态传感器是基于MEMS技术的高性能三维运动姿态测量系统。它包含三轴陀螺仪、三轴加速度计,三轴电子罗盘等运动传感器,通过内嵌的低功耗ARM处理器得到经过温度补偿的三维姿态与方位等数据。利用基于四元数的三维算法和特殊数据融合技术,实时输出以四元数、欧拉角表示的零漂移三维姿态方位数据。
姿态传感器内部采用高分辨力差分数模转换器,内置自动补偿和滤波算法,最大程度减小了环境变化引起的误差。把静态重力场的变化转换成倾角变化,通过数字方式直接输出当前的横滚角和俯仰角,产品安装方便、使用简单、体积小、抗外界电磁干扰、承受振动冲击能力强。


姿态传感器通过采集传感器的数据,融合卡拉曼滤波,输出实时的姿态数据。由于采用三轴加速度计和三轴磁传感器辅助陀螺以及温度补偿的算法技术,使得该产品实现全姿态优异的稳定性和实时性。该产品不仅能输出姿态数据,还能输出三轴加速度计,三轴陀螺仪以经三轴磁场9轴数据,适用各种应用平台。
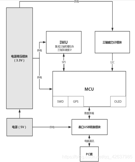
如下图所示为系统硬件总框图:


主要分为电源模块、单片机模块、磁传感模块、加速度传感模块和RS-232接口模块。


实体电路板示意图如上图所示。
如下图所示为系统软件总框架图:


主要可以分为初始化、采集、通信、解析、输出等几个环节,产品配套有成熟的上位机软件可以很简便地直接使用,并且可以根据需求进行功能或界面的修改。
姿态传感器可广泛应用于航模无人机,机器人,天线云台,聚光太阳能,地面及水下设备,虚拟现实,人体运动分析等需要低成本、高动态三维姿态测量的产品设备中。想更多了解这款传感器或者对这个传感器有兴趣的话可以咨询博主。
未经博主允许不准私自转载或抄袭,侵权必究。
下一篇:扫地机器人非接触式水位检测